Каталог запасных частей к технике: Промтрактор Т-40.01К. 4001-15-10CП Фильтр
1
2
3
4
4
5
6
7
7
8
8
9
10
11
12
12
13
14
15
16
17
18
19
19
20
21
22
22
23
24
25
25
26
27
28
28
29
30
31
32
33
34
34
35
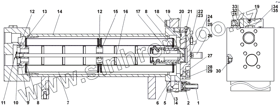
| Позиция на иллюстрации | Заводской номер детали | Название детали | |
|---|---|---|---|
| 4001-15-10-20СП(SP) | 4001-15-10-20СП(SP) | Фильтр | |
| 4001-15-10СП(SP) | 4001-15-10СП(SP) | Фильтр | |
| 1 | А64.23.000СП(SP) | Пробка сливная | |
| 2 | 024-028-25-2-51-1668 | Кольцо 024-028-25-2-51-1668 | |
| 3 | Болт М8-6gx45 | Болт М8-6gx45 | |
| 4 | Шайба 8Т | Шайба 8Т | |
| 5 | 4001-15-102 | Фланец | |
| 6 | 022-026-25-2-51-1668 | Кольцо 022-026-25-2-51-1668 | |
| 7 | ЭФМ 021.1012040 | Элемент фильтрующий ЭФМ 021.1012040 | |
| 7 | ЭФМ 021.1012040Т2 | Элемент фильтрующий ЭФМ 021.1012040Т2 | |
| 8 | 050-060-58-2-51-1668 | Кольцо 050-060-58-2-51-1668 | |
| 9 | 31 0180 | Шайба 10 | |
| 10 | Гайка М10 | Гайка М10 | |
| 11 | Шплинт 2x20 | Шплинт 2x20 | |
| 12 | 060-070-58-2-51-1668 | Кольцо ГОСТ 18829-73/ТУ 38.005.204-84 | |
| 13 | 4001-15-92 | Втулка | |
| 14 | 4001-15-103СП(SP) | Корпус | |
| 15 | 4001-15-87 | Проставка | |
| 16 | 4001-15-86 | Стержень | |
| 17 | 4001-15-106СП(SP) | Клапан | |
| 18 | 4001-15-84 | Крышка | |
| 19 | DG 041-32 | Индикатор загрязненности DG 041-32 | |
| 20 | 007-011-25-2-51-1668 | Кольцо ГОСТ 18829-73/ТУ 38.005.204-84 | |
| 21 | 37 0150-08 | Пробка 4-КГ 1/8"45 ТУ 23.1.506-91 | |
| 22 | 37 5516 | Пробка | |
| 22 | 37 5516-20 | Пробка | |
| 23 | 012-016-25-2-51-1668 | Кольцо 012-016-25-2-51-1668 | |
| 24 | Болт М8-6gx16 | Болт М8-6gx16 | |
| 25 | 31 0150 | Шайба 8 ГОСТ 11371-78 | |
| 25 | 31 0150-20 | Шайба 8.01.08кп.0221 ГОСТ 11371-78 | |
| 26 | 4001-15-96 | Рукоятка | |
| 27 | 135-145-58-2-51-1668 | Кольцо 135-145-58-2-51-1668 | |
| 28 | 28 0535 | Болт М16х1,25-6gх38.109.40Х.019 ГОСТ 7796-70 | |
| 28 | 28 0535-20 | Болт М16х1,25-6gх38.109.40Х.029 ГОСТ 7796-70 | |
| 29 | Шайба 16 ОТ | Шайба 16 ОТ | |
| 30 | 37 0260 | Пробка 3-кг1/4" | |
| 31 | Шайба 4 | Шайба 4 | |
| 32 | 128400000006 | Винт М4x30 DIN 912-8.8 | |
| 33 | Винт В.М4-6gx30 | Винт В.М4-6gx30 | |
| 34 | 37 5331 | Пробка | |
| 34 | 37 5331-20 | Пробка | |
| 35 | 018-022-25-2-51-1668 | Кольцо ГОСТ 9833-73/ТУ 38.005.204-84 |
Содержащиеся в справочниках-каталогах запасные части и детали не предлагаются к продаже, а носят исключительно информационный характер