Вернуться на главную
Поиск
Каталоги запчастей к технике
Спецтехника
Промтрактор
Т-35.01Я
Вентилятор
Каталог запасных частей к технике: Промтрактор Т-35.01Я. Вентилятор
zoom-in
zoom-out
enlarge
shrink
circle-right
circle-left
file-text2
info
cart
Тип техники
Не выбрано
Легковые автомобили
Грузовые автомобили и прицепы
Автобусы
Сельхозтехника
Спецтехника
Двигатели
Мототехника
Марка
Не выбрано
Ammann
BOMAG
CARMIX
CASE IH
Changlin
ChengGong
Dimex
Doosan
DYNAPAC
Foton
HAMM
Hidromek
Hitachi
Hyundai
JCB
JLG
John Deere
Komatsu
LIEBHERR
LiuGong
Lonking (LongGong)
Luneng
MANITOU
Mitsuber
New Holland
PENGPU
RM-Terex
SANY
SDLG
SEM
Shantui
Shehwa HBXG
Soosan
TIGARBO
VOGELE
Volvo
WAY
WIRTGEN
XCMG
XGMA
Xiamen
YTO
Yuchai
Zoomlion
Автокран
АЗСМ
Алтайлесмаш
Амкодор
АОМЗ
Атек
АТЗ
Балканкар Рекорд
БелАЗ
Беловеж
Борекс
Брянский Арсенал
Булат
ВЭКС
ГАЗ
Геомаш
Гидромаш
Донекс
Дормаш
Дормашина
Дорэлектромаш
ДЭЗ
ЕлАЗ
ЗЗГТ
Ижнефтемаш
Канаш-электрокар
КЗКТ
ККЗ
Клевер
Клинцовский автокрановый завод
КМЗ
КМЗ 1 Мая
Ковровец
Коммаш
Кранэкс
КЭЗ
КЭМЗ
ЛЗА
МАЗ
МЗИК
МЗКМ
МЗКТ
Михневский РМЗ
МоАЗ
Мозырский МЗ
МТЗ
ОЗП
Онежец
ПАО "ТЗА"
ППС Детва
Промтрактор
ПТЗ
Раскат
СпецАгрегат
ТВЭКС
ТТМ
УВЗ
Угличмаш
УЗТМ
ХТЗ
ЧЗКМ
ЧСДМ
ЧТЗ
ЭКСКО
ЭКСМАШ
ЮрМаш
Модель
Не выбрано
ПК-12.02 (2007)
ПК-12.02К (2007)
ПК-60.01 (2007)
Т-11.01К (2008)
Т-11.01Я
Т-11.02К (2008)
Т-11.02Я (2008)
Т-15.01К (2007)
Т-15.01Я (2000)
Т-15.02K (2009)
Т-15.02Я (2009)
Т-20.01К
Т-20.01Я (2000)
Т-20.01Я (2005) (2005)
Т-20.02К (Четра) (2009)
Т-20.02Я (Четра) (2009)
Т-25.01К1 (2008)
Т-25.01Я (2006)
Т-330 (2006)
Т-35.01К (2007)
Т-35.01Я
Т-40.01К (2008)
Т-50.01 (1998)
Т-500 (1999)
Т-9.01Я (2007)
ТГ-121Я (2004)
ТГ-221КМ (2006)
ТГ-221Я (2004)
ТГ-301К (2006)
ТГ-301Я (2004)
ТГ-302Я (2010)
ТГ-503К (2006)
ТГ-503Я (2006)
ТГ-511 (2008)
Шасси ТП-20.02 (2008)
Схема
>
Не выбрано
Кабина
Кабина
Кабина
Установка защиты кабины
Сиденье
Установка обогревателя кабины
Установка кондиционера
Установка вентиляторов кабины
Вентилятор
Облицовка
Облицовка
Установка кожухов
Установка двигателя ЯМЗ
Установка системы подогрева
Установка топливного бака
Установка топливного бака
Установка топливного бака
Блок воздухоочистителей
Система охлаждения двигателя и трансмиссии
Система охлаждения двигателя и трансмиссии
Система охлаждения двигателя и трансмиссии
Радиатор ДВС
Установка систем воздухоочистки и выпуска
Установка трансмиссии
Установка трансмиссии
Трансмиссия
Трансмиссия
Гидротрансформатор
Установка редуктора привода насосов
Редуктор привода насосов
Коробка передач с системой гидроуправления
Коробка передач с системой гидроуправления
Коробка передач планетарная
Водило, бустер
Передача карданная
Фрикцион бортовой и тормоз остановочный
Передача бортовая
Рама
Балка
Тележка
Тележка
Колесо натяжное
Каток опорный
Каток поддерживающий
Гусеница
Механизм сдавания
Механизм сдавания
Управление трактором
Управление трактором
Блок управления
Блок управления
Блок управления
Мостики
Электрооборудование
Электрооборудование двигателя
Электрооборудование двигателя
Электрооборудование пола кабины
Электрооборудование пола кабины
Электрооборудование пола кабины
Установка электрооборудования на раме
Электрооборудование передней облицовки
Электрооборудование крыши кабины
Электрооборудование топливного бака
Электрооборудование топливного бака
Блок выключателей
Блок выключателей
Щиток приборов
Установка гидросистемы
Установка гидросистемы
Установка гидросистемы
Установка гидроцилиндров
Установка гидроцилиндров
Бак гидросистемы
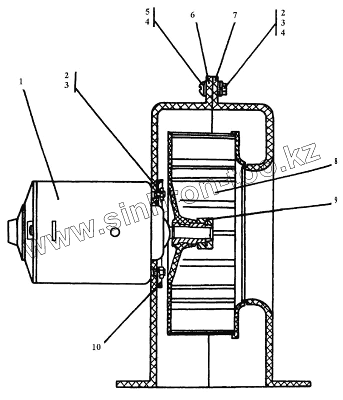
1
1
2
2
3
3
4
4
4
5
6
7
8
9
10
Позиция на иллюстрации
Заводской номер детали
Название детали
2501-57-107-20СП
2501-57-107-20СП
Вентилятор
2501-57-107СП
2501-57-107СП
Вентилятор
1
2501-57-115-20СП
Электродвигатель
1
2501-57-115СП
Электродвигатель
2
Гайка М5-7Н ГОСТ 5927-70
Гайка М5-7Н ГОСТ 5927-70
3
Шайба 5 ГОСТ 6402-70
Шайба 5 ГОСТ 6402-70
4
31 0080
Шайба 5.01.10.019 ГОСТ 11371-78
4
31 0080-20
Шайба 5.01.10.0221 ГОСТ 11371-78
5
Винт ВМ5-6gх16 ГОСТ 17473-80
Винт ВМ5-6gх16 ГОСТ 17473-80
6
2501-57-16
Корпус
7
2501-57-15
Корпус
8
2501-57-106СП
Рабочее колесо
9
2501-57-57
Зажим
10
2501-57-54
Диск
Содержащиеся в справочниках-каталогах запасные части и детали не предлагаются к продаже, а носят исключительно информационный характер
Дополнительная информация
×
Название:
Номер:
Примечание: