Каталог запасных частей к технике: Промтрактор Т-35.01Я. Установка топливного бака
1
2
2
3
3
4
4
5
5
6
7
8
8
9
9
10
10
11
11
11
12
12
13
13
13
13
14
14
15
16
17
17
18
18
19
19
20
20
21
21
22
22
22
23
24
24
24
25
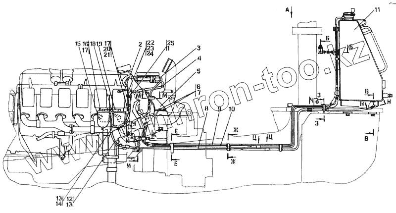
| Позиция на иллюстрации | Заводской номер детали | Название детали | |
|---|---|---|---|
| 3502-25-1СП | 3502-25-1СП | Установка топливного бака | |
| 3 502-25-1-20СП | 3 502-25-1-20СП | Установка топливного бака | |
| 40 0093 | 40 0093 | Втулка | |
| 2501-25-108-20 | 2501-25-108-20 | Втулка | |
| 2501-25-108 | 2501-25-108 | Втулка | |
| 1 | 700-41-2866 | Хомут | |
| 2 | 3502-25-27-20СП | Трубопровод | |
| 2 | 3502-25-27СП | Трубопровод | |
| 3 | 3502-25-26-20СП | Трубопровод | |
| 3 | 3502-25-26СП | Трубопровод | |
| 4 | 3502-25-28-20СП | Трубопровод | |
| 4 | 3502-25-28СП | Трубопровод | |
| 5 | 2502-25-1 | Кронштейн | |
| 5 | 2502-25-1-20 | Кронштейн | |
| 6 | Болт М12-6gх20 ГОСТ 7796-70 | Болт М12-6gх20 ГОСТ 7796-70 | |
| 7 | Шайба 12.ОТ ГОСТ 6402-70 | Шайба 12.ОТ ГОСТ 6402-70 | |
| 8 | 3502-25-22-20СП | Трубопровод | |
| 8 | 3502-25-22СП | Трубопровод | |
| 9 | 3502-25-24-20СП | Трубопровод | |
| 9 | 3502-25-24СП | Трубопровод | |
| 10 | 3502-25-23СП | Трубопровод | |
| 10 | 3502-25-23-20СП | Трубопровод | |
| 11 | 3501-25-5-01СП | Бак топливный | |
| 11 | 3501-25-5-01-10СП | Бак топливный | |
| 11 | 3501-25-5-01-20СП | Бак топливный | |
| 12 | 404-26-213-01СП | Рукав диаметр 12 | |
| 12 | 404-26-213-01-20СП | Рукав диаметр 12 | |
| 13 | Кольцо 012-016-25-2-51-1668 ГОСТ 18829-7 | Кольцо 012-016-25-2-51-1668 ГОСТ 18829-73/ТУ 38.005.204-84 | |
| 13 | 2501-25-38-01СП | Кронштейн | |
| 13 | 2501-25-38-01-20СП | Кронштейн | |
| 14 | 404-26-213-24-20СП | Рукав диаметр 12 | |
| 14 | 404-26-213-24СП | Рукав диаметр 12 | |
| 15 | Фильтр грубой очистки топлива | Фильтр грубой очистки топлива | |
| 16 | Болт М12х1,25-6gх25 ГОСТ 7796-70 | Болт М12х1,25-6gх25 ГОСТ 7796-70 | |
| 17 | Шайба 12 ГОСТ 6402-70 | Шайба 12 ГОСТ 6402-70 | |
| 18 | 3502-25-29-20СП | Трубопровод | |
| 18 | 3502-25-29СП | Трубопровод | |
| 19 | 3502-25-42-20 | Кронштейн | |
| 19 | 3502-25-42 | Кронштейн | |
| 20 | 28 0348 | Болт М12х1,25-6gх35.88.45.019 ГОСТ 7796-70 | |
| 20 | 28 0348-20 | Болт М12х1,25-6gх35.88.45.029 ГОСТ 7796-70 | |
| 21 | 31 0230 | Шайба 12.01.10.019 ГОСТ 6958-78 | |
| 21 | 31 0230-20 | Шайба 12.01.10.0221 ГОСТ 6958-78 | |
| 22 | Болт М8-6gх20 ГОСТ 7796-70 | Болт М8-6gх20 ГОСТ 7796-70 | |
| 22 | 2501-25-33-20СП | Втулка | |
| 22 | 2501-25-33СП | Втулка | |
| 23 | Гайка М8-7Н ГОСТ 9515-70 | Гайка М8-7Н ГОСТ 9515-70 | |
| 24 | 3501-25-53-20СП | Стяжка | |
| 24 | 3501-25-53СП | Стяжка | |
| 24 | Шайба 8Т ГОСТ 6402-70 | Шайба 8Т ГОСТ 6402-70 | |
| 25 | 700-40-6684-05 | Прокладка | |
| 26 | 250 1-25-33-01СП | Втулка | |
| 26 | 2501-25-33-01-20СП | Втулка |
Содержащиеся в справочниках-каталогах запасные части и детали не предлагаются к продаже, а носят исключительно информационный характер