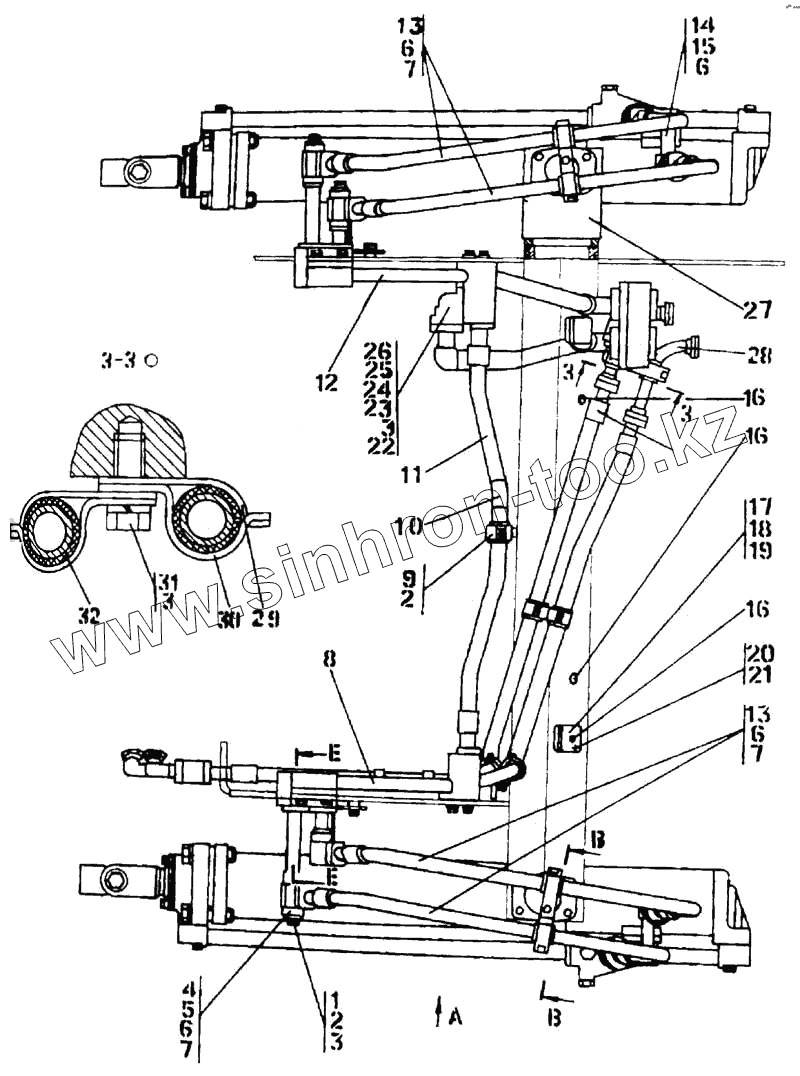
Каталог запасных частей к технике: Промтрактор Т-35.01Я. Установка гидроцилиндров
1
2
2
3
3
3
4
4
5
5
6
6
6
6
7
7
7
8
8
9
10
10
11
11
12
12
13
13
13
14
14
15
15
16
16
16
16
17
18
18
19
19
20
21
22
23
23
24
25
25
26
26
27
27
28
28
29
29
30
30
31
31
32
| Позиция на иллюстрации | Заводской номер детали | Название детали | |
|---|---|---|---|
| 3502-26-10СП | 3502-26-10СП | Установка гидроцилиндров | |
| 3502-26-10-20СП | 3502-26-10-20СП | Установка гидроцилиндров | |
| 1 | 3501-26-185 | Шайба | |
| 2 | Болт М16х1,5-6gх38 ГОСТ 7796-70 | Болт М16х1,5-6gх38 ГОСТ 7796-70 | |
| 3 | Шайба 16 ГОСТ 6402-70 | Шайба 16 ГОСТ 6402-70 | |
| 4 | 2501-26-358 | Коллектор | |
| 4 | 2501-26-358-20 | Коллектор | |
| 5 | 2501-26-359-01 | Переходник | |
| 5 | 2501-26-359-01-20 | Переходник | |
| 6 | 44 0038 | Кольцо защитное | |
| 7 | Кольцо 032-038-36-2-51-1668 ГОСТ 18829-7 | Кольцо 032-038-36-2-51-1668 ГОСТ 18829-73/ТУ 38.005.204-84 | |
| 8 | 2501-26-12-01-20СП | Коллектор | |
| 8 | 2504-26-12-01СП | Коллектор | |
| 9 | 51 5318 | Бонка | |
| 10 | 404-26-118-04-20СП | Рукав диаметр 25 | |
| 10 | 404-26-118-04СП | Рукав диаметр 25 | |
| 11 | 404-26-118-03-20СП | Рукав диаметр 25 | |
| 11 | 404-26-118-03СП | Рукав диаметр 25 | |
| 12 | 3502-26-110-20СП | Коллектор | |
| 12 | 3502-26-110СП | Коллектор | |
| 13 | 404-26-118-11-20СП | Рукав диаметр 25 | |
| 13 | 404-26-118-11СП | Рукав диаметр 25 | |
| 14 | 3501-26-154-20СП | Трубопровод | |
| 14 | 3501-26-154СП | Трубопровод | |
| 15 | 41 5431 | Контргайка | |
| 15 | 41 5431-20 | Контргайка | |
| 16 | 700-41-2151-СП | Масленка | |
| 16 | 700-41-2151-20-СП | Масленка | |
| 17 | 46-26-654 | Стопор | |
| 18 | 46-26-659 | Крышка | |
| 18 | 46-26-659-20 | Крышка | |
| 19 | 700-40-6563 | Прокладка | |
| 19 | 700-40-6563-20 | Прокладка | |
| 20 | Болт М12х1,25-6gх30 ГОСТ 7796-70 | Болт М12х1,25-6gх30 ГОСТ 7796-70 | |
| 21 | Шайба 12 ГОСТ 6402-70 | Шайба 12 ГОСТ 6402-70 | |
| 22 | Кольцо 042-050-46-2-51-1668 ГОСТ 18829-7 | Кольцо 042-050-46-2-51-1668 ГОСТ 18829-73/ТУ 38.005.204-84 | |
| 23 | 28 0725 | Болт М20х1,5-6gх50 ГОСТ 7796-70 | |
| 23 | 28 0725-20 | Болт М20х1,5-6gх50.109.40Х.029 ГОСТ 7796-70 | |
| 24 | 44 0005 | Шайба защитная | |
| 25 | 2501-26-99-20 | Корпус | |
| 25 | 2501-26-99 | Корпус | |
| 26 | 46-26-574 | Упор | |
| 26 | 46-26-574-20 | Упор | |
| 27 | 46-26-491-20-СП | Ось | |
| 27 | 46-26-491СП | Ось | |
| 28 | 3501-26-193-20СП | Трубопровод | |
| 28 | 3501-26-193СП | Трубопровод | |
| 29 | 2501-26-301 | Планка | |
| 29 | 2501-26-301-20 | Планка | |
| 30 | 2501-26-300 | Скоба | |
| 30 | 2501-26-300-20 | Скоба | |
| 31 | 28 0544 | Болт М16х1,5-6gх45.109.40Х.019 ГОСТ 7796-70 | |
| 31 | 28 0544-20 | Болт М16х1,5-6gх45.109.40Х.029 ГОСТ 7796-70 | |
| 32 | 3501-26-260 | Уплотнение |
Содержащиеся в справочниках-каталогах запасные части и детали не предлагаются к продаже, а носят исключительно информационный характер