Каталог запасных частей к технике: Промтрактор Т-35.01Я. Установка гидросистемы
1
1
2
2
2
2
2
2
3
3
3
3
3
4
4
5
5
5
5
5
5
5
6
6
6
6
6
7
7
7
8
8
8
8
8
8
8
8
8
9
9
10
10
11
11
11
11
11
12
12
13
13
14
14
14
14
14
14
14
14
14
15
15
15
16
16
17
17
18
19
20
21
22
23
23
24
24
24
24
25
25
26
27
27
27
28
29
29
29
29
29
30
30
31
33
33
34
35
36
36
37
37
38
38
39
40
40
42
42
43
43
44
44
45
46
46
47
47
47
48
48
49
49
51
51
51
52
52
53
53
54
54
56
56
57
57
57
57
58
58
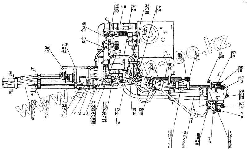
| Позиция на иллюстрации | Заводской номер детали | Название детали | |
|---|---|---|---|
| 3501-26-3-10СП | 3501-26-3-10СП | Установка гидросистемы | |
| 3501-26-3 СП | 3501-26-3 СП | Установка гидросистемы | |
| 3501-26-3-20СП | 3501-26-3-20СП | Установка гидросистемы | |
| 1 | 2501-26-99 | Корпус | |
| 1 | 2501-26-99-20 | Корпус | |
| 2 | 46-26-574 | Упор | |
| 2 | 46-26-574-20 | Упор | |
| 3 | 44 0005 | Шайба защитная | |
| 4 | 28 0570 | Болт М16х1,5-6gх105 ГОСТ 7796-70 | |
| 4 | 28 0570-20 | Болт М16х1,5-6gх105 ГОСТ 7796-70 | |
| 5 | Шайба 16 ГОСТ 6402-70 | Шайба 16 ГОСТ 6402-70 | |
| 6 | Кольцо 042-050-46-2-51-1668 | Кольцо 042-050-46-2-51-1668 | |
| 7 | 404-26-141-20-СП | Трубопровод | |
| 7 | 404-26-141-СП | Трубопровод | |
| 8 | 404-26-149-20-СП | Заглушка | |
| 8 | 404-26-149-СП | Заглушка | |
| 9 | 404-26-142-20-СП | Трубопровод | |
| 9 | 404-26-142-СП | Трубопровод | |
| 10 | 3502-26-108-03-20СП | Рукав диаметр 32 | |
| 10 | 3502-26-108-03СП | Рукав диаметр 32 | |
| 11 | 46-26-280 | Фланец | |
| 11 | 46-26-280-20 | Фланец | |
| 12 | 3501-26-188-20СП | Рукав диаметр 32 | |
| 12 | 3501-26-188СП | Рукав диаметр 32 | |
| 13 | 404-26-213-15-20СП | Рукав диаметр 12 | |
| 13 | 404-26-213-15СП | Рукав диаметр 12 | |
| 14 | Кольцо 012-016-25-2-51-1668 ГОСТ 18829-7 | Кольцо 012-016-25-2-51-1668 ГОСТ 18829-73/ТУ 38.005.204-84 | |
| 15 | 404-26-213-12-20СП | Рукав диаметр 12 | |
| 15 | 404-26-213-12СП | Рукав диаметр 12 | |
| 16 | 404-26-213-16-20СП | Рукав диаметр 12 | |
| 16 | 404-26-213-16СП | Рукав диаметр 12 | |
| 17 | 404-26-160-20-СП | Трубопровод | |
| 17 | 404-26-160-СП | Трубопровод | |
| 18 | 700-40-6684-04 | Прокладка | |
| 19 | 700-41-2548 | Хомутик | |
| 20 | М8-6gх16 ГОСТ 7796-70 | Болт | |
| 21 | М8 ГОСТ 5915-70 | Гайка | |
| 22 | Шайба 8Т ГОСТ 6402-70 | Шайба 8Т ГОСТ 6402-70 | |
| 23 | 3501-26-163-20СП | Трубопровод | |
| 23 | 3501-26-163СП | Трубопровод | |
| 24 | 5001-26-77 | Угольник ввертной | |
| 24 | 5001-26-77-20 | Угольник ввертной | |
| 25 | 28 0389 | Болт ЗМ12х1,25-6gх100 ГОСТ 7796-70 | |
| 25 | 28 0389-20 | Болт ЗМ12х1,25-6gх100 ГОСТ 7796-70 | |
| 26 | Шайба 12 ГОСТ 6402-70 | Шайба 12 ГОСТ 6402-70 | |
| 27 | Кольцо 018-022-25-2-51-1668 ГОСТ 18829-7 | Кольцо 018-022-25-2-51-1668 ГОСТ 18829-73/ТУ 38.005.204-84 | |
| 28 | Кольцо 050-060-58-2-51-1668 | Кольцо 050-060-58-2-51-1668 | |
| 29 | Н.036.23.022-01 | Контргайка | |
| 29 | Н.036.23.022 | Контргайка | |
| 30 | 3501-26-190СП | Трубопровод | |
| 30 | 3501-26-190-20СП | Трубопровод | |
| 31 | 46 1901-05 | Рукав | |
| 33 | 46-26-144-01СП | Трубопровод | |
| 33 | 46-26-144-01-20СП | Трубопровод | |
| 34 | Болт М16-6gх45 ГОСТ 7796-70 | Болт М16-6gх45 ГОСТ 7796-70 | |
| 35 | Кольцо 092-105-75-2-ИРП1314-1 | Кольцо 092-105-75-2-ИРП1314-1 | |
| 36 | 3501-26-173-03СП | Рукав диаметр 32 | |
| 36 | 3501-26-173-03-20СП | Рукав диаметр 32 | |
| 37 | 3501-26-173-01СП | Рукав диаметр 32 | |
| 37 | 3501-26-173-01-20СП | Рукав диаметр 32 | |
| 38 | 3501-26-136-20 | Трубопровод | |
| 38 | 3501-26-136СП | Трубопровод | |
| 39 | Кольцо 014-018-25-2-51-1668 ГОСТ 18829-7 | Кольцо 014-018-25-2-51-1668 ГОСТ 18829-73/ТУ 38.005.204-84 | |
| 40 | 404-26-173-20-СП | Трубопровод | |
| 40 | 404-26-173-СП | Трубопровод | |
| 42 | 46 0901-03 | Рукав | |
| 42 | 46 0901-03-20 | Рукав | |
| 43 | 404-26-213-20СП | Рукав диаметр 12 | |
| 43 | 404-26-213СП | Рукав диаметр 12 | |
| 44 | 3501-26-64СП | Распределитель | |
| 44 | 3501-26-64-20СП | Распределитель | |
| 45 | Болт М16х1,5-6gх35 ГОСТ 7796-70 | Болт М16х1,5-6gх35 ГОСТ 7796-70 | |
| 46 | 3501-26-162-20СП | Трубопровод | |
| 46 | 3501-26-162СП | Трубопровод | |
| 47 | 37 5245 | Пробка | |
| 47 | 37 5245-20 | Пробка | |
| 48 | Кольцо 007-011-25-2-51-1668 ГОСТ 18829-7 | Кольцо 007-011-25-2-51-1668 ГОСТ 18829-73/ТУ 38 005 204-84 | |
| 49 | 3501-26-123-20СП | Трубопровод | |
| 49 | 3501-26-123СП | Трубопровод | |
| 51 | 404-26-213-05-20СП | Рукав диаметр 12 | |
| 51 | 404-26-213-05СП | Рукав диаметр 12 | |
| 52 | 2501-26-366 | Угольник | |
| 52 | 2501-26-366-20 | Угольник | |
| 53 | 3501-26-243 | Заглушка | |
| 53 | 3501-26-243-20 | Заглушка | |
| 54 | Н. 036.01.002 | Гайка накидная | |
| 54 | Н.036.01.002-01 | Гайка накидная | |
| 56 | 3501-26-192-20СП | Трубопровод | |
| 56 | 3501-26-192СП | Трубопровод | |
| 57 | 404-26-140-20-СП | Трубопровод | |
| 57 | 404-26-140-СП | Трубопровод | |
| 58 | 3501-26-192-01-20СП | Трубопровод | |
| 58 | 3501-26-192-01СП | Трубопровод |
Содержащиеся в справочниках-каталогах запасные части и детали не предлагаются к продаже, а носят исключительно информационный характер