Каталог запасных частей к технике: Промтрактор Т-35.01Я. Установка двигателя ЯМЗ
1
2
2
3
3
4
4
5
5
6
6
7
7
8
9
9
10
10
11
11
12
12
13
14
14
15
16
16
17
17
| Позиция на иллюстрации | Заводской номер детали | Название детали | |
|---|---|---|---|
| 403-01-3-01СП | 403-01-3-01СП | Установка двигателя ЯМЗ | |
| 403-01-3-01-20СП | 403-01-3-01-20СП | Установка двигателя ЯМЗ | |
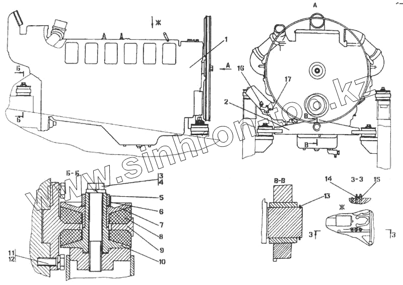
| 1 | ТЭ850. 1000400-01 | Двигатель с обору дованием | |
| 2 | 403-01-102-20СП | Опора | |
| 2 | 403-01-102СП | Опора | |
| 3 | 28 0890 | Болт М24х2.6gх160.88.40Х.019 ГОСТ 7795-70 | |
| 3 | 28 0890-20 | Болт М24х2-6gх 160 ГОСТ 7795-70 | |
| 4 | Шайба 24Т ГОСТ 6402-70 | Шайба 24Т ГОСТ 6402-70 | |
| 4 | Шайба 24Т ГОСТ 6402-70 | Шайба 24Т ГОСТ 6402-70 | |
| 5 | 30 5485 | Гайка | |
| 5 | 30 5485-20 | Гайка | |
| 6 | 700-31-2528 | Шайба | |
| 6 | 700-31-2528-20 | Шайба | |
| 7 | 2501-20-26 | Прижим | |
| 7 | 2501-20-26-20 | Прижим | |
| 8 | 40 0224 | Амортизатор | |
| 9 | 2501-20-24 | Опора | |
| 9 | 2501-20-24-20 | Опора | |
| 10 | 2501-20-25 | Упор | |
| 10 | 2501-20-25-20 | Упор | |
| 11 | 28 0544-20 | Болт М16х1,5-6gх45.109.40Х.029 ГОСТ 7796-70 | |
| 11 | 28 0544 | Болт М16х1,5-6gх45.109.40Х.019 ГОСТ 7796-70 | |
| 12 | Шайба 16 ГОСТ 6402-70 | Шайба 16 ГОСТ 6402-70 | |
| 12 | Шайба 16 ГОСТ 6402-70 | Шайба 16 ГОСТ 6402-70 | |
| 13 | 580609 | Кольцо С60 ГОСТ 13940-86 | |
| 14 | Датчик указателя температуры ТМ-100В ТУ | Датчик указателя температуры ТМ-100В ТУ 37.003.800-77 | |
| 14 | Датчик указателя температуры ТМ-100ВТ ТУ | Датчик указателя температуры ТМ-100ВТ ТУ 37. 003. 800-77 | |
| 15 | Датчик сигнализатора температуры ТМ111-0 | Датчик сигнализатора температуры ТМ111-01 ТУ.37.003-569-90 | |
| 16 | Датчик указателя давления масла ММ355 ТУ | Датчик указателя давления масла ММ355 ТУ 37.003.387-78 | |
| 16 | ММ355-Т | Датчик указателя давления масла ТУ 37.003.387-78 | |
| 17 | ММ111В | Датчик аварийного давления масла ТУ 37.003.138-76 | |
| 17 | Датчик аварийного давления масла ММ111В- | Датчик аварийного давления масла ММ111В-Т ТУ.37.003.138-76 |
Содержащиеся в справочниках-каталогах запасные части и детали не предлагаются к продаже, а носят исключительно информационный характер