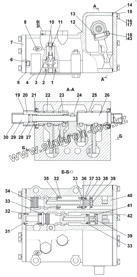
Каталог запасных частей к технике: Промтрактор Т-35.01К. 1501-15-41СП Блок управления
1501-15-41-20СП(SP)
1501-15-41СП(SP)
1
2
3
3
4
5
5
6
6
7
8
9
9
10
11
12
12
13
14
14
15
16
17
18
19
20
21
22
23
24
25
26
27
28
29
30
31
32
32
33
33
33
33
34
35
36
37
38
39
39
40
41
42
43
| Позиция на иллюстрации | Заводской номер детали | Название детали | |
|---|---|---|---|
| 1501-15-41-20СП(SP) | 1501-15-41-20СП(SP) | Блок управления | |
| 1501-15-41СП(SP) | 1501-15-41СП(SP) | Блок управления | |
| 1 | 024-028-25-2-51-1668 | Кольцо 024-028-25-2-51-1668 | |
| 2 | 1501-15-72 | Корпус | |
| 3 | 018-022-25-2-51-1668 | Кольцо ГОСТ 9833-73/ТУ 38.005.204-84 | |
| 4 | 2501-15-151 | Заглушка | |
| 5 | 45 0299 | Прокладка | |
| 5 | 45 0299-20 | Прокладка | |
| 6 | 700-37-2182-01 | Пробка | |
| 6 | 700-37-2182-01-20 | Пробка | |
| 7 | 1501-15-60 | Крышка | |
| 8 | 37 0260 | Пробка 3-кг1/4" | |
| 9 | 37 5331 | Пробка | |
| 9 | 37 5331-20 | Пробка | |
| 10 | 38 5050-05-01 | Пружина | |
| 11 | 1501-15-46 | Клапан | |
| 12 | 1501-15-49 | Корпус | |
| 12 | 1501-15-49-20 | Корпус | |
| 13 | 312501-91-157 | Клин | |
| 14 | 45 0298 | Прокладка | |
| 14 | 45 0298-20 | Прокладка | |
| 15 | 1501-15-61 | Крышка | |
| 16 | Болт М8-6gx25 | Болт М8-6gx25 | |
| 17 | Шайба 8Т | Шайба 8Т | |
| 18 | Гайка М8 | Гайка М8 | |
| 19 | 2501-15-152 | Труба | |
| 20 | 1501-15-57 | Валик | |
| 21 | 2.2-30x52-3 | Манжета 2.2-30x52-3 | |
| 22 | 1501-15-59 | Рычаг | |
| 23 | 1501-15-37 | Рычаг | |
| 24 | 1501-15-36 | Рычаг | |
| 25 | 941/30 | Подшипник 941/30 | |
| 26 | 1501-15-56 | Валик | |
| 27 | 941/15 | Подшипник 941/15 | |
| 28 | 016-020-25-2-51-1668 | Кольцо ГОСТ 9833-73/ГОСТ 18829-73 | |
| 29 | 1501-15-55 | Валик | |
| 30 | 2501-15-152-01 | Труба | |
| 31 | 1501-15-51 | Золотник | |
| 32 | 38 5581-01 | Пружина | |
| 33 | 47-59-205 | Кольцо | |
| 34 | 1501-15-50 | Золотник | |
| 35 | 1501-15-64 | Кольцо | |
| 36 | 1501-15-68 | Упор | |
| 37 | 1501-15-69 | Кольцо | |
| 38 | 38 5391-01 | Пружина | |
| 39 | 1501-15-52 | Плунжер | |
| 40 | 1501-15-53 | Толкатель | |
| 41 | 38 5579-01 | Пружина | |
| 42 | 1501-15-54 | Толкатель | |
| 43 | 2501-15-226 | Прокладка |
Содержащиеся в справочниках-каталогах запасные части и детали не предлагаются к продаже, а носят исключительно информационный характер