Каталог запасных частей к технике: Промтрактор Т-330. Подогреватель двигателя
1
2
3
3
4
5
5
6
7
8
9
10
11
12
12
13
14
14
15
16
16
17
17
18
19
20
21
21
22
23
23
24
25
26
27
28
29
30
31
32
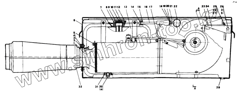
| Позиция на иллюстрации | Заводской номер детали | Название детали | |
|---|---|---|---|
| 46-43-163-10-СП | 46-43-163-10-СП | Крышка | |
| 46-43-169-СП | 46-43-169-СП | Крышка | |
| 46-43-200-СП | 46-43-200-СП | Подогреватель двигателя | |
| 46-43-200-10-СП | 46-43-200-10-СП | Подогреватель двигателя | |
| 1 | 46-43-107-СП | Смеситель | |
| 2 | 700-40-6684-06 | Прокладка | |
| 3 | Шайба 8Т.65Г.019 ГОСТ 6402-70 | Шайба 8Т.65Г.019 ГОСТ 6402-70 | |
| 4 | Болт Мб-6gх.58.019 ГОСТ 7796-70 | Болт Мб-6gх.58.019 ГОСТ 7796-70 | |
| 5 | 31 0150 | Шайба 8 ГОСТ 11371-78 | |
| 6 | 46-43-204-СП | Корпус | |
| 7 | 46-12-93 | Звено цепочки | |
| 8 | 700-40-5706 | Прокладка | |
| 9 | 46-43-133 | Крышка | |
| 10 | 46-43-134 | Элемент фильтрующий | |
| 11 | 46-43-194СП | Фильтр | |
| 12 | 46-43-135 | Кольцо | |
| 12 | 46-43-135-10 | Кольцо | |
| 13 | 46-43-205-СП | Бачок | |
| 14 | Кольцо 12х16 | Кольцо 12х16 | |
| 15 | 700-40-2622 | Болт зажимной | |
| 16 | 46-43-270-10-СП | Кран | |
| 16 | 46-43-270-СП | Кран | |
| 17 | 46-43-268-10-СП | Трубка | |
| 17 | 46-43-268-СП | Трубка | |
| 18 | Кольцо 16х22 | Кольцо 16х22 | |
| 19 | Кольцо 007-011-25-2-3 ГОСТ 9833-73 | Кольцо 007-011-25-2-3 ГОСТ 9833-73 | |
| 20 | 700-41-3074 | Штуцер | |
| 21 | 46-43-51 | Игла | |
| 21 | 46-43-51-10 | Игла | |
| 22 | 46-43-105-10 | Кольцо | |
| 23 | 46-43-263-СП | Щиток управления | |
| 23 | 46-43-263-10-СП | Щиток управления | |
| 24 | 46-43-207-СП | Кронштейн | |
| 25 | Винт В .М6-6gх16.58.019 ГОСТ 17473-80 | Винт В .М6-6gх16.58.019 ГОСТ 17473-80 | |
| 26 | Шайба 6Т.65Г.019 ГОСТ 6402-70 | Шайба 6Т.65Г.019 ГОСТ 6402-70 | |
| 27 | 31 0110 | Шайба 6.01.08кп.019 ГОСТ 11371-78 | |
| 28 | Болт МВ-6gх16.88.35. 019 ГОСТ 7796-70 | Болт МВ-6gх16.88.35. 019 ГОСТ 7796-70 | |
| 29 | 700-40-6695 | Кольцо | |
| 30 | 700-37-2077 | Пробка | |
| 31 | 700-40-5284 | Прокладка | |
| 32 | 46-43-168-СП | Эжектор |
Содержащиеся в справочниках-каталогах запасные части и детали не предлагаются к продаже, а носят исключительно информационный характер