Каталог запасных частей к технике: Промтрактор Т-330. Передача карданная
1
2
2
2
3
4
4
5
6
6
7
8
9
9
10
11
12
12
13
14
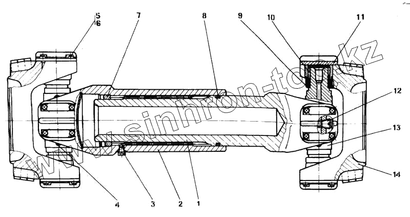
| Позиция на иллюстрации | Заводской номер детали | Название детали | |
|---|---|---|---|
| 46-49-111-20-СП | 46-49-111-20-СП | Передача карданная | |
| 46-49-111-СП | 46-49-111-СП | Передача карданная | |
| 46-49-111-10-СП | 46-49-111-10-СП | Передача карданная | |
| 1 | 46-49-17 | Муфта | |
| 2 | 46-49-133-10-СП | Муфта | |
| 2 | 46-49-133-20-СП | Муфта | |
| 2 | 46-49-133-СП | Муфта | |
| 3 | 370140-06 | Пробка КГ 1/8" 20.089 | |
| 4 | 700-41-2151-СП | Масленка | |
| 4 | 700-41-2151-20-СП | Масленка | |
| 5 | 700-31-2545 | Пластина стопорная | |
| 6 | Болт М12х1,25-6gх25. 88. 35.029 ГОСТ 779 | Болт М12х1,25-6gх25. 88. 35.029 ГОСТ 7796-70 | |
| 6 | Болт М12х1,25-6gх25.88. 35.019 ГОСТ 7796 | Болт М12х1,25-6gх25.88. 35.019 ГОСТ 7796-70 | |
| 7 | 25-49-7 | Кольцо | |
| 8 | Кольцо 080-090-58-2-3 ГОСТ 9833-73/ ГОСТ | Кольцо 080-090-58-2-3 ГОСТ 9833-73/ ГОСТ 18829-73 | |
| 9 | 131-2205042-Б | Уплотнение | |
| 9 | 700-40-6934-СП | Уплотнение | |
| 10 | 804707К3С10 | Подшипник | |
| 11 | 46-49-33 | Крышка | |
| 12 | 700-37-2171 | Пробка 3КГ 3/8".45.019 ТУ 23.1.506-91 | |
| 12 | 700-37-2171-20 | Пробка 3-КГ3/8"45.029 ТУ 23.1.506-91 | |
| 13 | 25-49-46 | Крестовина | |
| 14 | 25-49-62 | Фланец |
Содержащиеся в справочниках-каталогах запасные части и детали не предлагаются к продаже, а носят исключительно информационный характер