Каталог запасных частей к технике: Промтрактор Т-330. Фрикцион
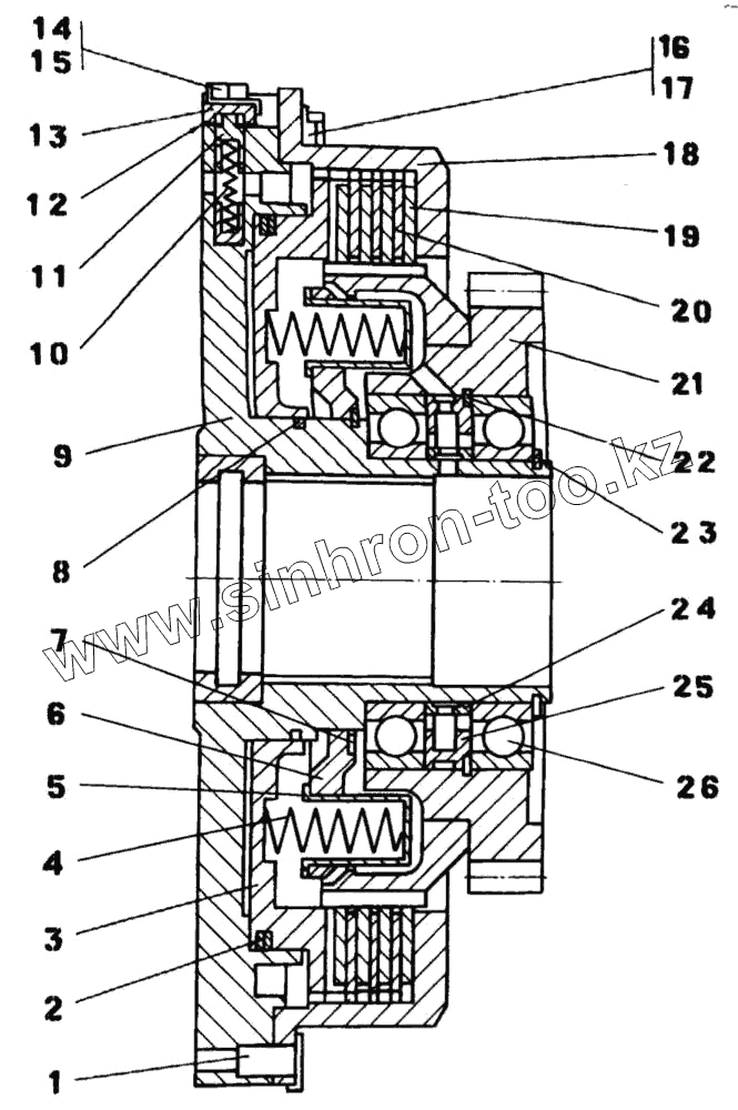
1
2
3
4
5
6
7
8
9
10
11
12
12
13
14
15
16
17
18
19
20
21
22
23
24
25
26
26
| Позиция на иллюстрации | Заводской номер детали | Название детали | |
|---|---|---|---|
| 46-12-160-СП | 46-12-160-СП | Фрикцион | |
| 46-12-160-20-СП | 46-12-160-20-СП | Фрикцион | |
| 1 | 325410 | Штифт | |
| 2 | 47-12-18 | Кольцо уплотнительное | |
| 3 | 25-12-268 | Поршень | |
| 4 | 700-38-2547-01 | Пружина | |
| 5 | 25-12-267 | Стакан | |
| 6 | 46-12-202 | Тарелка | |
| 7 | 46-12-201 | Кольцо | |
| 8 | 46-12-215 | Кольцо уплотнительное | |
| 9 | 46-12-119-СП | Ступица | |
| 10 | 700-38-2556 | Пружина | |
| 11 | 47-12-56 | Клапан | |
| 12 | 700-40-6541 | Прокладка | |
| 12 | 700-40-6541-20 | Прокладка | |
| 13 | 46-12-138 | Крышка | |
| 14 | Болт М12х1,25-6gх25. 88. 35.019 ГОСТ 779 | Болт М12х1,25-6gх25. 88. 35.019 ГОСТ 7796-70 | |
| 15 | 700-31-2526 | Шайба стопорная | |
| 16 | 700-28-2436 | Болт | |
| 17 | 700-31-2354 | Пластина стопорная | |
| 18 | 25-12-250 | Барабан | |
| 19 | 25-12-173-СП | Диск | |
| 20 | 25-12-266 | Диск | |
| 21 | 46-12-171-СП | Шестерня | |
| 22 | 700-58-2064 | Кольцо С170 ГОСТ 13941-86 | |
| 23 | 580805 | Кольцо С110 ГОСТ 13940-86 | |
| 24 | 25-12-245 | Втулка | |
| 25 | 46-12-150 | Втулка | |
| 26 | 75-122Г ГОСТ 8338-75 | Подшипник | |
| 26 | Подшипник 76-122Г ГОСТ 8338-75 | Подшипник 76-122Г ГОСТ 8338-75 |
Содержащиеся в справочниках-каталогах запасные части и детали не предлагаются к продаже, а носят исключительно информационный характер