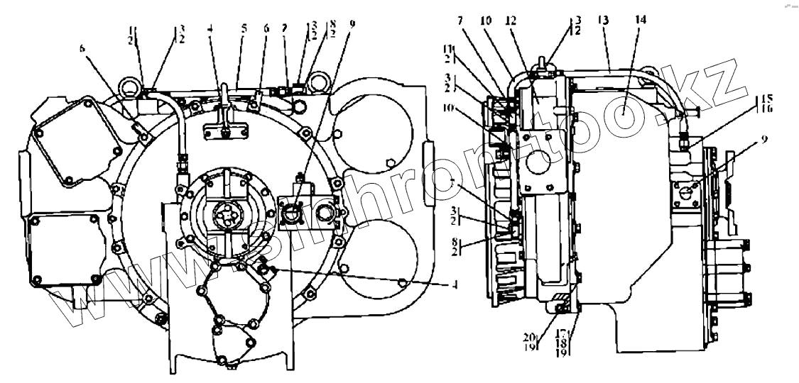
Каталог запасных частей к технике: Промтрактор Т-25.01Я. Установка редуктора привода насосов
1
2
2
2
2
2
2
2
2
2
3
3
3
3
3
3
4
4
5
5
6
6
6
7
7
7
7
8
8
9
9
10
10
10
11
12
12
13
13
14
14
15
16
17
18
18
19
19
20
| Позиция на иллюстрации | Заводской номер детали | Название детали | |
|---|---|---|---|
| 2502-20-4-20СП | 2502-20-4-20СП | Установка редуктора привода насосов | |
| 2502-20-4СП | 2502-20-4СП | Установка редуктора привода насосов | |
| 1 | 2501-20-57 | Угольник | |
| 2 | Кольцо 018-022-25-51-1668 ГОСТ 18829-73/ | Кольцо 018-022-25-51-1668 ГОСТ 18829-73/ТУ 38.005.204-84 | |
| 3 | 2501-20-8 | Болт зажимной | |
| 3 | 2501-20-8-20 | Болт зажимной | |
| 4 | 440093 | Пробка | |
| 5 | 2501-20-113-01СП | Рукав | |
| 5 | 2501-20-113-01-20СП | Рукав | |
| 6 | 401-10-1 | Угольник | |
| 6 | 401-10-1-20 | Угольник | |
| 7 | 2501-20-59 | Штуцер | |
| 7 | 2501-20-59-20 | Штуцер | |
| 8 | 2501-20-58 | Угольник | |
| 9 | 440006 | Пробка | |
| 10 | 2501-20-113СП | Рукав | |
| 10 | 2501-20-113-20СП | Рукав | |
| 11 | 2501-20-58-01 | Угольник | |
| 12 | 2502-20-12СП | Редуктор привода насосов | |
| 12 | 2502-20-12-20СП | Редуктор привода насосов | |
| 13 | 2501-20-113-02СП | Рукав | |
| 13 | 2501-20-113-02-20СП | Рукав | |
| 14 | 2501-14-11СП | Гидротрансформатор | |
| 14 | 2501-14-11-20СП | Гидротрансформатор | |
| 15 | 46-18-65 | Штуцер | |
| 16 | Кольцо 12х16 ГОСТ 4152-62 | Кольцо 12х16 ГОСТ 4152-62 | |
| 17 | Болт М16х1,5х60 ГОСТ 7795-70 | Болт М16х1,5х60 ГОСТ 7795-70 | |
| 18 | 305250 | Гайка М16х1,5 ГОСТ 5915-70 | |
| 18 | 305250-20 | Гайка М16х1,5 ГОСТ 5915-70 | |
| 19 | Шайба 16.ОТ.65Г ГОСТ 6402-70 | Шайба 16.ОТ.65Г ГОСТ 6402-70 | |
| 20 | Болт М16х45 ГОСТ 7796-70 | Болт М16х45 ГОСТ 7796-70 |
Содержащиеся в справочниках-каталогах запасные части и детали не предлагаются к продаже, а носят исключительно информационный характер