Каталог запасных частей к технике: Промтрактор Т-25.01Я. Установка гидроцилиндров (2)
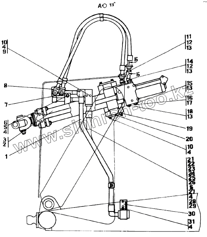
1
1
2
2
3
3
4
4
4
4
4
5
5
5
6
6
7
7
8
8
9
9
10
10
10
11
11
12
12
12
13
13
13
13
14
14
15
15
16
16
17
18
18
19
19
20
20
21
21
22
22
23
23
24
24
25
26
27
28
29
29
30
30
31
31
| Позиция на иллюстрации | Заводской номер детали | Название детали | |
|---|---|---|---|
| 1 | 3502-26-107-20СП | Рукав диаметр 32 | |
| 1 | 3502-26-107СП | Рукав диаметр 32 | |
| 2 | 2501-26-1000-20СП | Гидроцилиндр диаметр 140 | |
| 2 | 2501-26-1000СП | Гидроцилиндр диаметр 140 | |
| 3 | Гидроцилиндр Ц140ґ1250-33Т ОСТ 23.1.97-8 | Гидроцилиндр Ц140ґ1250-33Т ОСТ 23.1.97-88 | |
| 3 | Гидроцилиндр Ц140ґ1250-33ХЛ ОСТ 23.1.97- | Гидроцилиндр Ц140ґ1250-33ХЛ ОСТ 23.1.97-88 | |
| 4 | Шайба 16.ОТ ГОСТ 6402-70 | Шайба 16.ОТ ГОСТ 6402-70 | |
| 5 | 280520 | Болт М16х1,5-6gх30.109.40Х019 ГОСТ 7796-70 | |
| 5 | 280520-20 | Болт М16х1,5-6gх30.109.40Х.029 ГОСТ 7796-70 | |
| 6 | 700-31-2209 | Шайба ГОСТ 11371-78 | |
| 6 | 700-31-2209-20 | Шайба ГОСТ 11371-78 | |
| 7 | 2501-26-270 | Серьга | |
| 7 | 2501-26-270-20 | Серьга | |
| 8 | 280570-20 | Болт М16х1,5-6gх105.88.40Х029 ГОСТ 7795-70 | |
| 8 | 280570 | Болт М16х1,5-6gх105.88.40Х019 ГОСТ 7795-70 | |
| 9 | 310270 | Шайба 16.01.20.019 ГОСТ 11371-78 | |
| 9 | 310270-20 | Шайба 16.01.20.0221 ГОСТ 11371-78 | |
| 10 | 280544 | Болт М16х1,5-6gх45.109.40Х019 ГОСТ 7796-70 | |
| 10 | 280544-20 | Болт М16х1,5-6gх45.109.40Х029 ГОСТ 7796-70 | |
| 11 | 3501-26-152СП | Переходник | |
| 11 | 3501-26-152-20СП | Переходник | |
| 12 | 415431 | Контргайка | |
| 12 | 415431-20 | Контргайка | |
| 13 | Кольцо 032-038-36-2-51-1668 ГОСТ 18829-7 | Кольцо 032-038-36-2-51-1668 ГОСТ 18829-73/ТУ 38.005.204-84 | |
| 14 | 3501-26-153СП | Трубопровод | |
| 14 | 3501-26-153-20СП | Трубопровод | |
| 15 | 375240-20 | Пробка | |
| 15 | 375240 | Пробка | |
| 16 | 375245 | Пробка | |
| 16 | 375245-20 | Пробка | |
| 17 | Кольцо 007-011-25-2-51-1668 ГОСТ 18829-7 | Кольцо 007-011-25-2-51-1668 ГОСТ 18829-73/ТУ 38 005 204-84 | |
| 18 | 18-26-560 | Пробка | |
| 18 | 18-26-560-20 | Пробка | |
| 19 | 46-26-548-СП | Крышка | |
| 19 | 46-26-548-20-СП | Крышка | |
| 20 | 700-41-2151-СП | Масленка | |
| 20 | 700-41-2151-20-СП | Масленка | |
| 21 | 3502-26-108-11СП | Рукав диаметр 32 | |
| 21 | 3502-26-108-11-20СП | Рукав диаметр 32 | |
| 22 | 2501-26-220 | Скоба | |
| 22 | 2501-26-220-20 | Скоба | |
| 23 | 2501-26-221 | Планка | |
| 23 | 2501-26-221-20 | Планка | |
| 24 | 46-26-574 | Упор | |
| 24 | 46-26-574-20 | Упор | |
| 25 | 400354-04 | Втулка | |
| 26 | 440005 | Шайба защитная | |
| 27 | Гайка М16х1,5 ГОСТ 5915-70 | Гайка М16х1,5 ГОСТ 5915-70 | |
| 28 | Кольцо 042-050-46-2-51-1668 ГОСТ 18829-7 | Кольцо 042-050-46-2-51-1668 ГОСТ 18829-73/ТУ 38.005.204-84 | |
| 29 | 46-26-280 | Фланец | |
| 29 | 46-26-280-20 | Фланец | |
| 30 | 2504-26-14СП | Кронштейн | |
| 30 | 2504-26-14-20СП | Кронштейн | |
| 31 | 280535 | Болт М16х1,5-6gх38.109.40Х.019 ГОСТ 7796-70 | |
| 31 | 280535-20 | Болт М16х1,5-6gх38.109.40Х.029 ГОСТ 7796-70 |
Содержащиеся в справочниках-каталогах запасные части и детали не предлагаются к продаже, а носят исключительно информационный характер