Каталог запасных частей к технике: Промтрактор Т-25.01Я. Система отопления и вентиляции кабины
1
2
2
3
3
3
3
4
4
4
4
5
6
7
7
8
9
10
11
12
13
14
15
16
17
18
19
20
21
22
23
24
25
26
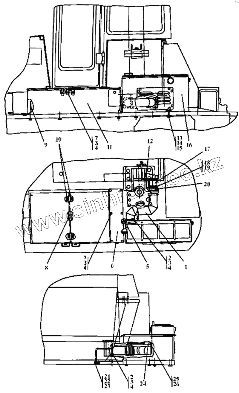
| Позиция на иллюстрации | Заводской номер детали | Название детали | |
|---|---|---|---|
| 2502-53-1-20СП | 2502-53-1-20СП | Система отопления и вентиляции кабины | |
| 2502-53-1СП | 2502-53-1СП | Система отопления и вентиляции кабины | |
| 1 | 2502-53-51СП | Воздуховод | |
| 2 | Болт М8х20 ГОСТ 7796-70 | Болт М8х20 ГОСТ 7796-70 | |
| 3 | Шайба 8Т.65Г ГОСТ 6402-70 | Шайба 8Т.65Г ГОСТ 6402-70 | |
| 4 | 310150 | Шайба 8.01.08кп.019 ГОСТ 11371-78 | |
| 5 | 312505-53-308 | Прокладка | |
| 6 | 312505-53-307 | Крышка | |
| 7 | Болт М8х16 ГОСТ 7796-70 | Болт М8х16 ГОСТ 7796-70 | |
| 8 | 312505-53-79СП | Стяжка | |
| 9 | 46-10-113 | Стержень | |
| 10 | 400085 | Опора | |
| 11 | 312505-53-14-01СП | Контейнер | |
| 12 | 2502-53-53СП | Топливопровод | |
| 13 | 281379 | Болт М12х1,25-6gх65.58.019 ГОСТ 7795-70 | |
| 14 | Шайба 12ОТ.65Г ГОСТ 6402-70 | Шайба 12ОТ.65Г ГОСТ 6402-70 | |
| 15 | 310210 | Шайба 12х2.01.10.019 ГОСТ 11371-78 | |
| 16 | 312505-53-12СП | Блок отопительный | |
| 17 | 2502-53-50СП | Патрубок | |
| 18 | 415190-18СП | Хомут | |
| 19 | Хомут стяжной червячный 1115-2-У-01 ПО4. | Хомут стяжной червячный 1115-2-У-01 ПО4.435.141ТУ | |
| 20 | 400293 | Патрубок | |
| 21 | 46-43-313 | Прокладка | |
| 22 | 415125 | Болт | |
| 23 | Проволока КС-2,0 ГОСТ 792-67 | Проволока КС-2,0 ГОСТ 792-67 | |
| 24 | 460501 | Рукав | |
| 25 | 415190СП | Хомут | |
| 26 | Хомут стяжной червячный 11018-У-01 ПО4.4 | Хомут стяжной червячный 11018-У-01 ПО4.435.141ТУ |
Содержащиеся в справочниках-каталогах запасные части и детали не предлагаются к продаже, а носят исключительно информационный характер