Каталог запасных частей к технике: Промтрактор Т-25.01Я. Редуктор привода насосов
1
1
2
2
2
3
3
3
3
3
3
4
4
4
5
5
5
5
5
6
6
7
7
8
8
8
9
9
9
9
9
9
10
10
10
10
10
10
11
11
12
12
12
13
13
14
14
14
15
15
16
17
17
18
19
19
20
21
22
23
24
25
26
27
27
27
28
28
29
29
29
29
29
30
30
30
31
31
32
32
33
33
33
34
34
35
35
35
36
36
37
37
38
39
40
41
42
43
44
45
46
47
47
48
48
49
49
50
50
50
51
51
52
52
52
53
54
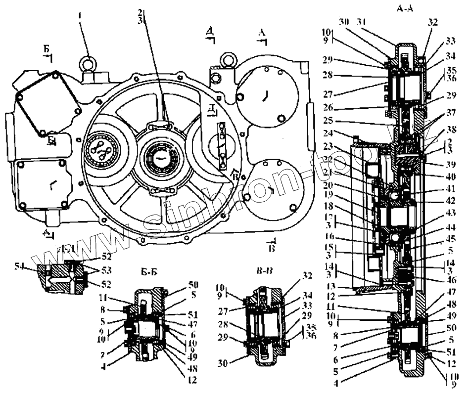
| Позиция на иллюстрации | Заводской номер детали | Название детали | |
|---|---|---|---|
| 2502-20-12-20СП | 2502-20-12-20СП | Редуктор привода насосов | |
| 2502-20-12СП | 2502-20-12СП | Редуктор привода насосов | |
| 1 | 280590-20 | Рым-болт М16.029 ГОСТ 4751-73 | |
| 1 | 280590 | Рым-болт М16.019 ГОСТ 4751-73 | |
| 2 | 285330-20 | Болт | |
| 2 | 285330 | Болт | |
| 3 | Проволока 1,6-0-С ГОСТ 3282-74 | Проволока 1,6-0-С ГОСТ 3282-74 | |
| 4 | 450104 | Прокладка | |
| 4 | 450104-20 | Прокладка | |
| 5 | Подшипник 116А ГОСТ 8338-75 | Подшипник 116А ГОСТ 8338-75 | |
| 6 | 2501-20-49 | Ступица | |
| 7 | 700-58-2462 | Кольцо С58 ГОСТ 13941-86 | |
| 8 | 2501-20-108СП | Крышка | |
| 8 | 2501-20-108-20СП | Крышка | |
| 9 | Шайба 12 ОТ.65Г ГОСТ 6402-70 | Шайба 12 ОТ.65Г ГОСТ 6402-70 | |
| 10 | Болт М12х25 ГОСТ 7796-70 | Болт М12х25 ГОСТ 7796-70 | |
| 11 | 2501-20-56 | Шестерня | |
| 12 | 580818 | Кольцо С125 ГОСТ 13941-86 | |
| 13 | 404-20-14 | Проставка | |
| 13 | 404-20-14-20 | Проставка | |
| 14 | 280359 | Болт 3М12-6gх45.109.40Х019 ГОСТ 7796-70 | |
| 14 | 280359-20 | Болт 3М12-6gх45.109.40Х029 ГОСТ 7796-70 | |
| 15 | 285535 | Болт | |
| 15 | 285535-20 | Болт | |
| 16 | 2501-20-42 | Ступица | |
| 17 | 285120 | Болт (476715722810) | |
| 17 | 285120-20 | Болт | |
| 18 | Кольцо 075-081-36-ИРП1314-1 ГОСТ 18829-7 | Кольцо 075-081-36-ИРП1314-1 ГОСТ 18829-73/ТУ 38.005.204 -84 | |
| 19 | 2501-20-52-20 | Крышка | |
| 19 | 2501-20-52 | Крышка | |
| 20 | Манжета 2.2-125х155-3 ГОСТ 8752-79/ОСТ 3 | Манжета 2.2-125х155-3 ГОСТ 8752-79/ОСТ 38.05.146-78 | |
| 21 | 2501-20-53 | Стакан | |
| 22 | Кольцо 205-215-46-2-3 ГОСТ 18829-73 | Кольцо 205-215-46-2-3 ГОСТ 18829-73 | |
| 23 | 2502-20-1 | Полумуфта | |
| 24 | 325385 | Штифт | |
| 25 | 2501-20-17 | Шестерня | |
| 26 | 2501-20-103СП | Шестерня | |
| 27 | 2501-20-32 | Крышка | |
| 27 | 2501-20-32-20 | Крышка | |
| 28 | 580680 | Кольцо С85 ГОСТ 13941-86 | |
| 29 | Подшипник 6022 ГОСТ 8338-75 | Подшипник 6022 ГОСТ 8338-75 | |
| 29 | 22 ГОСТ 8338-75 | Подшипник | |
| 30 | 450103 | Прокладка | |
| 30 | 450103-20 | Прокладка | |
| 31 | 2501-20-54 | Корпус | |
| 31 | 2501-20-54-20 | Корпус | |
| 32 | 500132 | Прокладка | |
| 33 | 404-20-8-20 | Крышка | |
| 33 | 404-20-8 | Крышка | |
| 34 | 2501-20-20 | Ступица | |
| 35 | 280515 | Болт М16х1,5-6gх25.66.019 ГОСТ 7796-70 | |
| 35 | 280515-20 | Болт М16х1,5-6gх25.66.029 ГОСТ 7796-70 | |
| 36 | Шайба 16 ОТ.65Г ГОСТ 6402-70 | Шайба 16 ОТ.65Г ГОСТ 6402-70 | |
| 37 | Подшипник 42215Е ГОСТ 8328-75 или | Подшипник 42215Е ГОСТ 8328-75 или | |
| 37 | Подшипник 42215КМ ГОСТ 8328-75 или | Подшипник 42215КМ ГОСТ 8328-75 или | |
| 38 | 2501-20-29 | Планка | |
| 39 | 404-20-7 | Ось | |
| 40 | 580821 | Кольцо С130 ГОСТ 13941-86 | |
| 41 | Подшипник 222А ГОСТ 8338-75 | Подшипник 222А ГОСТ 8338-75 | |
| 42 | 580760 | Кольцо С100 ГОСТ 13940-86 | |
| 43 | 2501-20-104СП | Шестерня | |
| 44 | 580910 | Кольцо С200 ГОСТ 13941-86 | |
| 45 | 2501-20-55 | Шестерня | |
| 46 | 2501-20-47 | Опора | |
| 47 | 2501-20-50 | Втулка | |
| 48 | Кольцо 115-125-58-51-1668 ГОСТ 18829-73/ | Кольцо 115-125-58-51-1668 ГОСТ 18829-73/ТУ 38.005.204 -84 | |
| 49 | Кольцо 100-110-58-ИРП 1314-1 ГОСТ 18829- | Кольцо 100-110-58-ИРП 1314-1 ГОСТ 18829-73/ТУ 38.005.204 -84 | |
| 50 | 2501-20-33 | Крышка | |
| 50 | 2501-20-33-20 | Крышка | |
| 51 | 2501-20-51 | Втулка | |
| 52 | 375330 | Пробка | |
| 52 | 375330-20 | Пробка | |
| 53 | Кольцо 018-022-25-51-1668 ГОСТ 18829-73/ | Кольцо 018-022-25-51-1668 ГОСТ 18829-73/ТУ 38.005.204-84 | |
| 54 | 404-20-10 | Дроссель |
Содержащиеся в справочниках-каталогах запасные части и детали не предлагаются к продаже, а носят исключительно информационный характер