Каталог запасных частей к технике: Промтрактор Т-25.01Я. Передача бортовая
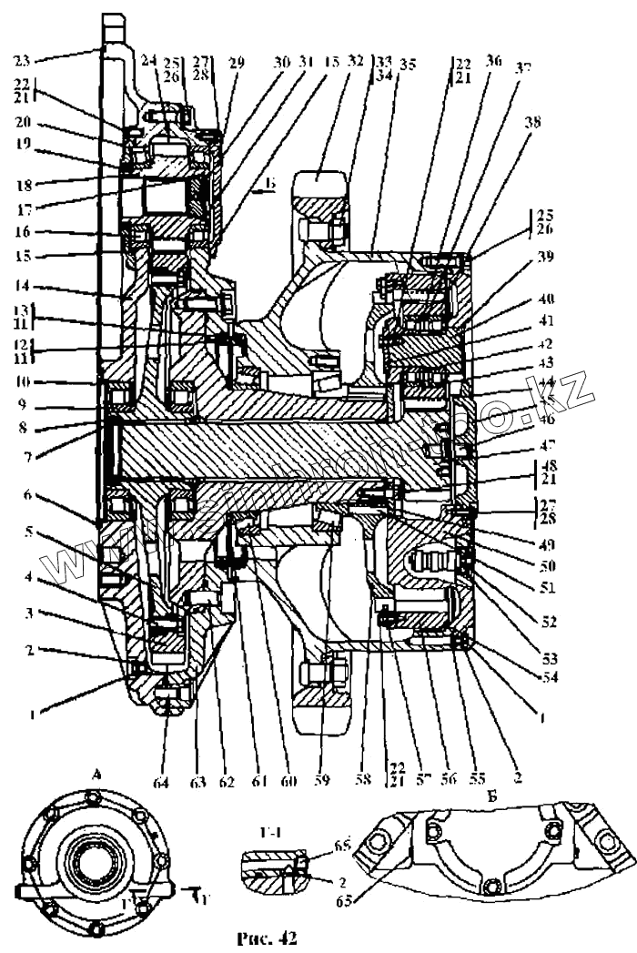
1
1
1
2
2
2
3
4
5
6
7
8
9
10
11
11
12
13
14
14
15
15
16
17
18
19
20
21
21
21
21
22
22
22
23
23
24
24
25
25
25
26
26
27
27
28
28
29
29
30
31
32
33
33
34
34
35
35
36
37
38
39
40
41
42
43
44
45
45
46
47
48
49
50
50
51
52
53
54
54
55
56
57
58
59
60
61
62
63
63
64
65
65
| Позиция на иллюстрации | Заводской номер детали | Название детали | |
|---|---|---|---|
| 2501-19-11-20-СП | 2501-19-11-20-СП | Передача бортовая | |
| 2501-19-11-СП | 2501-19-11-СП | Передача бортовая | |
| 1 | 2501-19-73-20 | Пробка | |
| 1 | 2501-19-73 | Пробка | |
| 2 | Кольцо 012-016-25-51-1668 ГОСТ 18829-73 | Кольцо 012-016-25-51-1668 ГОСТ 18829-73 ТУ 38.005.204-80 | |
| 3 | 2501-19-81 | Шестерня | |
| 4 | 280725 | Болт М20х1,5-6gх50.109.40Х.019 ГОСТ 7796-70 | |
| 5 | 2501-19-82 | Ступица | |
| 6 | 270-280-58-2-3 | Кольцо ГОСТ 18829-73 | |
| 7 | 2501-19-64 | Втулка | |
| 8 | 700-58-2092 | Кольцо С120 ГОСТ 13941-86 | |
| 9 | Подшипник 12228М ГОСТ 8328-75 | Подшипник 12228М ГОСТ 8328-75 | |
| 10 | 580930 | Кольцо С250 ГОСТ 13941-86 | |
| 11 | Уплотнение АL РЕМ 415 | Уплотнение АL РЕМ 415 | |
| 12 | 2501-19-12 | Кольцо | |
| 13 | 2501-19-40 | Кольцо упорное | |
| 14 | 2501-19-50 | Корпус | |
| 14 | 2501-19-50-20 | Корпус | |
| 15 | Кольцо 205-215-46-2-3 ГОСТ 18829-73 | Кольцо 205-215-46-2-3 ГОСТ 18829-73 | |
| 16 | Подшипник 42221Л ГОСТ 8328-75 | Подшипник 42221Л ГОСТ 8328-75 | |
| 17 | Кольцо 069-075-36-51-1668 ГОСТ 18829-73 | Кольцо 069-075-36-51-1668 ГОСТ 18829-73 ТУ 38.005.204-80 | |
| 18 | 2501-19-54 | Шестерня | |
| 19 | Манжета 2.2-95х120-3 ГОСТ 8752-79/ОСТ 38 | Манжета 2.2-95х120-3 ГОСТ 8752-79/ОСТ 38.05.146 | |
| 20 | 2501-19-61 | Крышка | |
| 21 | Проволока 1,6-0-С ГОСТ 3282-74 | Проволока 1,6-0-С ГОСТ 3282-74 | |
| 22 | 285330 | Болт | |
| 23 | 400215 | Кольцо | |
| 23 | 400215-20 | Кольцо | |
| 24 | 40 0319-03 | Кольцо | |
| 24 | 40 0319-03-20 | Кольцо | |
| 25 | 280730-20 | Болт М20х1,-6gх60.109.40Х029 ГОСТ 7796-70 | |
| 25 | 280730 | Болт М20х1,5-6gх60.109.40Х019 ГОСТ 7796-70 | |
| 26 | Шайба 20.ОТ.65Г ГОСТ 6402-70 | Шайба 20.ОТ.65Г ГОСТ 6402-70 | |
| 27 | Болт М12х30 ГОСТ 7796-70 | Болт М12х30 ГОСТ 7796-70 | |
| 28 | Шайба 12.ОТ.65Г ГОСТ 6402-70 | Шайба 12.ОТ.65Г ГОСТ 6402-70 | |
| 29 | 2501-19-62 | Крышка | |
| 29 | 2501-19-62-20 | Крышка | |
| 30 | 2501-19-63 | Крышка | |
| 31 | 580676 | Кольцо С80 ГОСТ 13941-86 | |
| 32 | 2501-19-75 | Сектор зубчатый | |
| 33 | 2501-19-80 | Болт | |
| 33 | 2501-19-80-20 | Болт | |
| 34 | 300410 | Гайка М30х2 ГОСТ 5915-70 | |
| 34 | 300410-20 | Гайка М30х2 ГОСТ 5915-70 | |
| 35 | 2501-19-79 | Ступица | |
| 35 | 2501-19-79-20 | Ступица | |
| 36 | 580821 | Кольцо С130 ГОСТ 13941-86 | |
| 37 | 2501-19-76 | Кольцо | |
| 38 | 2501-19-58 | Сателлит | |
| 39 | Кольцо 080-085-30-51-1668 ГОСТ 18829-73 | Кольцо 080-085-30-51-1668 ГОСТ 18829-73 ТУ 38.005.204-80 | |
| 40 | 2501-19-65 | Ось | |
| 41 | 2501-19-66 | Шайба | |
| 42 | 2501-19-74 | Втулка | |
| 43 | Подшипник 42312КIV ГОСТ 8328-75 | Подшипник 42312КIV ГОСТ 8328-75 | |
| 44 | Кольцо 190-195-36-51-1668 ГОСТ 18829-73 | Кольцо 190-195-36-51-1668 ГОСТ 18829-73 ТУ 38.005.204-80 | |
| 45 | 3501-19-29 | Крышка | |
| 45 | 3501-19-29-20 | Крышка | |
| 46 | 2501-19-28 | Пята | |
| 47 | 2501-19-57 | Шестерня | |
| 48 | 285556 | Болт | |
| 49 | 2501-19-69 | Шайба | |
| 50 | 2501-19-53-20 | Водило | |
| 50 | 2501-19-53 | Водило | |
| 51 | 2501-19-68 | Палец | |
| 52 | 2501-19-111СП | Пробка магнитная | |
| 53 | Кольцо 045-050-30-51-1668 ГОСТ 18829-73 | Кольцо 045-050-30-51-1668 ГОСТ 18829-73 ТУ 38.005.204-80 | |
| 54 | 400319 | Кольцо | |
| 54 | 40 0319-20 | Кольцо | |
| 55 | Кольцо 020-025-30-51-1668 ГОСТ 18829-73 | Кольцо 020-025-30-51-1668 ГОСТ 18829-73 ТУ 38.005.204-80 | |
| 56 | 2501-19-83 | Шестерня | |
| 57 | 2501-19-84 | Планка | |
| 58 | 2501-19-60 | Муфта | |
| 59 | Подшипник 2007138М ТУ 37.006.162-89 | Подшипник 2007138М ТУ 37.006.162-89 | |
| 60 | Подшипник 2007944М ТУ 37.006.162-89 | Подшипник 2007944М ТУ 37.006.162-89 | |
| 61 | ТТ2501-19-4 | Кольцо упорное | |
| 62 | 700-32-2180-01 | Штифт | |
| 63 | ТТ2501-19-100СП | Корпус | |
| 63 | ТТ2501-19-100-20СП | Корпус | |
| 64 | 700-32-2158 | Штифт | |
| 65 | 370150-08 | Пробка 4-КГ1/8"45.089 ТУ 23.1.506-91 |
Содержащиеся в справочниках-каталогах запасные части и детали не предлагаются к продаже, а носят исключительно информационный характер