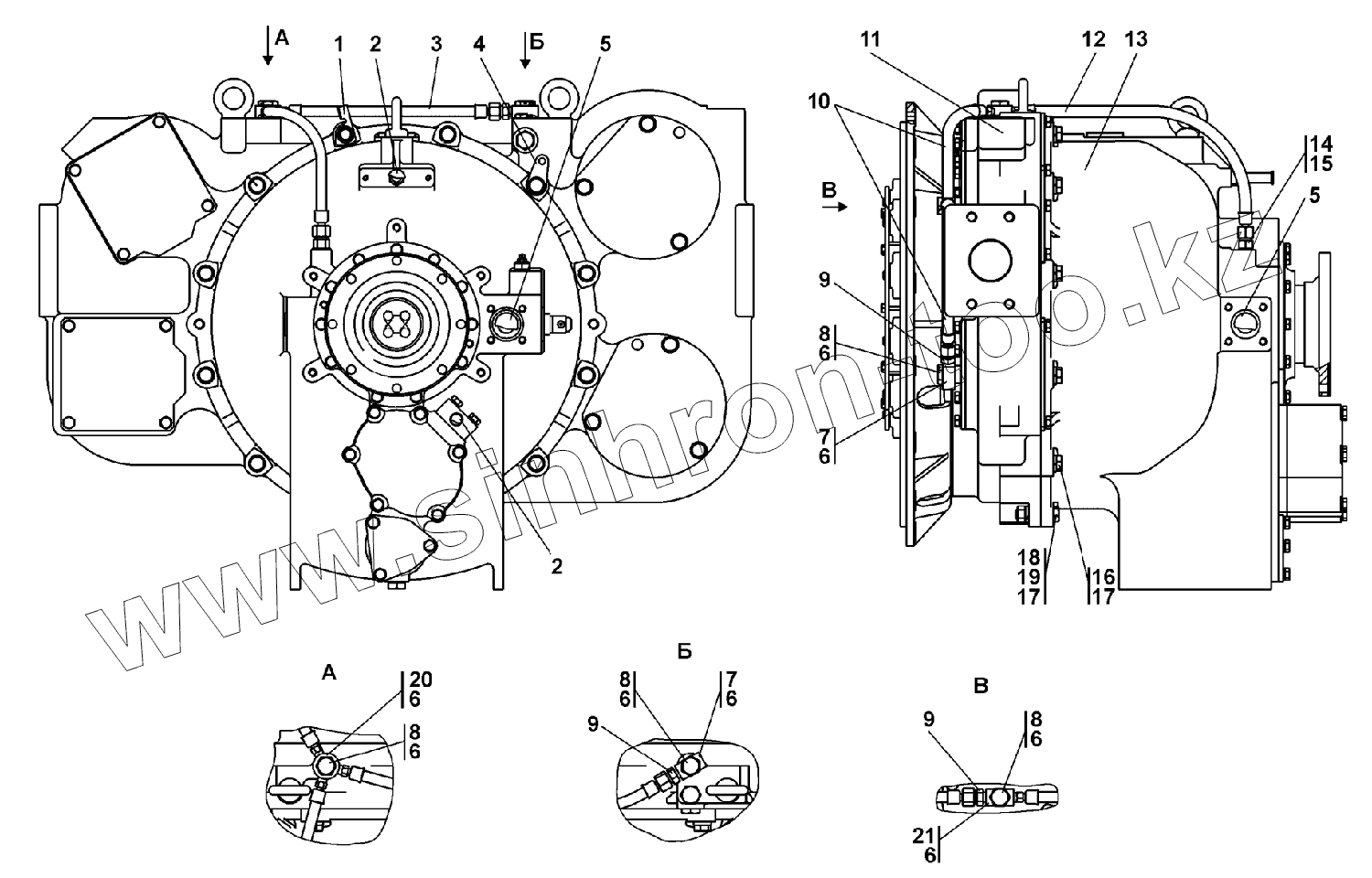
Каталог запасных частей к технике: Промтрактор Т-25.01К1. Установка редуктора привода насосов
1
1
2
2
3
3
4
5
5
6
6
6
6
6
6
6
6
7
7
8
8
8
8
8
9
9
9
9
10
10
11
11
12
12
13
13
14
15
16
17
17
18
19
19
20
21
| Позиция на иллюстрации | Заводской номер детали | Название детали | |
|---|---|---|---|
| 1 | 401-10-1-20 | Угольник | |
| 1 | 401-10-1 | Угольник | |
| 2 | 440093 | Пробка | |
| 3 | 2501-20-113-01СП(SP) | Рукав | |
| 3 | 2501-20-113-01-20СП | Рукав | |
| 4 | 400-10-8 | Планка | |
| 5 | 440006 | Пробка | |
| 6 | 018-022-25-2-51-1668 | Кольцо | |
| 7 | 2501-20-58 | Угольник | |
| 8 | 2501-20-8 | Болт зажимной | |
| 8 | 2501-20-8-20 | Болт зажимной | |
| 9 | 2501-20-59 | Штуцер | |
| 9 | 2501-20-59-20 | Штуцер | |
| 10 | 2501-20-113СП(SP) | Рукав | |
| 10 | 2501-20-113-20СП(SP) | Рукав | |
| 11 | 2506-20-10СП(SP) | Редуктор привода насосов | |
| 11 | 2506-20-10-20СП(SP) | Редуктор привода насосов | |
| 12 | 2501-20-113-02СП(SP) | Рукав | |
| 12 | 2501-20-113-02-20СП | Рукав | |
| 13 | 2501-14-12СП(SP) | Гидротрансформатор | |
| 13 | 2501-14-12-20СП(SP) | Гидротрансформатор | |
| 14 | 46-18-65 | Штуцер | |
| 15 | Кольцо12х16 | Кольцо12х16 | |
| 16 | БолтМ16-6gх45 | Болт М16-6gх45 | |
| 17 | Шайба16 | Шайба 16 | |
| 18 | БолтМ16х1,5-6gх60 | Болт М16х1,5-6gх60 | |
| 19 | 305250 | Гайка М16х1,5 ГОСТ 5915-70 | |
| 19 | 305250-20 | Гайка М16х1,5 ГОСТ 5915-70 | |
| 20 | 2501-20-57 | Угольник | |
| 21 | 2501-20-58-01 | Угольник |
Содержащиеся в справочниках-каталогах запасные части и детали не предлагаются к продаже, а носят исключительно информационный характер