Каталог запасных частей к технике: Промтрактор Т-25.01К1. Тележка
1
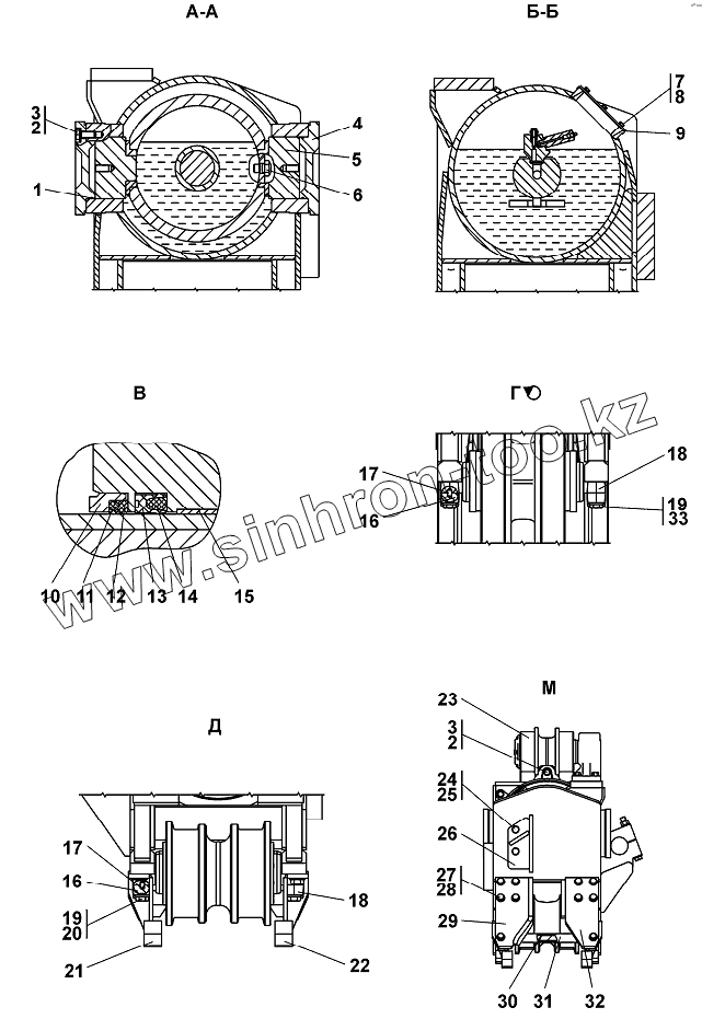
2
2
2
3
3
3
4
5
6
7
8
9
9
10
11
12
13
14
15
16
16
17
17
18
18
19
19
19
20
20
21
21
22
22
23
23
24
24
25
25
26
26
26
26
27
27
28
28
29
29
29
29
30
30
31
32
33
33
| Позиция на иллюстрации | Заводской номер детали | Название детали | |
|---|---|---|---|
| 1 | 145-150-36-2-51-1668 | Кольцо 145-150-36-2-51-1668 | |
| 2 | 280535 | Болт М16х1,5-6gх38.109.40Х.019 ГОСТ 7796-70 | |
| 2 | 280535-20 | Болт М16х1,5-6gх38.109.40Х.029 ГОСТ 7796-70 | |
| 3 | 315271 | Шайба | |
| 3 | 315271-20 | Шайба | |
| 4 | 4001-21-65 | Крышка | |
| 5 | 2501-21-540 | Вкладыш | |
| 6 | 1501-21-227 | Стопор | |
| 7 | БолтМ8-6gх16 | Болт М8-6gх16 | |
| 8 | Шайба8Т | Шайба 8Т | |
| 9 | 450337 | Прокладка | |
| 9 | 450337-20 | Прокладка | |
| 10 | 4001-21-76 | Каркас | |
| 11 | 400493 | Кольцо упругое | |
| 12 | 4001-21-62 | Манжета | |
| 13 | 4001-21-63 | Манжета | |
| 14 | 400494 | Кольцо упругое | |
| 15 | 4001-21-99 | Втулка | |
| 16 | 2501-21-506-01 | Крышка | |
| 17 | 325382 | Штифт | |
| 18 | 2501-21-506 | Крышка | |
| 19 | 315355 | Шайба | |
| 19 | 315355-20 | Шайба | |
| 20 | 280885 | Болт М24х2-6gх150.109.40Х019 ГОСТ 7796-70 | |
| 20 | 280885-20 | Болт М24х2-6gх150.109.40Х029 ГОСТ 7796-70 | |
| 21 | 2501-21-330-20СП(SP) | Щиток | |
| 21 | 2501-21-330СП(SP) | Щиток | |
| 22 | 2501-21-330-01СП(SP) | Щиток | |
| 22 | 2501-21-330-01-20СП | Щиток | |
| 23 | 2501-21-115СП(SP) | Каток поддерживающий | |
| 23 | 2501-21-115-20СП(SP) | Каток поддерживающий | |
| 24 | 280720 | Болт М20х1,5-6gх40.109.40Х.019 ГОСТ 7796-70 | |
| 24 | 280720-20 | Болт М20х1,5-6gх40.109.40Х.029 ГОСТ 7796-70 | |
| 25 | 310310 | Шайба 20х4.01.10.019 ГОСТ 11371-78 | |
| 25 | 310310-20 | Шайба 20х4.01.10.0221 ГОСТ 11371-78 | |
| 26 | 2501-21-88СП(SP) | Отбойник | |
| 26 | 2501-21-88-20СП(SP) | Отбойник | |
| 26 | 2501-21-88-01СП(SP) | Отбойник | |
| 26 | 2501-21-88-01-20СП | Отбойник | |
| 27 | 280725 | Болт М20х1,5-6gх50.109.40Х.019 ГОСТ 7796-70 | |
| 27 | 280725-20 | Болт М20х1,5-6gх50.109.40Х.029 ГОСТ 7796-70 | |
| 28 | 310320 | Шайба 20.04.20.019 ГОСТ 6958-78 | |
| 28 | 310320-20 | Шайба 20.04.20.0221 ГОСТ 6958-78 | |
| 29 | 3501-21-252СП(SP) | Отбойник | |
| 29 | 3501-21-252-20СП(SP) | Отбойник | |
| 29 | 3501-21-252-01СП(SP) | Отбойник | |
| 29 | 3501-21-252-01-20СП | Отбойник | |
| 30 | 2001-21-270-01 | Стяжка | |
| 30 | 2001-21-270-01-20 | Стяжка | |
| 31 | 2501-21-189 | Втулка | |
| 32 | 3501-21-250 | Лист | |
| 33 | 280865 | Болт М24х2-6gх130.109.40Х019 ГОСТ 6402-70 | |
| 33 | 280865-20 | Болт М24х2-6gх130.109.40Х.029 ГОСТ 6402-70 |
Содержащиеся в справочниках-каталогах запасные части и детали не предлагаются к продаже, а носят исключительно информационный характер