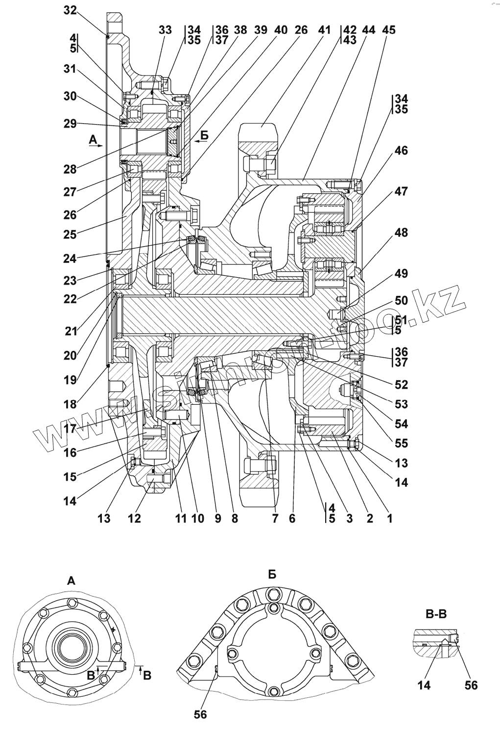
Каталог запасных частей к технике: Промтрактор Т-25.01К1. Передача бортовая
1
2
3
4
4
5
5
5
6
7
8
9
10
11
11
12
13
13
13
14
14
14
15
16
17
18
19
20
21
22
23
24
25
25
26
26
27
28
29
30
31
32
33
34
34
34
35
35
36
36
37
37
38
38
39
40
41
42
42
43
43
44
44
45
46
46
47
48
48
49
50
51
52
53
54
55
56
56
| Позиция на иллюстрации | Заводской номер детали | Название детали | |
|---|---|---|---|
| 1 | 018-022-25-2-51-1668 | Кольцо | |
| 2 | 2501-19-83 | Шестерня | |
| 3 | 2501-19-84 | Планка | |
| 4 | 285330 | Болт | |
| 5 | ГОСТ3282-74 | Проволока | |
| 6 | 2501-19-60 | Муфта | |
| 7 | 2007138М | Подшипник 2007138М | |
| 8 | 2007944М1 | Подшипник 2007944М1 | |
| 9 | ТТ2501-19-4 | Кольцо упорное | |
| 10 | 700-32-2180-01 | Штифт | |
| 11 | ТТ2501-19-100СП(SP) | Корпус | |
| 11 | ТТ2501-19-100-20СП | Корпус | |
| 12 | 700-32-2158 | Штифт | |
| 13 | 375516 | Пробка | |
| 13 | 375516-20 | Пробка | |
| 14 | 012-016-25-2-51-1668 | Кольцо 012-016-25-2-51-1668 | |
| 15 | 2501-19-81 | Шестерня | |
| 16 | 280725 | Болт М20х1,5-6gх50.109.40Х.019 ГОСТ 7796-70 | |
| 17 | 2501-19-82 | Ступица | |
| 18 | 270-280-58-2-51-1668 | Кольцо 270-280-58-2-51-1668 | |
| 19 | 2501-19-64 | Втулка | |
| 20 | 700-58-2092 | Кольцо С120 ГОСТ 13941-86 | |
| 21 | 12228М | Подшипник 12228М | |
| 22 | 2501-19-12 | Кольцо | |
| 23 | 580930 | Кольцо С250 ГОСТ 13941-86 | |
| 24 | 2501-19-40 | Кольцо упорное | |
| 25 | 2501-19-50 | Корпус | |
| 25 | 2501-19-50-20 | Корпус | |
| 26 | 205-215-46-2-51-1668 | Кольцо 205-215-46-2-51-1668 | |
| 27 | 42221Л | Подшипник 42221Л | |
| 28 | 069-075-36-2-51-1668 | Кольцо 069-075-36-2-51-1668 | |
| 29 | 2501-19-54 | Шестерня | |
| 30 | 95-120-12 | Манжета 95-120-12 | |
| 31 | 2501-19-61 | Крышка | |
| 32 | 400468-22 | Кольцо | |
| 33 | 400468-37 | Кольцо | |
| 34 | 280730 | Болт М20х1,5-6gх60.109.40Х019 ГОСТ 7796-70 | |
| 34 | 280730-20 | Болт М20х1,-6gх60.109.40Х029 ГОСТ 7796-70 | |
| 35 | Шайба20ОТ | Шайба 20 ОТ | |
| 36 | БолтМ12-6gх30 | Болт М12-6gх30 | |
| 37 | Шайба12ОТ | Шайба12ОТ | |
| 38 | 2501-19-62 | Крышка | |
| 38 | 2501-19-62-20 | Крышка | |
| 39 | 2501-19-63 | Крышка | |
| 40 | 580676 | Кольцо С80 ГОСТ 13941-86 | |
| 41 | 2501-19-75 | Сектор зубчатый | |
| 42 | 2501-19-80-03 | Болт | |
| 42 | 2501-19-80-03-20 | Болт | |
| 43 | 300411 | Гайка М30х2-6Н.12.019 ГОСТ 5915-70 | |
| 43 | 300411-20 | Гайка М30х2-6Н.12.029 ГОСТ 5915-70 | |
| 44 | 2501-19-79 | Ступица | |
| 44 | 2501-19-79-20 | Ступица | |
| 45 | 400468-27 | Кольцо | |
| 46 | 2501-19-114СП(SP) | Водило | |
| 46 | 2501-19-114-20СП(SP) | Водило | |
| 47 | 190-195-36-2-51-1668 | Кольцо | |
| 48 | 3501-19-29 | Крышка | |
| 48 | 3501-19-29-20 | Крышка | |
| 49 | 2501-19-28 | Пята | |
| 50 | 2501-19-57 | Шестерня | |
| 51 | 285556 | Болт | |
| 52 | 2501-19-69 | Шайба | |
| 53 | 2501-19-68 | Палец | |
| 54 | 2501-19-113СП(SP) | Пробка магнитная | |
| 55 | 045-050-30-2-51-1668 | Кольцо ГОСТ 9833-73/ГОСТ 18829-73 | |
| 56 | 370150-08 | Пробка 4-КГ1/8"45.089 ТУ 23.1.506-91 |
Содержащиеся в справочниках-каталогах запасные части и детали не предлагаются к продаже, а носят исключительно информационный характер