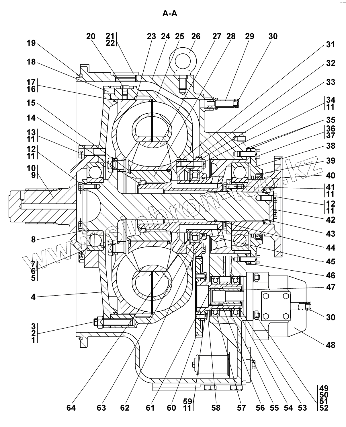
Каталог запасных частей к технике: Промтрактор Т-25.01К1. Гидротрансформатор
1
1
2
3
4
5
6
7
8
9
10
11
11
11
11
11
11
12
12
12
13
13
14
15
16
17
18
19
20
21
21
22
23
24
24
25
26
26
27
28
29
30
30
31
32
33
34
34
35
35
36
37
38
39
40
41
41
42
43
44
45
46
46
47
48
48
49
50
51
52
52
53
54
55
56
57
58
59
60
61
62
63
64
| Позиция на иллюстрации | Заводской номер детали | Название детали | |
|---|---|---|---|
| 1 | 305250-20 | Гайка М16х1,5 ГОСТ 5915-70 | |
| 1 | 305250 | Гайка М16х1,5 ГОСТ 5915-70 | |
| 2 | 700-31-2468 | Пластина стопорная | |
| 3 | 295535 | Шпилька | |
| 4 | 2501-14-104СП(SP) | Фланец | |
| 5 | QJ222М | Подшипник QJ222М | |
| 6 | 6-176222Л | Подшипник 6-176222Л | |
| 7 | 176222Л | Подшипник ГОСТ 8995-75 | |
| 8 | 2501-14-21 | Крышка (476719267303) | |
| 9 | 404-14-106СП(SP) | Муфта | |
| 10 | 2501-14-17 | Муфта | |
| 11 | ГОСТ3282-74 | Проволока | |
| 12 | 280339 | Болт 3М12-6gх30.109.40Х019 ГОСТ 7796-70 | |
| 12 | 280339-20 | Болт 3М12х30 ГОСТ 7796-70 | |
| 13 | 285555-01 | Болт | |
| 13 | 285555-01-20 | Болт | |
| 14 | 580760 | Кольцо С100 ГОСТ 13940-86 | |
| 15 | 580855 | Кольцо С155 ГОСТ 13940-86 | |
| 16 | 480-490-58-2-3 | Кольцо ГОСТ 18829-73 | |
| 17 | 400468-11 | Кольцо | |
| 18 | 32355 | Штифт | |
| 19 | 400468-22 | Кольцо | |
| 20 | 375332 | Пробка | |
| 21 | 700-37-2140 | Пробка | |
| 21 | 700-37-2140-20 | Пробка | |
| 22 | 045-050-30-2-51-1668 | Кольцо ГОСТ 9833-73/ГОСТ 18829-73 | |
| 23 | 2501-14-102СП(SP) | Колесо турбинное | |
| 24 | 2501-14-79 | Корпус | |
| 24 | 2501-14-79-20 | Корпус | |
| 25 | 2501-14-56-01 | Колесо насосное | |
| 26 | 280590 | Рым-болт М16.019 ГОСТ 4751-73 | |
| 26 | 280590-20 | Рым-болт М16.029 ГОСТ 4751-73 | |
| 27 | 2501-14-86-01 | Колесо реактора | |
| 28 | 2501-14-116СП(SP) | Муфта | |
| 29 | 403-16-109СП(SP) | Штуцер | |
| 30 | 440093 | Пробка | |
| 31 | 2501-14-144 | Кольцо | |
| 32 | 2501-14-65 | Коллектор | |
| 33 | 2501-14-66 | Шестерня | |
| 34 | 280359-20 | Болт 3М12-6gх45.109.40Х029 ГОСТ 7796-70 | |
| 34 | 280359-02 | Болт 3М12-6gх50 | |
| 35 | 700-40-4875-20 | Прокладка | |
| 35 | 700-40-4875 | Прокладка | |
| 36 | БолтМ12-6gх40 | Болт М12-6gх40 | |
| 37 | Шайба12ОТ | Шайба12ОТ | |
| 38 | 2501-14-60-01 | Крышка | |
| 39 | 125-150-12 | Манжета | |
| 40 | 2501-14-122СП(SP) | Фланец | |
| 41 | 285330-20 | Болт | |
| 41 | 285330 | Болт | |
| 42 | 2501-14-19 | Крышка (476719267303) | |
| 43 | 049-055-36-2-51-1668 | Кольцо ГОСТ 18829-73/ТУ 38.005.204-84 | |
| 44 | 2501-12-181-36 | Кольцо уплотнительное | |
| 45 | 2501-14-117СП(SP) | Ось реактора | |
| 46 | 450302 | Прокладка | |
| 46 | 450302-20 | Прокладка | |
| 47 | 700-58-2332 | Кольцо С25 ГОСТ 13940-86 | |
| 48 | НШ32УК-3Л | Насос НШ32УК-3Л | |
| 48 | НШ32УК-3ЛТ | Насос НШ32УК-3ЛТ | |
| 49 | 295220 | Шпилька | |
| 50 | ГайкаМ10 | Гайка М10 | |
| 51 | Шайба10ОТ | Шайба 10 ОТ | |
| 52 | 310180 | Шайба 10.01.08кп | |
| 52 | 310180-20 | Шайба 10.01.08кп | |
| 53 | 580550 | Кольцо С55 ГОСТ 13940-86 | |
| 54 | 700-58-2278 | Кольцо С90 | |
| 55 | 2501-14-47 | Муфта | |
| 56 | 2501-14-82 | Втулка | |
| 57 | Подшипник111 | Подшипник 11 | |
| 58 | 2501-14-80 | Фланец | |
| 59 | БолтМ8-6gх30 | Болт М8-6gх30 | |
| 60 | 2501-14-81 | Шестерня | |
| 61 | 580320 | Кольцо С36 | |
| 62 | 2501-12-181-36 | Кольцо уплотнительное | |
| 63 | 1032924К1М | Подшипник 1032924К1М | |
| 64 | 585806 | Кольцо |
Содержащиеся в справочниках-каталогах запасные части и детали не предлагаются к продаже, а носят исключительно информационный характер