Каталог запасных частей к технике: Промтрактор Т-25.01К1. Электрооборудование
1
2
2
2
3
3
3
4
4
4
4
4
4
5
5
5
6
6
6
6
7
7
7
8
9
10
10
11
12
12
13
14
14
15
15
15
16
17
18
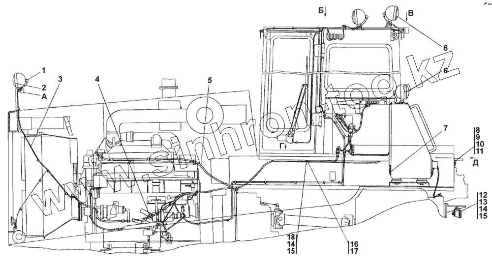
| Позиция на иллюстрации | Заводской номер детали | Название детали | |
|---|---|---|---|
| 1 | 700-40-5607 | Наконечник | |
| 2 | 4573324087 | Фара 3131.3711010 | |
| 2 | 4573324086 | Фара 3137.3711010 | |
| 2 | 4573324085 | Фара 3136.3711010 | |
| 3 | 2501-10-111-02СП(SP) | Электрооборудование передней облицовки | |
| 3 | 3506-10-111-02-10СП | Электрооборудование передней облицовки | |
| 3 | 3506-10-111-02-20СП | Электрооборудование передней облицовки | |
| 4 | 3506-10-13-02СП(SP) | Установка электрооборудования на раме | |
| 4 | 3506-10-13-02-10СП | Установка электрооборудования на раме | |
| 4 | 3506-10-13-02-20СП | Установка электрооборудования на раме | |
| 4 | 3506-10-13-02СП(SP) | Установка электрооборудования на раме | |
| 4 | 3506-10-13-02-10СП | Установка электрооборудования на раме | |
| 4 | 3506-10-13-02-20СП | Установка электрооборудования на раме | |
| 5 | 1106-10-18-05СП(SP) | Электрооборудование пола кабины | |
| 5 | 1106-10-18-05-10СП | Электрооборудование пола кабины | |
| 5 | 1106-10-18-05-20СП | Электрооборудование пола кабины | |
| 6 | 404-10-270-20СП(SP) | Установка фары | |
| 6 | 404-10-270СП(SP) | Установка фары | |
| 6 | 404-10-270-10СП(SP) | Установка фары | |
| 7 | 2501-10-107СП(SP) | Электрооборудование топливного бака | |
| 7 | 2501-10-107-10СП(SP) | Электрооборудование топливного бака | |
| 7 | 2501-10-107-20СП(SP) | Электрооборудование топливного бака | |
| 8 | ВинтВ.М6-6gх12 | Винт В.М6-6gх12 | |
| 9 | Шайба6Т | Шайба 6Т | |
| 10 | 310110 | Шайба 6.01.08кп.019 ГОСТ 11371-78 | |
| 10 | 310110-20 | Шайба 6.01.08кп.0221 ГОСТ 11371-78 | |
| 11 | 4573725595 | Световозвращатель ФП310Е-0 | |
| 12 | 3501-10-198СП(SP) | Установка фонаря заднего хода | |
| 12 | 3501-10-198-20СП(SP) | Установка фонаря заднего хода | |
| 13 | БолтМ8-6gх35 | Болт М8-6gх35 | |
| 14 | Шайба8Т | Шайба 8Т | |
| 15 | 310150 | Шайба 8.01.08кп.019 ГОСТ 11371-78 | |
| 15 | 310150-20 | Шайба 8.01.08кп.0221 ГОСТ 11371-78 | |
| 16 | 700-40-6684-02 | Прокладка | |
| 17 | 700-41-2548 | Хомутик | |
| 18 | БолтМ8-6gх16 | Болт М8-6gх16 |
Содержащиеся в справочниках-каталогах запасные части и детали не предлагаются к продаже, а носят исключительно информационный характер