Вернуться на главную
Поиск
Каталоги запчастей к технике
Спецтехника
Промтрактор
Т-25.01К1
Бустер
Каталог запасных частей к технике: Промтрактор Т-25.01К1. Бустер
zoom-in
zoom-out
enlarge
shrink
circle-right
circle-left
file-text2
info
cart
Тип техники
Не выбрано
Легковые автомобили
Грузовые автомобили и прицепы
Автобусы
Сельхозтехника
Спецтехника
Двигатели
Мототехника
Марка
Не выбрано
Ammann
BOMAG
CARMIX
CASE IH
Changlin
ChengGong
Dimex
Doosan
DYNAPAC
Foton
HAMM
Hidromek
Hitachi
Hyundai
JCB
JLG
John Deere
Komatsu
LIEBHERR
LiuGong
Lonking (LongGong)
Luneng
MANITOU
Mitsuber
New Holland
PENGPU
RM-Terex
SANY
SDLG
SEM
Shantui
Shehwa HBXG
Soosan
TIGARBO
VOGELE
Volvo
WAY
WIRTGEN
XCMG
XGMA
Xiamen
YTO
Yuchai
Zoomlion
Автокран
АЗСМ
Алтайлесмаш
Амкодор
АОМЗ
Атек
АТЗ
Балканкар Рекорд
БелАЗ
Беловеж
Борекс
Брянский Арсенал
Булат
ВЭКС
ГАЗ
Геомаш
Гидромаш
Донекс
Дормаш
Дормашина
Дорэлектромаш
ДЭЗ
ЕлАЗ
ЗЗГТ
Ижнефтемаш
Канаш-электрокар
КЗКТ
ККЗ
Клевер
Клинцовский автокрановый завод
КМЗ
КМЗ 1 Мая
Ковровец
Коммаш
Кранэкс
КЭЗ
КЭМЗ
ЛЗА
МАЗ
МЗИК
МЗКМ
МЗКТ
Михневский РМЗ
МоАЗ
Мозырский МЗ
МТЗ
ОЗП
Онежец
ПАО "ТЗА"
ППС Детва
Промтрактор
ПТЗ
Раскат
СпецАгрегат
ТВЭКС
ТТМ
УВЗ
Угличмаш
УЗТМ
ХТЗ
ЧЗКМ
ЧСДМ
ЧТЗ
ЭКСКО
ЭКСМАШ
ЮрМаш
Модель
Не выбрано
ПК-12.02 (2007)
ПК-12.02К (2007)
ПК-60.01 (2007)
Т-11.01К (2008)
Т-11.01Я
Т-11.02К (2008)
Т-11.02Я (2008)
Т-15.01К (2007)
Т-15.01Я (2000)
Т-15.02K (2009)
Т-15.02Я (2009)
Т-20.01К
Т-20.01Я (2000)
Т-20.01Я (2005) (2005)
Т-20.02К (Четра) (2009)
Т-20.02Я (Четра) (2009)
Т-25.01К1 (2008)
Т-25.01Я (2006)
Т-330 (2006)
Т-35.01К (2007)
Т-35.01Я
Т-40.01К (2008)
Т-50.01 (1998)
Т-500 (1999)
Т-9.01Я (2007)
ТГ-121Я (2004)
ТГ-221КМ (2006)
ТГ-221Я (2004)
ТГ-301К (2006)
ТГ-301Я (2004)
ТГ-302Я (2010)
ТГ-503К (2006)
ТГ-503Я (2006)
ТГ-511 (2008)
Шасси ТП-20.02 (2008)
Схема
>
Не выбрано
Установка двигателя QSX15-С440 «Cummins»
Установка двигателя QSX1-С440 «Cummins»
Установка систем воздухоочистки и выпуска
Установка систем воздухоочистки и выпуска
Установка топливного бака
Установка топливного бака
Установка системы подогрева
Установка системы подогрева
Установка системы подогрева
Система охлаждения
Система охлаждения
Система охлаждения
Блок радиаторов
Блок радиаторов
Установка радиаторная
Воздухоочиститель
Бак топливный
Электрооборудование
Электрооборудование
Установка электрооборудования на раме
Установка электрооборудования на раме
Электрооборудование двигателя
Установка электрооборудования в контейнере АКБ
Блок управления отопителя
Электрооборудование передней облицовки
Электрооборудование топливного бака
Установка фары
Установка фары заднего хода
Электрооборудование крыши кабины
Электрооборудование крыши кабины
Электрооборудование крыши кабины
Электрооборудование пола кабины
Блок выключателей
Установка жгута
Установка электрооборудования пола кабины
Установка блока выключателей
Щитки приборов
Щиток выключателей
Установка жгута к контейнеру АКБ
Рама
Балка
Тележка
Тележка
Установка тележек
Шарнир
Каток поддерживающий
Механизм сдавания
Механизм сдавания
Колесо натяжное
Гусеница
Установка ледоходных шпор на гусеницу
Каток опорный
Установка кожухов
Система ходовая
Тележка
Тележка
Каток поддерживающий
Каток опорный
Механизм сдавания
Шарнир
Гусеница
Установка ледоходных шпор на гусеницу
Колесо натяжное
Механизм натяжения
Рама
Балка
Установка трансмиссии
Установка трансмиссии
Установка трансмиссии
Блок трансмиссии
Передача главная
Коробка передач с системой гидроуправления
Коробка передач с системой гидроуправления
Коробка передач планетарная
Бустер
Водило
Водило
Водило
Гидротрансформатор
Гидротрансформатор
Блок управления
Клапан
Клапан
Клапан
Блок управления
Фрикцион бортовой и тормоз остановочный
Пакет дисков
Установка редуктора привода насосов
Редуктор привода насосов
Редуктор привода насосов
Фильтр
Передача бортовая
Вал карданный
Установка гидросистемы
Установка гидросистемы
Установка гидросистемы
Установка гидросистемы
Бак гидросистемы
Клапан
Распределитель
Распределитель
Распределитель секционный
Распределитель секционный
Клапан
Установка гидроцилиндров
Установка гидроцилиндров
Гидроцилиндр
Гидроцилиндр
Управление трактором
Управление трактором
Облицовка
Облицовка
Кабина
Кабина
Кабина
Установка защиты кабины
Установка кондиционера
Система отопления и вентиляции кабины
Установка сиденья
Установка отопителя кабины
Машинокомплект деталей и сборочных единиц интерьера кабины «Четра»
Кабина
Кабина
Кабина
Кабина
Кабина
Кабина
Кабина
Кабина
Блок управления
Блок управления
Блок управления
Установка вентиляторов кабины
Оборудование бульдозерное сферическое
Оборудование бульдозерное сферическое
Оборудование бульдозерное
Оборудование бульдозерное
Отвал
Отвал полусферический
Раскос винтовой
Гидросистема бульдозерного оборудования
Гидросистема бульдозерного оборудования
Гидрораскос
Гидрозамок
Оборудование рыхлительное
Оборудование рыхлительное
Оборудование рыхлительное
Оборудование рыхлительное
Зуб
Зуб
Гидросистема рыхлительного оборудования
Гидросистема рыхлительного оборудования
Гидроцилиндр
Гидроцилиндр
Установка прицепного устройства
Установка трансмиссии
Установка трансмиссии
Установка трансмиссии
Передача бортовая
Рама
Балка
Система ходовая
Тележка
Шарнир
Колесо натяжное
Гусеница
Каток поддерживающий
Механизм сдавания
Механизм сдавания
Каток опорный
Оборудование бульдозерное сферическое
Оборудование бульдозерное сферическое
Оборудование бульдозерное полусферическое
Оборудование бульдозерное полусферическое
Отвал
Отвал
Раскос винтовой
Гидросистема бульдозерного оборудования
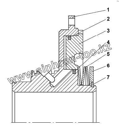
1
2
3
4
5
6
7
Позиция на иллюстрации
Заводской номер детали
Название детали
1
2501-12-212
Корпус
2
2501-12-181-04
Кольцо уплотнительное
3
2501-12-213
Поршень
4
2501-12-181
Кольцо уплотнительное
5
2501-12-71
Тарелка
6
2501-12-72
Кольцо
7
2501-12-77
Кольцо
Содержащиеся в справочниках-каталогах запасные части и детали не предлагаются к продаже, а носят исключительно информационный характер
Дополнительная информация
×
Название:
Номер:
Примечание: