Каталог запасных частей к технике: Промтрактор Т-25.01К1. Блок трансмиссии
1
1
2
2
3
4
4
5
5
6
6
7
8
9
10
11
12
13
14
15
16
17
17
18
18
19
19
20
21
22
23
23
24
25
25
26
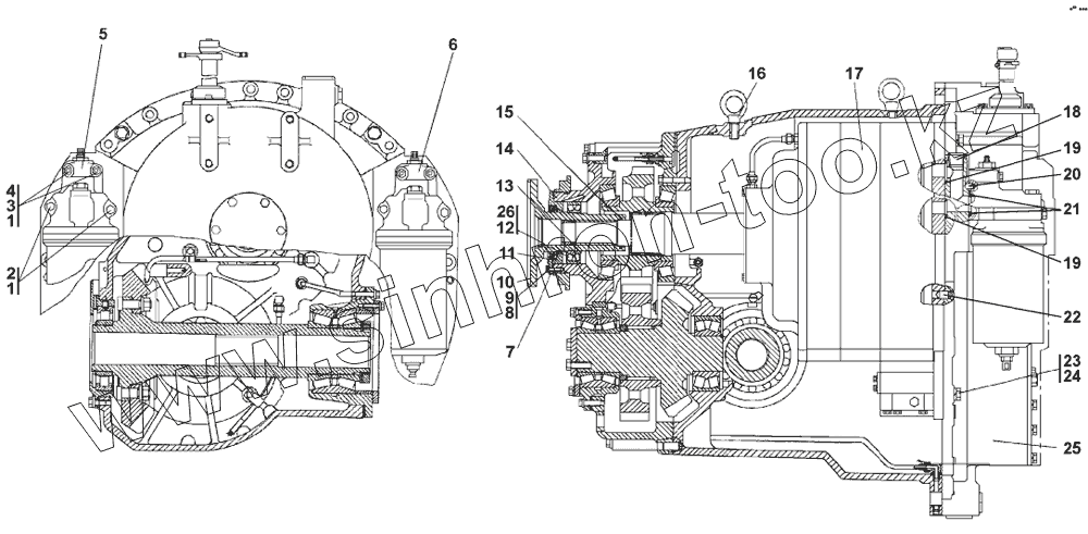
| Позиция на иллюстрации | Заводской номер детали | Название детали | |
|---|---|---|---|
| 1 | Шайба12ОТ | Шайба12ОТ | |
| 2 | 285389-01 | Болт | |
| 2 | 285389-01-20 | Болт | |
| 3 | ГайкаМ12х1,25 | Гайка М12х1,25 | |
| 4 | 290560 | Шпилька М16х(2-3п)/(1,5-6g)х55.66.013 ГОСТ 22034-76 | |
| 4 | 290560-20 | Шпилька М16х(2-3n/1,5-6g)х55 | |
| 5 | 2601-15-10-02CП(SP) | Фильтр | |
| 5 | 2601-15-10-02-20СП | Фильтр | |
| 6 | 2601-15-10-03СП(SP) | Фильтр | |
| 6 | 2601-15-10-03-20СП | Фильтр | |
| 7 | 2501-12-242 | Крышка | |
| 8 | Шайба8Т | Шайба 8Т | |
| 9 | БолтМ8-6gх25 | Болт М8-6gх25 | |
| 10 | 2501-12-181СП(SP) | Фланец | |
| 11 | 95-120-12 | Манжета 95-120-12 | |
| 12 | 3516Н | Подшипник 3516Н | |
| 13 | 700-58-2122 | Кольцо С80 ГОСТ 13940-86 | |
| 14 | 150-155-36-2-51-1668 | Кольцо 150-155-36-2-51-1668 | |
| 15 | 060-070-58-2-51-1668 | Кольцо ГОСТ 18829-73/ТУ 38.005.204-84 | |
| 16 | 700-28-2124 | Рым-болт М20.05 ГОСТ 4751-73 | |
| 17 | 2501-12-15СП(SP) | Передача главная | |
| 17 | 2501-12-15-20СП(SP) | Передача главная | |
| 18 | 370710 | Пробка | |
| 18 | 370710-20 | Пробка | |
| 19 | 042-050-46-2-51-1668 | Кольцо ГОСТ 18829-73/ТУ 38.005.204-84 | |
| 20 | 325383 | Штифт | |
| 21 | 030-035-30-2-ИПР-1314-1 | Кольцо 030-035-30-2-ИПР-1314-1 | |
| 22 | 325463 | Штифт | |
| 23 | 280550 | Болт М16х1,5-6gх50.109.40Х019 ГОСТ 7796-70 | |
| 23 | 280550-20 | Болт М16х1,5-6gх50.109.40Х029 ГОСТ 7796-70 | |
| 24 | Шайба16 | Шайба 16 | |
| 25 | 2501-12-19СП(SP) | Коробка передач с системой гидроуправления | |
| 25 | 2501-12-19-20СП(SP) | Коробка передач с системой гидроуправления | |
| 26 | 22216МВW33 | Подшипник 22216МВW33 |
Содержащиеся в справочниках-каталогах запасные части и детали не предлагаются к продаже, а носят исключительно информационный характер