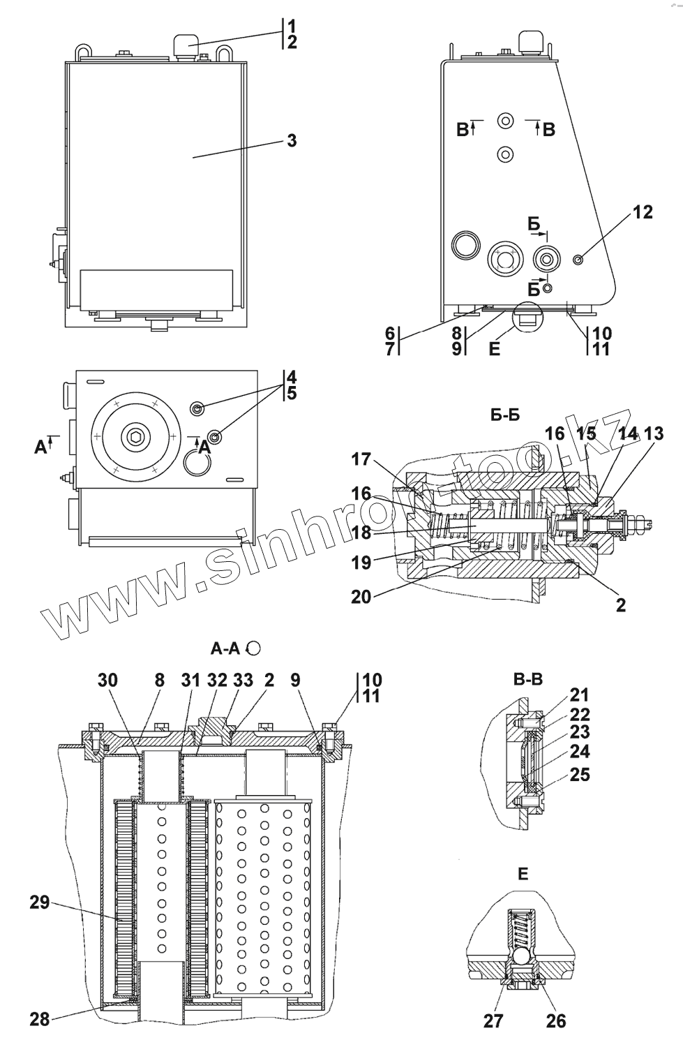
Каталог запасных частей к технике: Промтрактор Т-25.01К1. Бак гидросистемы
1
1
2
2
2
3
3
4
4
5
6
6
7
8
8
8
9
9
10
10
11
11
12
13
13
14
15
15
16
16
17
18
19
20
21
22
23
24
25
25
26
26
27
28
28
29
30
31
32
33
33
| Позиция на иллюстрации | Заводской номер детали | Название детали | |
|---|---|---|---|
| 1 | 4626-303-20СП(SP) | Сапун | |
| 1 | 46-26-303СП(SP) | Сапун | |
| 2 | 045-050-30-2-51-1668 | Кольцо ГОСТ 9833-73/ГОСТ 18829-73 | |
| 3 | 2501-26-255СП(SP) | Бак | |
| 3 | 2501-26-255-20СП(SP) | Бак | |
| 4 | 375245 | Пробка | |
| 4 | 375245-20 | Пробка | |
| 5 | 007-011-25-2-51-1668 | Кольцо ГОСТ 18829-73/ТУ 38.005.204-84 | |
| 6 | 375625 | Пробка | |
| 6 | 375625-20 | Пробка | |
| 7 | 018-022-25-2-51-1668 | Кольцо | |
| 8 | 2501-26-178-20 | Крышка | |
| 8 | 2501-26-178 | Крышка | |
| 9 | 270-280-58-2-3 | Кольцо ГОСТ 18829-73 | |
| 10 | БолтМ12х1.25-6gх25 | Болт М12х1.25-6gх25 | |
| 11 | Шайба12ОТ | Шайба12ОТ | |
| 12 | ТУ.37.003.569-90 | Датчик сигнализатора температуры ТМ111-01 | |
| 13 | 3501-15-16СП(SP) | Пробка | |
| 13 | 3501-15-16-20СП(SP) | Пробка | |
| 14 | 024-028-25-2-51-1668 | Кольцо 024-028-25-2-51-1668 | |
| 15 | 1101-26-181 | Крышка | |
| 15 | 1101-26-181-20 | Крышка | |
| 16 | 700-38-2280 | Пружина | |
| 17 | 313502-26-260 | Клапан | |
| 18 | 2501-26-192СП(SP) | Шток | |
| 19 | 2501-26-185 | Втулка | |
| 20 | 700-38-2183 | Пружина | |
| 21 | ВинтВ.М6-6gх12 | Винт В.М6-6gх12 | |
| 22 | 400089 | Уплотнение | |
| 23 | 46-26-1317 | Стекло | |
| 24 | 46-26-957 | Отражатель | |
| 25 | 46-26-964 | Крышка | |
| 25 | 46-26-964-20 | Крышка | |
| 26 | 1101-16-112СП(SP) | Клапан | |
| 26 | 1101-16-112-20СП(SP) | Клапан | |
| 27 | 040-045-30-2-51-1668 | Кольцо 040-045-30-2-51-1668 | |
| 28 | 400380 | Прокладка | |
| 28 | 400380-20 | Прокладка | |
| 29 | ТУ3117.008.00232058 | Элемент фильтрующий ЭФМ020.1012040 | |
| 30 | 3501-26-105СП(SP) | Стакан | |
| 31 | 700-38-2332 | Пружина | |
| 32 | 3501-26-14 | Проставка | |
| 33 | 375970 | Пробка | |
| 33 | 375970-20 | Пробка |
Содержащиеся в справочниках-каталогах запасные части и детали не предлагаются к продаже, а носят исключительно информационный характер