Каталог запасных частей к технике: Промтрактор Т-20.02Я (Четра). Установка трансмиссии
1
1
2
2
3
3
3
3
3
3
4
4
5
5
6
7
7
9
10
11
11
12
13
14
14
15
16
16
18
19
20
20
20
20
21
21
21
22
22
23
24
24
25
25
26
26
27
27
28
29
30
31
31
32
32
33
34
34
35
35
36
36
37
37
38
38
39
40
40
41
41
42
43
44
45
46
47
48
48
49
49
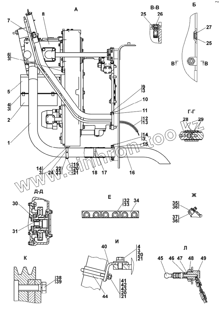
| Позиция на иллюстрации | Заводской номер детали | Название детали | |
|---|---|---|---|
| 1 | 2001-16-47-20 | Труба | |
| 1 | 2001-16-47 | Труба | |
| 2 | 2001-16-109-20СП(SP) | Кожух | |
| 2 | 2001-16-109СП(SP) | Кожух | |
| 3 | Шайба12.ОТ | Шайба 12.ОТ | |
| 4 | БолтМ12х1,25-6gх25 | Болт М12х1,25-6gх25 | |
| 5 | 2001-16-108СП(SP) | Кожух | |
| 5 | 2001-16-108-20СП(SP) | Кожух | |
| 6 | БолтМ12-6gх25 | Болт М12-6gх25 | |
| 7 | 46-14-141СП(SP) | Сапун | |
| 7 | 46-14-141-20СП(SP) | Сапун | |
| 9 | БолтМ8-6gх35 | Болт М8-6gх35 | |
| 10 | Кольцо080-090-58-2-51-1668 | Кольцо | |
| 11 | 2001-16-105СП(SP) | Горловина | |
| 11 | 2001-16-105-20СП(SP) | Горловина | |
| 12 | 3501-16-102-07СП(SP) | Линейка | |
| 13 | 700-40-6575 | Прокладка | |
| 14 | БолтМ12-6gх30 | Болт М12-6gх30 | |
| 15 | Кольцо100-110-58-2-ИРП-1314-1 | Кольцо 100-110-58-2-ИРП-1314-1 | |
| 16 | 2001-16-100-01СП(SP) | Трубопровод | |
| 16 | 2001-16-100-01-20СП | Трубопровод | |
| 18 | 461701-04 | Рукав | |
| 19 | БолтМ8-6gх70 | Болт М8-6gх70 | |
| 20 | 310140 | Шайба 8.01.10.019 ГОСТ 6958-78 | |
| 20 | 310140-20 | Шайба 8.01.10.0221 ГОСТ 6958-78 | |
| 21 | Шайба8 | Шайба | |
| 22 | 312501-94-105 | Бугель | |
| 22 | 312501-94-105-20 | Бугель | |
| 23 | 400040 | Уплотнение | |
| 24 | 2001-16-101СП(SP) | Опора | |
| 24 | 2001-16-101-20СП(SP) | Опора | |
| 25 | Кольцо040-045-30-2-51-1668 | Кольцо | |
| 26 | 1101-16-112СП(SP) | Клапан | |
| 26 | 1101-16-112-20СП(SP) | Клапан | |
| 27 | 375969 | Пробка | |
| 27 | 375969-20 | Пробка | |
| 28 | 580515 | Кольцо С52 ГОСТ 13943-86 | |
| 29 | 2001-16-28 | Муфта | |
| 30 | 2001-16-32 | Муфта | |
| 31 | 580307 | Кольцо С34 ГОСТ 13940-86 | |
| 31 | 580665 | Кольцо С70 ГОСТ 13941-86 | |
| 32 | 280733 | Болт М20-6gх70.109.40Х019 ГОСТ 7796-70 | |
| 32 | 280733-20 | Болт М20-6gх70.109.40Х029 ГОСТ 7796-70 | |
| 33 | Шайба20ОТ | Шайба 20 ОТ | |
| 34 | 2001-16-43 | Планка | |
| 34 | 2001-16-43-20 | Планка | |
| 35 | 2501-20-8 | Болт зажимной | |
| 35 | 2501-20-8-20 | Болт зажимной | |
| 36 | 018-022-25-2-51-1668 | Кольцо | |
| 37 | 1101-15-40 | Угольник | |
| 37 | 1101-15-40-20 | Угольник | |
| 38 | 2001-16-44 | Болт специальный | |
| 38 | 2001-16-44-20 | Болт специальный | |
| 39 | Шайба10 | Шайба 10 | |
| 40 | 2001-16-15 | Кронштейн | |
| 40 | 2001-16-15-20 | Кронштейн | |
| 41 | 2501-15-107 | Хомут | |
| 41 | 2501-15-107-20 | Хомут | |
| 42 | ГайкаМ8 | Гайка | |
| 43 | Шайба8Т | Шайба 8Т | |
| 44 | 2501-12-170 | Пластина | |
| 45 | МБШ14/35-12 | Вилка резиновая | |
| 46 | МБШ14/35-02 | Вилка МБШ14/35-02 | |
| 47 | МБШ14/35-00ГЧ | Вилка МБШ14/35-00ГЧ | |
| 48 | 300365 | Гайка М24х2-6Н.04.019 ГОСТ 15522-70 | |
| 48 | 300365-20 | Гайка М24х2-6Н.04.029 ГОСТ 15522-70 | |
| 49 | 4001-16-28 | Муфта | |
| 49 | 4001-16-28-20 | Муфта |
Содержащиеся в справочниках-каталогах запасные части и детали не предлагаются к продаже, а носят исключительно информационный характер