Каталог запасных частей к технике: Промтрактор Т-20.02Я (Четра). Установка систем воздухоочистки и выпуска
1
1
2
2
3
3
4
4
4
5
5
5
6
6
7
8
9
10
11
11
12
13
13
14
15
15
16
17
18
18
19
20
21
21
21
22
23
24
24
25
25
26
26
26
27
28
29
30
30
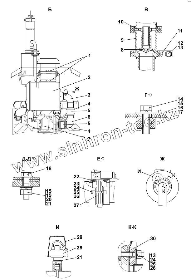
| Позиция на иллюстрации | Заводской номер детали | Название детали | |
|---|---|---|---|
| 1 | 285230-20 | Болт | |
| 1 | 285230 | Болт | |
| 2 | 1502-05-12-20СП(SP) | Воздухоочиститель | |
| 2 | 1502-05-12СП(SP) | Воздухоочиститель | |
| 3 | 1502-05-16СП(SP) | Воздуховод | |
| 3 | 1502-05-16-20СП(SP) | Воздуховод | |
| 4 | 46-47-189-03СП(SP) | Хомут | |
| 4 | 46-47-189-03-20СП(SP) | Хомут | |
| 5 | 461901-05 | Рукав | |
| 5 | 461901-05-20 | Рукав | |
| 6 | 1502-05-14-20СП(SP) | Воздуховод | |
| 6 | 1502-05-14СП(SP) | Воздуховод | |
| 7 | 850.1118260 | Прокладка патрубка выпускного | |
| 8 | 0602-05-46 | Клапан | |
| 9 | 0602-05-45 | Корпус | |
| 10 | 0602-05-32СП(SP) | Направляющая | |
| 11 | 403-05-25 | Хомут | |
| 11 | 403-05-25-20 | Хомут | |
| 12 | БолтМ8-6gх30 | Болт М8-6gх30 | |
| 13 | ГайкаМ8 | Гайка | |
| 14 | БолтМ12х1,25-6gх40 | Болт М12х1,25-6gх40 | |
| 15 | Шайба12ОТ | Шайба12ОТ | |
| 16 | Шайба12 | Шайба 12 | |
| 17 | Шайба12 | Шайба 12 | |
| 18 | 280361 | Болт М12х1,25-6gх45.109.40Х019 ГОСТ 7796-70 | |
| 18 | 280361-20 | Болт М12х 1,25-6gх45.109.40Х029 ГОСТ 7796-70 | |
| 19 | ГайкаМ12х1,25 | Гайка М12х1,25 | |
| 20 | Шайба12 | Шайба 12 | |
| 21 | 310210 | Шайба 12х2.01.10.019 ГОСТ 11371-78 | |
| 21 | 310210-20 | Шайба 12х2.01.10.0221 ГОСТ 11371-78 | |
| 22 | 108-115-46-2-3 | Кольцо 108-115-46-2-3 | |
| 23 | БолтМ8-6gх70 | Болт М8-6gх70 | |
| 24 | Шайба8Т | Шайба 8Т | |
| 25 | Шайба8 | Шайба | |
| 26 | 310150 | Шайба 8.01.08кп.019 ГОСТ 11371-78 | |
| 26 | 310150-20 | Шайба 8.01.08кп.0221 ГОСТ 11371-78 | |
| 27 | 8401.1030232 | Заслонка аварийного останова с приводом 8401.1030232 | |
| 28 | 404-05-92 | Колпачок защитный | |
| 29 | 13.3839.600 | Датчик сигнализатора засоренности воздушного фильтра | |
| 30 | 450033 | Прокладка | |
| 30 | 450033-20 | Прокладка |
Содержащиеся в справочниках-каталогах запасные части и детали не предлагаются к продаже, а носят исключительно информационный характер