Вернуться на главную
Поиск
Каталоги запчастей к технике
Спецтехника
Промтрактор
Т-20.02К (Четра)
Водило
Каталог запасных частей к технике: Промтрактор Т-20.02К (Четра). Водило
zoom-in
zoom-out
enlarge
shrink
circle-right
circle-left
file-text2
info
cart
Тип техники
Не выбрано
Легковые автомобили
Грузовые автомобили и прицепы
Автобусы
Сельхозтехника
Спецтехника
Двигатели
Мототехника
Марка
Не выбрано
Ammann
BOMAG
CARMIX
CASE IH
Changlin
ChengGong
Dimex
Doosan
DYNAPAC
Foton
HAMM
Hidromek
Hitachi
Hyundai
JCB
JLG
John Deere
Komatsu
LIEBHERR
LiuGong
Lonking (LongGong)
Luneng
MANITOU
Mitsuber
New Holland
PENGPU
RM-Terex
SANY
SDLG
SEM
Shantui
Shehwa HBXG
Soosan
TIGARBO
VOGELE
Volvo
WAY
WIRTGEN
XCMG
XGMA
Xiamen
YTO
Yuchai
Zoomlion
Автокран
АЗСМ
Алтайлесмаш
Амкодор
АОМЗ
Атек
АТЗ
Балканкар Рекорд
БелАЗ
Беловеж
Борекс
Брянский Арсенал
Булат
ВЭКС
ГАЗ
Геомаш
Гидромаш
Донекс
Дормаш
Дормашина
Дорэлектромаш
ДЭЗ
ЕлАЗ
ЗЗГТ
Ижнефтемаш
Канаш-электрокар
КЗКТ
ККЗ
Клевер
Клинцовский автокрановый завод
КМЗ
КМЗ 1 Мая
Ковровец
Коммаш
Кранэкс
КЭЗ
КЭМЗ
ЛЗА
МАЗ
МЗИК
МЗКМ
МЗКТ
Михневский РМЗ
МоАЗ
Мозырский МЗ
МТЗ
ОЗП
Онежец
ПАО "ТЗА"
ППС Детва
Промтрактор
ПТЗ
Раскат
СпецАгрегат
ТВЭКС
ТТМ
УВЗ
Угличмаш
УЗТМ
ХТЗ
ЧЗКМ
ЧСДМ
ЧТЗ
ЭКСКО
ЭКСМАШ
ЮрМаш
Модель
Не выбрано
ПК-12.02 (2007)
ПК-12.02К (2007)
ПК-60.01 (2007)
Т-11.01К (2008)
Т-11.01Я
Т-11.02К (2008)
Т-11.02Я (2008)
Т-15.01К (2007)
Т-15.01Я (2000)
Т-15.02K (2009)
Т-15.02Я (2009)
Т-20.01К
Т-20.01Я (2000)
Т-20.01Я (2005) (2005)
Т-20.02К (Четра) (2009)
Т-20.02Я (Четра) (2009)
Т-25.01К1 (2008)
Т-25.01Я (2006)
Т-330 (2006)
Т-35.01К (2007)
Т-35.01Я
Т-40.01К (2008)
Т-50.01 (1998)
Т-500 (1999)
Т-9.01Я (2007)
ТГ-121Я (2004)
ТГ-221КМ (2006)
ТГ-221Я (2004)
ТГ-301К (2006)
ТГ-301Я (2004)
ТГ-302Я (2010)
ТГ-503К (2006)
ТГ-503Я (2006)
ТГ-511 (2008)
Шасси ТП-20.02 (2008)
Схема
>
Не выбрано
Кабина
Кабина
Кабина
Кабина
Кабина
Кабина
Кабина
Кабина
Кабина
Кабина
Кабина
Установка отопителя кабины
Управление трактором
Облицовка
Облицовка
Установка независимого отопителя кабины
Установка независимого отопителя кабины
Установка защиты кабины
Установка кондиционера
Пол
Установка сиденья
Установка вентиляторов кабины
Машинокомплект деталей и сборочных единиц интерьера кабины «Четра»
Установка двигателя QSM11-C «Cummins»
Установка двигателя QSM11-C «Cummins»
Установка систем воздухоочистки и выпуска
Воздухоочиститель
Установка топливного бака
Установка топливного бака
Бак топливный
Установка системы подогрева
Система охлаждения
Установка радиаторная
Рама
Балка
Система ходовая полужесткая
Тележка полужесткая
Каток поддерживающий
Шарнир
Механизм сдавания
Каток опорный
Гусеница
Колесо натяжное
Механизм натяжения
Установка кожухов
Установка трансмиссии
Установка трансмиссии
Передача бортовая, фрикцион и тормоз
Передача бортовая
Водило
Блок трансмиссии
Передача главная
Коробка передач с системой гидроуправления
Коробка передач планетарная
Водило
Водило
Водило
Бустер
Гидротрансформатор с редуктором привода насосов
Гидротрансформатор с редуктором привода насосов
Гидротрансформатор с редуктором привода насосов
Фрикцион бортовой и тормоз остановочный
Клапан
Клапан
Клапан
Блок управления
Клапан
Клапан
Муфта упругая
Вал карданный
Установка гидросистемы
Установка гидросистемы
Установка гидросистемы
Установка гидросистемы
Установка гидросистемы
Установка гидросистемы
Установка гидроцилиндров
Установка гидроцилиндров
Установка распределителя
Установка распределителя
Бак гидросистемы
Гидроцилиндр d.125
Устройство перепускное
Клапан
Оборудование бульдозерное полусферическое
Оборудование бульдозерное полусферическое
Отвал
Гидросистема бульдозерного оборудования
Гидрораскос d.160
Оборудование рыхлительное
Оборудование рыхлительное
Зуб
Гидросистема рыхлительного оборудования
Гидроцилиндр d.160
Оборудование рыхлительное
Оборудование рыхлительное
Зуб
Установка прицепного устройства
Агрегат тяговый
Агрегат тяговый
Лебедка
Лебедка
Водило
Механизм планетарный
Бустер
Клапан
Электрооборудование
Электрооборудование
Установка электрооборудования на раме
Электрооборудование пола кабины
Электрооборудование пола кабины
Электрооборудование передней облицовки
Электрооборудование топливного бака
Электрооборудование трансмиссии
Установка управления навесным оборудованием
Электрооборудование контейнера АКБ
Электрооборудование контейнера отопителя
Щиток приборов
Электрооборудование двигателя
Электрооборудование крыши кабины
Электрооборудование крыши кабины
Электрооборудование крыши кабины
Электрооборудование крыши кабины
Щиток выключателей
Электрооборудование лебедки
Общий вид трактора
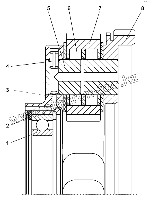
1
1
2
3
4
5
6
6
7
8
Позиция на иллюстрации
Заводской номер детали
Название детали
1
ГОСТ8338-75
Подшипник
1
61922МА.Р6Q6
Подшипник 61922МА.Р6Q6
2
580850
Кольцо С150Ц9хр ГОСТ 13941-86
3
2001-12-27
Кольцо упорное
4
2001-12-111СП(SP)
Штифт
5
2001-12-28
Ось
6
2001-12-118СП(SP)
Водило
6
6-252807Д
Подшипник 6-252807Д
7
2001-12-26
Сателлит
8
2001-12-44
Водило
Содержащиеся в справочниках-каталогах запасные части и детали не предлагаются к продаже, а носят исключительно информационный характер
Дополнительная информация
×
Название:
Номер:
Примечание: