Каталог запасных частей к технике: Промтрактор Т-20.02К (Четра). Кабина
1
1
1
1
2
2
2
3
4
5
5
6
7
8
8
9
10
10
11
12
12
13
13
14
14
15
16
16
17
18
19
19
20
21
22
22
23
24
24
25
25
26
27
27
28
29
30
30
31
31
32
33
34
35
35
36
37
37
38
39
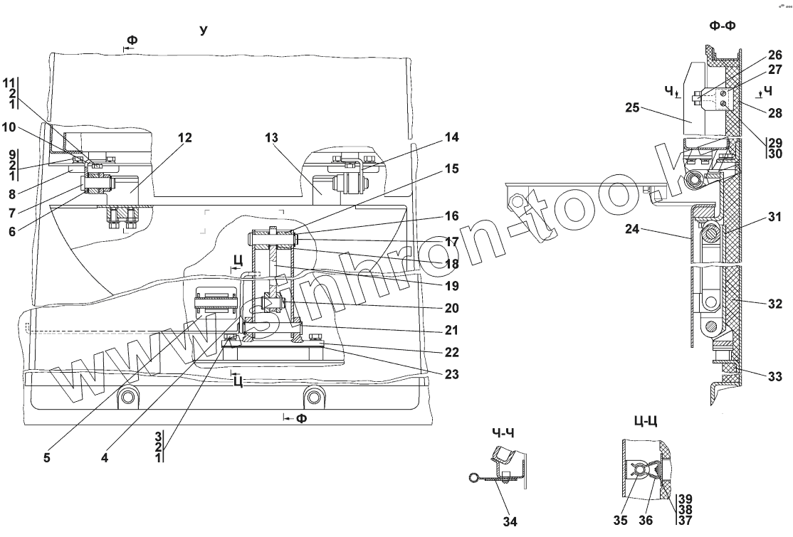
| Позиция на иллюстрации | Заводской номер детали | Название детали | |
|---|---|---|---|
| 1 | ГОСТ11371-78 | Шайба | |
| 2 | ГОСТ6402-70 | Шайба | |
| 3 | ГОСТ7796-70 | Болт | |
| 4 | 2501-89-93 | Торсион | |
| 5 | 2501-89-30 | Крышка | |
| 5 | 2501-89-30-20 | Крышка | |
| 6 | 2501-89-27 | Шайба | |
| 7 | 2501-89-28-01 | Ось | |
| 8 | 2501-89-156СП(SP) | Кронштейн | |
| 8 | 2501-89-156-20СП(SP) | Кронштейн | |
| 9 | ГОСТ7796-70 | Болт | |
| 10 | 2501-89-26-01 | Кронштейн | |
| 10 | 2501-89-26-01-20 | Кронштейн | |
| 11 | ГОСТ7796-70 | Болт | |
| 12 | 2501-89-106-20СП(SP) | Кронштейн | |
| 12 | 2501-89-106СП(SP) | Кронштейн | |
| 13 | 2501-89-106-01СП(SP) | Кронштейн | |
| 13 | 2501-89-106-01-20СП-20SP | Кронштейн | |
| 14 | 2501-89-26 | Кронштейн | |
| 14 | 2501-89-26-20 | Кронштейн | |
| 15 | 2501-89-206 | Втулка | |
| 16 | 315185 | Шайба | |
| 16 | 315185-20 | Шайба | |
| 17 | 2501-89-28-02 | Ось | |
| 18 | ГОСТ11371-78 | Шайба | |
| 19 | 2501-89-29 | Штанга | |
| 19 | 2501-89-29-20 | Штанга | |
| 20 | 2501-89-28 | Ось | |
| 21 | 2501-89-92 | Ось | |
| 22 | 2501-89-155СП(SP) | Кронштейн | |
| 22 | 2501-89-155-20СП(SP) | Кронштейн | |
| 23 | 2501-89-34 | Пластина | |
| 24 | 3501-24-166СП(SP) | Каркас | |
| 24 | 3501-24-166-20СП(SP) | Каркас | |
| 25 | 2501-89-140СП(SP) | Каркас | |
| 25 | 2501-89-140-20СП(SP) | Каркас | |
| 26 | 2501-89-32 | Пружина | |
| 27 | 2501-89-33 | Накладка | |
| 27 | 2501-89-33-20 | Накладка | |
| 28 | 2501-89-64 | Панель | |
| 29 | ГОСТ17473-80 | Винт | |
| 30 | 310110 | Шайба 6.01.08кп.019 ГОСТ 11371-78 | |
| 30 | 310110-20 | Шайба 6.01.08кп.0221 ГОСТ 11371-78 | |
| 31 | 2501-89-205 | Упор | |
| 31 | 2501-89-205-20 | Упор | |
| 32 | 2501-89-65 | Панель | |
| 33 | 2501-89-66 | Панель | |
| 34 | 2501-89-186 | Упор | |
| 35 | 2501-89-31 | Скоба | |
| 35 | 2501-89-31-20 | Скоба | |
| 36 | 2501-89-188 | Упор | |
| 37 | 310080 | Шайба 5.01.10.019 ГОСТ 11371-78 | |
| 37 | 310080-20 | Шайба 5.01.10.0221 ГОСТ 11371-78 | |
| 38 | ГОСТ6402-70 | Шайба | |
| 39 | ГОСТ17473-80 | Винт |
Содержащиеся в справочниках-каталогах запасные части и детали не предлагаются к продаже, а носят исключительно информационный характер