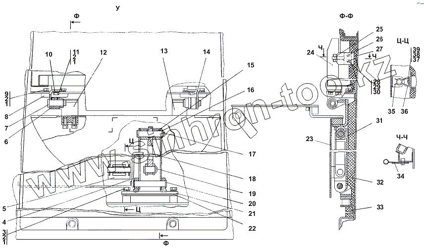
Каталог запасных частей к технике: Промтрактор Т-20.01Я (2005). 1101-111-07СП Кабина
1
1
1
1
2
2
2
3
4
5
5
6
7
8
8
9
10
10
11
12
13
14
14
15
16
16
17
18
18
19
20
21
22
23
24
24
25
26
26
27
28
29
30
30
31
31
32
33
34
35
35
36
37
37
38
39
| Позиция на иллюстрации | Заводской номер детали | Название детали | |
|---|---|---|---|
| 1 | 31 0150-20 | Шайба 8.01.08кп.0221 ГОСТ 11371-78 | |
| 1 | 31 0150 | Шайба 8 ГОСТ 11371-78 | |
| 2 | Шайба 8Т | Шайба 8Т | |
| 3 | Болт М8-6gx30 | Болт М8-6gx30 | |
| 4 | 2501-89-93 | Торсион | |
| 5 | 2501-89-30-20 | Крышка | |
| 5 | 2501-89-30 | Крышка | |
| 6 | 2501-89-27 | Шайба | |
| 7 | 2501-89-28-01 | Ось | |
| 8 | 2501-89-156-20СП | Кронштейн | |
| 8 | 2501-89-156СП | Кронштейн | |
| 9 | Болт М8-6gx20 | Болт М8-6gx20 | |
| 10 | 2501-89-26-01-20 | Кронштейн | |
| 10 | 2501-89-26-01 | Кронштейн | |
| 11 | Болт М8-6gx16 | Болт М8-6gx16 | |
| 12 | 2501-89-106СП | Кронштейн | |
| 13 | 2501-89-106-01СП | Кронштейн | |
| 14 | 2501-89-26-20 | Кронштейн | |
| 14 | 2501-89-26 | Кронштейн | |
| 15 | 2501-89-206 | Втулка | |
| 16 | 31 5185-20 | Шайба | |
| 16 | 31 5185 | Шайба | |
| 17 | 2501-89-28-02 | Ось | |
| 18 | 2501-89-29 | Штанга | |
| 18 | 2501-89-29-20 | Штанга | |
| 19 | 2501-89-28 | Ось | |
| 20 | 2501-89-92 | Ось | |
| 21 | 2501-89-155СП | Кронштейн | |
| 22 | 2501-89-34 | Пластина | |
| 23 | 2501-89-169СП | Каркас | |
| 24 | 2501-89-140СП | Каркас | |
| 24 | 2501-89-140-20СП | Каркас | |
| 25 | 2501-89-32 | Пружина | |
| 26 | 2501-89-33-20 | Накладка | |
| 26 | 2501-89-33 | Накладка | |
| 27 | 2501-89-64 | Панель | |
| 28 | Винт В.М6-6gx16 | Винт В.М6-6gx16 | |
| 29 | Шайба 6Т | Шайба 6Т | |
| 30 | 31 0110 | Шайба 6.01.08кп.019 ГОСТ 11371-78 | |
| 30 | 31 0110-20 | Шайба 6.01.08кп.0221 ГОСТ 11371-78 | |
| 31 | 2501-89-205-20 | Упор | |
| 31 | 2501-89-205 | Упор | |
| 32 | 2501-89-65 | Панель | |
| 33 | 2501-89-66 | Панель | |
| 34 | 2501-89-186 | Упор | |
| 35 | 2501-89-31-20 | Скоба | |
| 35 | 2501-89-31 | Скоба | |
| 36 | 2501-89-188 | Упор | |
| 37 | 31 0080 | Шайба 5.01.10.019 ГОСТ 11371-78 | |
| 37 | 31 0080-20 | Шайба 5.01.10.0221 ГОСТ 11371-78 | |
| 38 | Шайба 5 | Шайба 5 | |
| 39 | Винт В.М5-6gx16 | Винт В.М5-6gx16 |
Содержащиеся в справочниках-каталогах запасные части и детали не предлагаются к продаже, а носят исключительно информационный характер