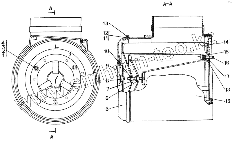
Каталог запасных частей к технике: Промтрактор Т-20.01Я. Воздухоочиститель
1
1
2
2
3
4
5
5
6
6
7
7
8
8
9
9
10
10
11
12
13
14
14
15
15
16
16
17
17
18
18
19
19
| Позиция на иллюстрации | Заводской номер детали | Название детали | |
|---|---|---|---|
| 2002-05-13СП | 2002-05-13СП | Воздухоочиститель | |
| 2002-05-13-20СП | 2002-05-13-20СП | Воздухоочиститель | |
| 1 | 290115 | Шпилька М8(3n/6g)х16.66.013 ГОСТ 22034-76 | |
| 1 | 290115-20 | Шпилька М8(3п/6g)х16.66.029 ГОСТ 22034-76 | |
| 2 | 310150 | Шайба 8.01.08кп.019 ГОСТ 11371-78 | |
| 2 | 310150-20 | Шайба 8.01.08кп.0221 ГОСТ 11371-78 | |
| 3 | Шайба 8Т.65Г ГОСТ 6402-70 | Шайба 8Т.65Г ГОСТ 6402-70 | |
| 4 | Гайка М8-7Н.6 ГОСТ 5915-70 | Гайка М8-7Н.6 ГОСТ 5915-70 | |
| 5 | 46-05-351-20-СП | Крышка | |
| 5 | 46-05-351-СП | Крышка | |
| 6 | 400222 | Прокладка | |
| 6 | 400222-20 | Прокладка | |
| 7 | 46-05-764 | Шайба | |
| 7 | 46-05-764-20 | Шайба | |
| 8 | 315185 | Шайба | |
| 8 | 315185-20 | Шайба | |
| 9 | 46-05-366-СП | Ручка | |
| 9 | 46-05-366-20-СП | Ручка | |
| 10 | 46-05-763 | Гайка | |
| 10 | 46-05-763-20 | Гайка | |
| 11 | 400063-02 | Прокладка | |
| 12 | 400034-02 | Прокладка | |
| 13 | 46-05-774 | Кант №27 | |
| 14 | 46-05-342-20-СП | Фильтр | |
| 14 | 46-05-342-СП | Фильтр | |
| 15 | 46-05-343-СП | Фильтр | |
| 15 | 46-05-343-20-СП | Фильтр | |
| 16 | 290130 | Шпилька М8(3n/6g)х32.66.013 ГОСТ 22034-76 | |
| 16 | 290130-20 | Шпилька М8(3n/6g)х32.66.023 ГОСТ 22034-76 | |
| 17 | 450033 | Прокладка | |
| 17 | 450033-20 | Прокладка | |
| 18 | 46-05-355-20-СП | Центратор | |
| 18 | 46-05-355-СП | Центратор | |
| 19 | 2002-05-12-20СП | Корпус | |
| 19 | 2002-05-12СП | Корпус |
Содержащиеся в справочниках-каталогах запасные части и детали не предлагаются к продаже, а носят исключительно информационный характер