Каталог запасных частей к технике: Промтрактор Т-20.01Я. Система отопления и вентиляции кабины
1
1
2
2
2
2
2
2
2
3
3
3
4
4
4
4
5
6
7
8
9
10
11
11
12
13
14
14
14
14
15
15
15
15
16
17
18
19
19
20
20
21
22
23
23
23
24
24
24
25
26
28
29
30
31
32
33
34
35
35
35
36
37
38
39
40
41
42
43
44
44
45
46
47
48
49
50
50
51
52
53
54
55
56
57
58
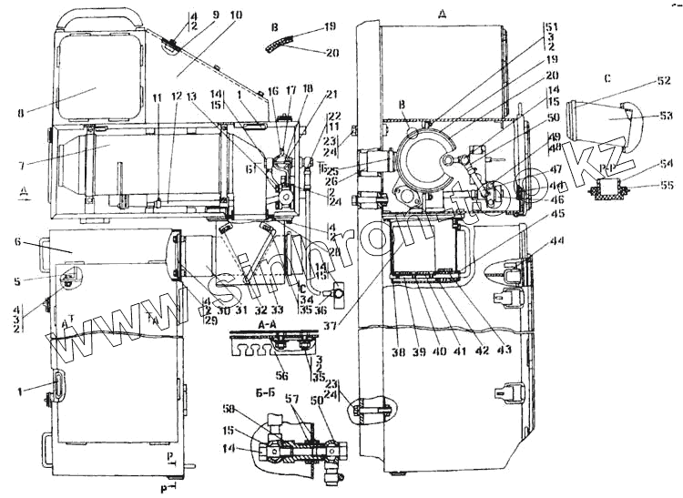
| Позиция на иллюстрации | Заводской номер детали | Название детали | |
|---|---|---|---|
| 2001-53-1-20СП | 2001-53-1-20СП | Система отопления и вентиляции кабины | |
| 2001-53-47 | 2001-53-47 | Крышка | |
| 2001-53-1СП | 2001-53-1СП | Система отопления и вентиляции кабины | |
| 1 | 400085 | Опора | |
| 2 | Шайба 6Т.65Г | Шайба 6Т.65Г | |
| 3 | Гайка М6-7Н | Гайка М6-7Н | |
| 4 | Болт М6-6gх16 | Болт М6-6gх16 | |
| 5 | 461901-02 | Рукав | |
| 6 | 2001-53-12СП | Контейнер | |
| 7 | Установка отопительно-вентиляционная 112 | Установка отопительно-вентиляционная 112.8106010 | |
| 8 | 2001-53-11СП | Контейнер | |
| 9 | 2001-53-49 | Крышка | |
| 10 | 2001-53-58 | Крышка | |
| 11 | Хомут стяжной червячный 11018-У-01 | Хомут стяжной червячный 11018-У-01 | |
| 12 | 460301-04 | Рукав | |
| 13 | 312505-53-238 | Фланец | |
| 14 | 415125 | Болт | |
| 15 | Кольцо 12х16 МН 4152-62 | Кольцо 12х16 МН 4152-62 | |
| 16 | 2501-26-217 | Планка | |
| 17 | 2501-26-216 | Скоба | |
| 18 | 403-43-114СП | Кран | |
| 19 | 2001-53-50 | Скоба | |
| 20 | 700-40-6684 | Прокладка | |
| 21 | 400354-02 | Втулка | |
| 22 | 460301-11 | Рукав | |
| 23 | 280385 | Болт М12х1,25-6gх80.109.40Х.019 ГОСТ 7795-70 | |
| 23 | 280385-20 | Болт М12х1,25-6gх80.109.40Х.029 ГОСТ 7795-70 | |
| 24 | Шайба 12.ОТ.65Г | Шайба 12.ОТ.65Г | |
| 25 | Хомут стяжной червячный 1045-У-02 | Хомут стяжной червячный 1045-У-02 | |
| 26 | 2001-53-53 | Труба | |
| 27 | Болт М12х1,25-6gх25 | Болт М12х1,25-6gх25 | |
| 28 | 2001-53-51СП | Фланец | |
| 29 | 310120 | Шайба 6.01.08кп.019 ГОСТ 6958-78 | |
| 30 | 2001-53-52СП | Фланец | |
| 31 | 2001-53-54 | Кронштейн | |
| 32 | 2001-53-5 | Ограничитель | |
| 33 | 2001-53-10СП | Корпус | |
| 34 | Винт В.М6-6gх12 | Винт В.М6-6gх12 | |
| 35 | 310110 | Шайба 6.01.08кп.019 ГОСТ 11371-78 | |
| 35 | 310110-20 | Шайба 6.01.08кп.0221 ГОСТ 11371-78 | |
| 36 | 2001-53-54СП | Трубопровод | |
| 37 | 2001-53-51 | Заслонка | |
| 38 | 310180 | Шайба 10.01.08кп | |
| 39 | 2001-53-53СП | Ручка | |
| 40 | Винт В.М5-6gх12 | Винт В.М5-6gх12 | |
| 41 | 2001-53-48 | Планка | |
| 42 | 46-27-57 | Кольцо | |
| 43 | 385170 | Пружина | |
| 44 | 2001-53-45 | Ограничитель | |
| 45 | 400305 | Кольцо | |
| 46 | 2001-53-55СП | Фильтр | |
| 47 | 460301-12 | Рукав | |
| 48 | Шайба 8Т.65Г | Шайба 8Т.65Г | |
| 49 | Болт М8-6gх40 | Болт М8-6gх40 | |
| 50 | 2001-53-59 | Штуцер | |
| 51 | 290020 | Шпилька М6х(3n/6g)х16 | |
| 52 | Хомут стяжной червячный 1100-У-02 | Хомут стяжной червячный 1100-У-02 | |
| 53 | 461901-07 | Рукав | |
| 54 | 46-14-199 | Пробка | |
| 55 | 700-40-3141 | Кольцо | |
| 56 | 2001-53-44 | Упор | |
| 57 | Н036.23.022 | Гайка | |
| 58 | 2001-53-55 | Штуцер |
Содержащиеся в справочниках-каталогах запасные части и детали не предлагаются к продаже, а носят исключительно информационный характер