Каталог запасных частей к технике: Промтрактор Т-20.01Я. Механизм натяжения
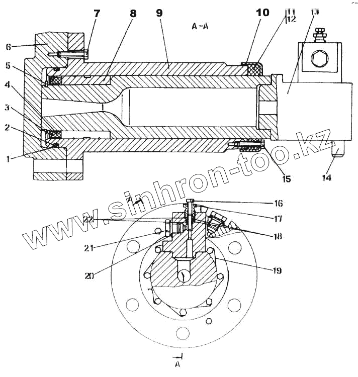
1
1
2
3
4
5
6
7
8
9
10
10
11
12
13
14
15
15
16
16
17
17
18
19
20
21
21
22
| Позиция на иллюстрации | Заводской номер детали | Название детали | |
|---|---|---|---|
| 2001-21-17-01СП | 2001-21-17-01СП | Механизм натяжения | |
| 2001-21-17-20СП | 2001-21-17-20СП | Механизм натяжения | |
| 2001-21-17СП | 2001-21-17СП | Механизм натяжения | |
| 2001-21-60-01СП | 2001-21-60-01СП | Щиток | |
| 2001-21-17-01-20СП | 2001-21-17-01-20СП | Механизм натяжения | |
| 1 | 700-40-4360 | Шайба | |
| 1 | 700-40-4360-20 | Шайба | |
| 2 | Кольцо 115-125-58-2-51-1668 | Кольцо 115-125-58-2-51-1668 | |
| 3 | Кольцо 080-090-58-2-3 | Кольцо 080-090-58-2-3 | |
| 4 | 46-21-978 | Манжета | |
| 5 | 585630 | Кольцо | |
| 6 | 2001-21-126 | Крышка | |
| 7 | Болт М8-6gх35 | Болт М8-6gх35 | |
| 8 | 46-21-203СП | Втулка | |
| 9 | 2001-21-65СП | Цилиндр | |
| 10 | 25-21-39-20 | Крышка | |
| 10 | 25-21-39 | Крышка | |
| 11 | 700-40-3096 | Сальник | |
| 12 | 700-40-3096-02 | Сальник | |
| 13 | 2001-21-60СП | Щиток | |
| 14 | 700-32-2177 | Штифт | |
| 15 | 285140 | Болт | |
| 15 | 285140-20 | Болт | |
| 16 | 46-21-756-20 | Игла | |
| 16 | 46-21-756 | Игла | |
| 17 | 46-21-717 | Пробка | |
| 17 | 46-21-717-20 | Пробка | |
| 18 | 500192 | Кольцо СТ 13-5-7,5 ГОСТ 288-72 | |
| 19 | Проволока КС-1,6 | Проволока КС-1,6 | |
| 20 | 700-40-260-11 | Прокладка | |
| 21 | 375515 | Пробка | |
| 21 | 375515-20 | Пробка | |
| 22 | 46-21-718 | Обойма |
Содержащиеся в справочниках-каталогах запасные части и детали не предлагаются к продаже, а носят исключительно информационный характер