Вернуться на главную
Поиск
Каталоги запчастей к технике
Спецтехника
Промтрактор
Т-20.01Я
Клапан
Каталог запасных частей к технике: Промтрактор Т-20.01Я. Клапан
zoom-in
zoom-out
enlarge
shrink
circle-right
circle-left
file-text2
info
cart
Тип техники
Не выбрано
Легковые автомобили
Грузовые автомобили и прицепы
Автобусы
Сельхозтехника
Спецтехника
Двигатели
Мототехника
Марка
Не выбрано
Ammann
BOMAG
CARMIX
CASE IH
Changlin
ChengGong
Dimex
Doosan
DYNAPAC
Foton
HAMM
Hidromek
Hitachi
Hyundai
JCB
JLG
John Deere
Komatsu
LIEBHERR
LiuGong
Lonking (LongGong)
Luneng
MANITOU
Mitsuber
New Holland
PENGPU
RM-Terex
SANY
SDLG
SEM
Shantui
Shehwa HBXG
Soosan
TIGARBO
VOGELE
Volvo
WAY
WIRTGEN
XCMG
XGMA
Xiamen
YTO
Yuchai
Zoomlion
Автокран
АЗСМ
Алтайлесмаш
Амкодор
АОМЗ
Атек
АТЗ
Балканкар Рекорд
БелАЗ
Беловеж
Борекс
Брянский Арсенал
Булат
ВЭКС
ГАЗ
Геомаш
Гидромаш
Донекс
Дормаш
Дормашина
Дорэлектромаш
ДЭЗ
ЕлАЗ
ЗЗГТ
Ижнефтемаш
Канаш-электрокар
КЗКТ
ККЗ
Клевер
Клинцовский автокрановый завод
КМЗ
КМЗ 1 Мая
Ковровец
Коммаш
Кранэкс
КЭЗ
КЭМЗ
ЛЗА
МАЗ
МЗИК
МЗКМ
МЗКТ
Михневский РМЗ
МоАЗ
Мозырский МЗ
МТЗ
ОЗП
Онежец
ПАО "ТЗА"
ППС Детва
Промтрактор
ПТЗ
Раскат
СпецАгрегат
ТВЭКС
ТТМ
УВЗ
Угличмаш
УЗТМ
ХТЗ
ЧЗКМ
ЧСДМ
ЧТЗ
ЭКСКО
ЭКСМАШ
ЮрМаш
Модель
Не выбрано
ПК-12.02 (2007)
ПК-12.02К (2007)
ПК-60.01 (2007)
Т-11.01К (2008)
Т-11.01Я
Т-11.02К (2008)
Т-11.02Я (2008)
Т-15.01К (2007)
Т-15.01Я (2000)
Т-15.02K (2009)
Т-15.02Я (2009)
Т-20.01К
Т-20.01Я (2000)
Т-20.01Я (2005) (2005)
Т-20.02К (Четра) (2009)
Т-20.02Я (Четра) (2009)
Т-25.01К1 (2008)
Т-25.01Я (2006)
Т-330 (2006)
Т-35.01К (2007)
Т-35.01Я
Т-40.01К (2008)
Т-50.01 (1998)
Т-500 (1999)
Т-9.01Я (2007)
ТГ-121Я (2004)
ТГ-221КМ (2006)
ТГ-221Я (2004)
ТГ-301К (2006)
ТГ-301Я (2004)
ТГ-302Я (2010)
ТГ-503К (2006)
ТГ-503Я (2006)
ТГ-511 (2008)
Шасси ТП-20.02 (2008)
Схема
>
Не выбрано
Кабина
Кабина
Кабина
Пол
Установка защиты кабины
Сиденье
Система отопления и вентиляции кабины
Установка системы подогрева
Установка обогревателя на полу трактора
Установка вентиляторов кабины
Вентилятор
Облицовка
Облицовка
Установка кожухов
Установка двигателя
Установка топливного бака
Бак топливный
Система охлаждения двигателя и трансмиссии
Система охлаждения двигателя и трансмиссии
Система охлаждения двигателя и трансмиссии
Радиатор
Установка систем воздухоочистки и выпуска
Воздухоочиститель
Установка трансмиссии
Установка трансмиссии
Блок трансмиссии
Коробка передач планетарная
Коробка передач
Передача карданная
Гидротрансформатор с редуктором привода насосов
Гидротрансформатор с редуктором привода насосов
Клапан
Клапан
Блок управления
Блок управления
Клапан
Клапан
Фильтр
Делитель потока
Клапан
Главная передача
Главная передача
Фрикцион бортовой и тормоз остановочный
Передача бортовая, фрикцион и тормоз
Передача бортовая
Рама
Система ходовая полужесткая
Тележка полужесткая
Колесо натяжное
Каток поддерживающий
Каток опорный
Гусеница
Механизм сдавания
Механизм натяжения
Шарнир
Управление трактором
Управление трактором
Привод управления
Привод управления
Привод управления
Электрооборудование
Установка электрооборудования на раме
Электрооборудование топливного бака
Электрооборудование передней облицовки
Электрооборудование подогревателя ПЖД30Г
Установка электрооборудование в контейнере отопителя
Установка электрооборудование в контейнере АКБ
Электрооборудование двигателя
Электрооборудование пола кабины
Электрооборудование пола кабины
Электрооборудование пола кабины
Электрооборудование крыши кабины
Установка фары
Блок управления отопителем
Блок выключателей
Блок выключателей
Блок выключателей
Блок выключателей
Щиток приборов
Установка гидросистемы
Установка гидроцилиндров
Установка гидроцилиндров
Распределитель секционный
Бак гидросистемы
Клапан
Клапан
Гидроцилиндр диаметром 125 мм
Гидросистема бульдозерного оборудования
Гидросистема бульдозерного оборудования
Гидрозамок
Гидросистема рыхлительного оборудования
Гидроцилиндр диаметром 160 мм
Оборудование бульдозерное сферическое
Отвал
Оборудование бульдозерное полусферическое
Отвал
Тяга поперечная
Раскос винтовой
Оборудование рыхлительное
Оборудование рыхлительное
Зуб
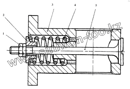
1
2
3
4
5
Позиция на иллюстрации
Заводской номер детали
Название детали
2001-14-13СП
2001-14-13СП
Клапан
1
Гайка М6-7Н.6
Гайка М6-7Н.6
2
46-60-312
Втулка
3
46-60-293-03
Корпус клапана
4
385485
Пружина
5
46-60-298-03
Клапан
Содержащиеся в справочниках-каталогах запасные части и детали не предлагаются к продаже, а носят исключительно информационный характер
Дополнительная информация
×
Название:
Номер:
Примечание: