Каталог запасных частей к технике: Промтрактор Т-20.01Я. Гидрозамок
1
1
2
2
3
3
4
5
5
6
6
7
7
8
8
9
10
11
12
13
13
14
15
16
16
17
17
18
18
19
19
20
21
22
23
24
25
26
27
28
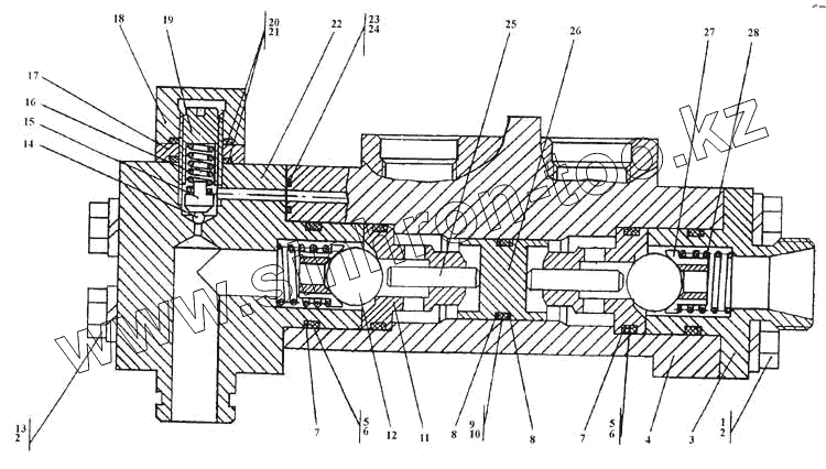
| Позиция на иллюстрации | Заводской номер детали | Название детали | |
|---|---|---|---|
| 512601-93-524СП | 512601-93-524СП | Гидрозамок | |
| 512601-93-524-20СП | 512601-93-524-20СП | Гидрозамок | |
| 1 | 280544-20 | Болт М16х1,5-6gх45.109.40Х029 ГОСТ 7796-70 | |
| 1 | 280544 | Болт М16х1,5-6gх45.109.40Х019 ГОСТ 7796-70 | |
| 2 | Шайба 16.ОТ.65Г | Шайба 16.ОТ.65Г | |
| 3 | 512601-93-505 | Крышка | |
| 3 | 512601-93-505-20 | Крышка | |
| 4 | 512601-93-543 | Корпус | |
| 5 | Кольцо 042-050-46-2-51-1668 ГОСТ 18829-7 | Кольцо 042-050-46-2-51-1668 ГОСТ 18829-73/ТУ 38.005.204-84 | |
| 6 | Кольцо 042-050-46-2-В14-1-НТА ГОСТ 18829 | Кольцо 042-050-46-2-В14-1-НТА ГОСТ 18829-73/ ТУ 005.1166-87 | |
| 7 | 440005 | Шайба защитная | |
| 8 | 2501-93-581 | Кольцо защитное | |
| 9 | Кольцо 032-038-36-2-51-1668 ГОСТ 18829-7 | Кольцо 032-038-36-2-51-1668 ГОСТ 18829-73/ТУ 38.005.204-84 | |
| 10 | Кольцо 032-038-36-2-В14-1-НТА ГОСТ 18829 | Кольцо 032-038-36-2-В14-1-НТА ГОСТ 18829-73/ ТУ 005.1166-87 | |
| 11 | 2501-93-572 | Седло | |
| 12 | Шарик 26,988-40 | Шарик 26,988-40 | |
| 13 | 280575 | Болт М16х1,5-6gх120.109.40Х019 ГОСТ 7795-70 | |
| 13 | 280575-20 | Болт М16х1,5-6gх120 ГОСТ 7795-70 | |
| 14 | Шарик 5,8-40 | Шарик 5,8-40 | |
| 15 | 2501-93-575 | Направляющая | |
| 16 | 385350 | Пружина | |
| 16 | 385350-20 | Пружина | |
| 17 | 3501-93-615 | Контргайка | |
| 17 | 3501-93-615-20 | Контргайка | |
| 18 | 3501-93-613 | Колпачок | |
| 18 | 3501-93-613-20 | Колпачок | |
| 19 | 3501-93-614 | Винт регулировочный | |
| 19 | 3501-93-614-20 | Винт регулировочный | |
| 20 | Кольцо 025-030-30-2-3 ГОСТ 18829-73/ТУ38 | Кольцо 025-030-30-2-3 ГОСТ 18829-73/ТУ38.005.204-84 | |
| 21 | Кольцо 025-030-30-2-В14-1-НТА ГОСТ 18829 | Кольцо 025-030-30-2-В14-1-НТА ГОСТ 18829-73/ ТУ005.1166-87 | |
| 22 | 512601-93-544 | Угольник | |
| 23 | Кольцо 012-016-25-2-5-1-1668 ГОСТ 18829- | Кольцо 012-016-25-2-5-1-1668 ГОСТ 18829-73/ ТУ 38.005.204-84 | |
| 24 | Кольцо 012-016-25-2-В14-1-НТА ГОСТ 18829 | Кольцо 012-016-25-2-В14-1-НТА ГОСТ 18829-73/ ТУ 005.1166-87 | |
| 25 | 2501-93-577 | Толкатель | |
| 26 | 2501-93-573 | Поршень | |
| 27 | 2501-93-574 | Вкладыш | |
| 28 | 385582 | Пружина |
Содержащиеся в справочниках-каталогах запасные части и детали не предлагаются к продаже, а носят исключительно информационный характер