Каталог запасных частей к технике: Промтрактор Т-20.01Я. Блок управления
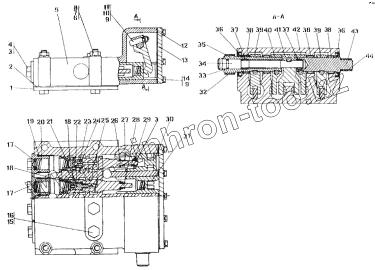
1
2
2
2
3
4
4
5
5
6
7
8
8
9
9
10
11
12
12
13
14
15
16
17
17
18
18
19
20
21
22
23
24
25
26
27
28
29
30
31
32
33
34
35
36
36
37
37
38
38
38
39
39
40
41
42
43
44
| Позиция на иллюстрации | Заводской номер детали | Название детали | |
|---|---|---|---|
| 1501-15-21СП | 1501-15-21СП | Блок управления | |
| 1501-15-21-20СП | 1501-15-21-20СП | Блок управления | |
| 1 | 1501-15-40 | Крышка | |
| 2 | 450284 | Прокладка | |
| 2 | 450284-20 | Прокладка | |
| 3 | 700-58-2330 | Кольцо С12 ГОСТ | |
| 4 | 375954 | Прокладка | |
| 4 | 375954-20 | Прокладка | |
| 5 | 1501-15-26 | Корпус | |
| 5 | 1501-15-26-20 | Корпус | |
| 6 | Шайба 12.ОТ.65Г | Шайба 12.ОТ.65Г | |
| 7 | Гайка М12х1,25-6Н | Гайка М12х1,25-6Н | |
| 8 | 280385 | Болт М12х1,25-6gх80.109.40Х.019 ГОСТ 7795-70 | |
| 8 | 280385-20 | Болт М12х1,25-6gх80.109.40Х.029 ГОСТ 7795-70 | |
| 9 | Шайба 8Т.65Г | Шайба 8Т.65Г | |
| 10 | Гайка М8-7Н | Гайка М8-7Н | |
| 11 | 312501-91-145 | Клин | |
| 12 | 450285 | Прокладка | |
| 12 | 450285-20 | Прокладка | |
| 13 | 1501-15-38 | Крышка | |
| 14 | Болт М8-6gх20 | Болт М8-6gх20 | |
| 15 | 018-022-25-2-51-1668 | Кольцо | |
| 16 | 375330 | Пробка | |
| 17 | 315180 | Шайба | |
| 18 | 580160 | Кольцо С16 ГОСТ 13941-86 | |
| 19 | Кольцо 032-038-36-2-51-1668 | Кольцо 032-038-36-2-51-1668 | |
| 20 | 385364 | Пружина | |
| 21 | 1501-15-30 | Плунжер | |
| 22 | Б8-100 | Шарик ГОСТ 3722-81 | |
| 23 | 1501-15-29 | Плунжер | |
| 24 | 385040 | Пружина | |
| 25 | 1501-15-27 | Золотник | |
| 26 | 1501-15-42 | Прокладка | |
| 27 | 385250 | Пружина | |
| 28 | 1501-15-28 | Золотник | |
| 29 | 1501-15-39 | Втулка | |
| 30 | 1501-15-31 | Толкатель | |
| 31 | 1501-15-32 | Толкатель | |
| 32 | 2501-15-152 | Труба | |
| 33 | Кольцо 016-020-25-2-51-1668 | Кольцо 016-020-25-2-51-1668 | |
| 34 | 1501-15-35 | Валик | |
| 35 | 1501-15-34 | Валик | |
| 36 | Манжета 2,2-30х52-3 | Манжета 2,2-30х52-3 | |
| 37 | Подшипник 641/15 | Подшипник 641/15 | |
| 38 | Подшипник 941/30 | Подшипник 941/30 | |
| 39 | 2501-15-67 | Рычаг | |
| 40 | 1501-15-37 | Рычаг | |
| 41 | 1501-15-36 | Рычаг | |
| 42 | 1501-15-37-01 | Рычаг | |
| 43 | 1501-15-33 | Валик | |
| 44 | 2501-15-152-01 | Труба |
Содержащиеся в справочниках-каталогах запасные части и детали не предлагаются к продаже, а носят исключительно информационный характер