Каталог запасных частей к технике: Промтрактор Т-20.01К. 2001-16-1-01СП Установка трансмиссии
1
1
2
2
2
3
3
3
3
3
3
3
3
4
4
5
6
7
8
8
9
9
10
11
11
12
14
15
15
16
17
18
18
19
19
19
20
20
21
21
22
22
23
23
24
25
25
26
27
27
28
28
29
29
30
30
31
32
33
33
34
35
36
36
37
37
38
39
40
41
41
41
42
43
44
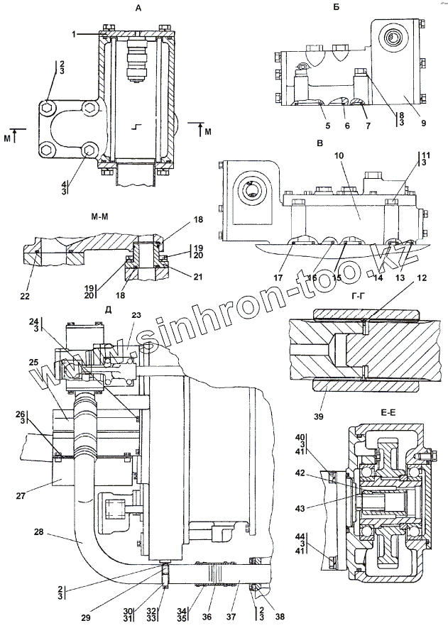
| Позиция на иллюстрации | Заводской номер детали | Название детали | |
|---|---|---|---|
| 1 | 312001-16-102-20СП -20(SP) | Заборник | |
| 1 | 312001-16-102СП(SP) | Заборник | |
| 2 | Болт М12-6gx30 | Болт М12-6gx30 | |
| 3 | Шайба 12.ОТ | Шайба 12.ОТ | |
| 4 | 28 0388 | Болт М12-6gх90.58.019 ГОСТ 7795-70 | |
| 4 | 28 0388-20 | Болт М12-6gх90.58.029 ГОСТ 7795-70 | |
| 5 | 042-050-46-2-51-1668 | Кольцо ГОСТ 18829-73/ТУ 38.005.204-84 | |
| 6 | 130-135-36-2-51-1668 | Кольцо 130-135-36-2-51-1668 | |
| 7 | 022-026-25-2-51-1668 | Кольцо 022-026-25-2-51-1668 | |
| 8 | 28 0379-20 | Болт 3М12-6gх65.109.40Х 029 ГОСТ 7796-70 | |
| 8 | 28 0379 | Болт 3М12-6gх65 | |
| 9 | 1501-15-41СП(SP) | Блок управления | |
| 9 | 1501-15-41-20СП(SP) | Блок управления | |
| 10 | 1501-15-20СП(SP) | Блок управления | |
| 11 | 28 0383-01-20 | Болт М12-6gх85 | |
| 11 | 28 0383-01 | Болт М12-6gх85 | |
| 12 | 58 0515 | Кольцо С52 | |
| 14 | 014-018-25-2-51-1668 | Кольцо 014-018-25-2-51-1668 | |
| 15 | 075-081-36-2-ИРП 1314-1 | Кольцо ГОСТ 18829-73/ТУ 38.005.204-80 | |
| 15 | 025-030-30-2-51-1668 | Кольцо ГОСТ 9833-73 | |
| 16 | 049-055-36-2-51-1668 | Кольцо ГОСТ 18829-73/ТУ 38.005.204-84 | |
| 17 | 034-038-25-2-51-1668 | Кольцо 034-038-25-2-51-1668 | |
| 18 | 038-046-46-2-51-1668 | Кольцо 038-046-46-2-51-1668 | |
| 19 | 28 0230 | Болт М10-6gх25 ГОСТ 7796-70 | |
| 19 | 28 0230-20 | Болт М10-6gх25 ГОСТ 7796-70 | |
| 20 | Шайба 10.ОТ | Шайба 10.ОТ | |
| 21 | 2001-16-11 | Фланец | |
| 21 | 2001-16-11-20 | Фланец | |
| 22 | 060-070-58-2-51-1668 | Кольцо ГОСТ 18829-73/ТУ 38.005.204-84 | |
| 23 | НШ150Г-4ЛТ | Насос НШ150Г-4ЛТ | |
| 23 | НШ150Г-4Л | Насос НШ150Г-4Л | |
| 24 | Болт М12-6gx25 | Болт М12-6gx25 | |
| 25 | 2001-16-108-20СП(SP) | Кожух | |
| 25 | 2001-16-108СП(SP) | Кожух | |
| 26 | Болт М12x1,25-6gx25 | Болт М12x1,25-6gx25 | |
| 27 | 2001-16-109-20СП(SP) | Кожух | |
| 27 | 2001-16-109СП(SP) | Кожух | |
| 28 | 2001-16-5-20 | Труба | |
| 28 | 2001-16-5 | Труба | |
| 29 | 2001-16-101-20СП(SP) | Опора | |
| 29 | 2001-16-101СП(SP) | Опора | |
| 30 | 312501-94-105-20 | Бугель | |
| 30 | 312501-94-105 | Бугель | |
| 31 | 40 0040 | Пластина 2Н-I ТМКЩ-С2-3 | |
| 32 | Болт М8-6gx70 | Болт М8-6gx70 | |
| 33 | 31 0140-20 | Шайба 8 ГОСТ 6958-78 | |
| 33 | 31 0140 | Шайба 8.01.10.019 ГОСТ 6958-78 | |
| 34 | 5001-26-130СП(SP) | Хомут | |
| 35 | 1085-У-02 | Хомут стяжной червячный 1085-У-02 | |
| 36 | 46 1701-04-20 | Рукав | |
| 36 | 46 1701-04 | Рукав | |
| 37 | 2001-16-100-20СП(SP) | Трубопровод | |
| 37 | 2001-16-100СП(SP) | Трубопровод | |
| 38 | 100-110-58-2-ИРП 1314-1 | Кольцо ГОСТ 9833-73 | |
| 39 | 2001-16-28 | Муфта | |
| 40 | Болт М12-6gx40 | Болт М12-6gx40 | |
| 41 | 31 0210-20 | Шайба 12х2 ГОСТ 11371-78 | |
| 41 | 31 0210 | Шайба 12х2.01.08кп.019 ГОСТ 11371-78 | |
| 42 | 2001-16-32 | Муфта | |
| 43 | 58 0307 | Кольцо С34 ГОСТ 13940-86 | |
| 44 | Болт М12-6gx35 | Болт М12-6gx35 |
Содержащиеся в справочниках-каталогах запасные части и детали не предлагаются к продаже, а носят исключительно информационный характер