Вернуться на главную
Поиск
Каталоги запчастей к технике
Спецтехника
Промтрактор
Т-15.02Я
2001-12-103СП Водило
Каталог запасных частей к технике: Промтрактор Т-15.02Я. 2001-12-103СП Водило
zoom-in
zoom-out
enlarge
shrink
circle-right
circle-left
file-text2
info
cart
Тип техники
Не выбрано
Легковые автомобили
Грузовые автомобили и прицепы
Автобусы
Сельхозтехника
Спецтехника
Двигатели
Мототехника
Марка
Не выбрано
Ammann
BOMAG
CARMIX
CASE IH
Changlin
ChengGong
Dimex
Doosan
DYNAPAC
Foton
HAMM
Hidromek
Hitachi
Hyundai
JCB
JLG
John Deere
Komatsu
LIEBHERR
LiuGong
Lonking (LongGong)
Luneng
MANITOU
Mitsuber
New Holland
PENGPU
RM-Terex
SANY
SDLG
SEM
Shantui
Shehwa HBXG
Soosan
TIGARBO
VOGELE
Volvo
WAY
WIRTGEN
XCMG
XGMA
Xiamen
YTO
Yuchai
Zoomlion
Автокран
АЗСМ
Алтайлесмаш
Амкодор
АОМЗ
Атек
АТЗ
Балканкар Рекорд
БелАЗ
Беловеж
Борекс
Брянский Арсенал
Булат
ВЭКС
ГАЗ
Геомаш
Гидромаш
Донекс
Дормаш
Дормашина
Дорэлектромаш
ДЭЗ
ЕлАЗ
ЗЗГТ
Ижнефтемаш
Канаш-электрокар
КЗКТ
ККЗ
Клевер
Клинцовский автокрановый завод
КМЗ
КМЗ 1 Мая
Ковровец
Коммаш
Кранэкс
КЭЗ
КЭМЗ
ЛЗА
МАЗ
МЗИК
МЗКМ
МЗКТ
Михневский РМЗ
МоАЗ
Мозырский МЗ
МТЗ
ОЗП
Онежец
ПАО "ТЗА"
ППС Детва
Промтрактор
ПТЗ
Раскат
СпецАгрегат
ТВЭКС
ТТМ
УВЗ
Угличмаш
УЗТМ
ХТЗ
ЧЗКМ
ЧСДМ
ЧТЗ
ЭКСКО
ЭКСМАШ
ЮрМаш
Модель
Не выбрано
ПК-12.02 (2007)
ПК-12.02К (2007)
ПК-60.01 (2007)
Т-11.01К (2008)
Т-11.01Я
Т-11.02К (2008)
Т-11.02Я (2008)
Т-15.01К (2007)
Т-15.01Я (2000)
Т-15.02K (2009)
Т-15.02Я (2009)
Т-20.01К
Т-20.01Я (2000)
Т-20.01Я (2005) (2005)
Т-20.02К (Четра) (2009)
Т-20.02Я (Четра) (2009)
Т-25.01К1 (2008)
Т-25.01Я (2006)
Т-330 (2006)
Т-35.01К (2007)
Т-35.01Я
Т-40.01К (2008)
Т-50.01 (1998)
Т-500 (1999)
Т-9.01Я (2007)
ТГ-121Я (2004)
ТГ-221КМ (2006)
ТГ-221Я (2004)
ТГ-301К (2006)
ТГ-301Я (2004)
ТГ-302Я (2010)
ТГ-503К (2006)
ТГ-503Я (2006)
ТГ-511 (2008)
Шасси ТП-20.02 (2008)
Схема
>
Не выбрано
1502-111CП/-01СП/-02СП Кабина
1502-111CП/-01СП/-02СП Кабина
1502-111CП/-01СП/-02СП Кабина
1502-111CП/-01СП/-02СП Кабина
1502-111-06CП/-07СП/-08СП Кабина
1502-111-06CП/-07СП/-08СП Кабина
1502-111-06CП/-07СП/-08СП Кабина
2501-59-1СП/-1-01СП Кабина
2501-59-1СП/-1-01СП Кабина
2501-59-1СП/-1-01СП Кабина
1502-13-1СП Управление трактором
1502-13-50СП Привод управления
1502-13-50СП Привод управления
1501-55-1-01СП Облицовка
1501-55-1-01СП Облицовка
1501-55-1-01СП Облицовка
2502-48-2-02СП Установка кондиционера
3501-24-2-03СП Пол
1101-23-1СП Установка сиденья
1101-47-1СП Установка отопителя кабины
312001-57-2СП Установка вентиляторов кабины
2001-53-3-01СП Установка независимого отопителя кабины
2001-53-3-01СП Установка независимого отопителя кабины
2001-61-1-01СП Установка защиты кабины
1101-89-5МК/6МК Машинокомплект деталей кабины «Четра»
2022-01-1-02СП/-03СП Установка двигателя ЯМЗ-238
2022-05-1СП Установка систем воздухоочистки и выпуска
2022-05-1СП Установка систем воздухоочистки и выпуска
1502-05-12СП Воздухоочиститель
1502-25-1-01СП Установка топливного бака
1502-25-1-01СП Установка топливного бака
2001-25-10-01СП Бак топливный
1522-43-1СП Установка системы подогрева
1522-43-1СП Установка системы подогрева
2022-60-1-01СП Система охлаждения
2022-60-1-01СП Система охлаждения
2022-60-1-01СП Система охлаждения
2022-60-102-01СП Установка радиаторная
1501-16-2СП Установка трансмиссии
1501-16-2СП Установка трансмиссии
1501-19-1СП Передача бортовая, фрикцион и тормоз
1501-19-10СП Передача бортовая
1501-19-101СП Водило
2001-12-17СП Блок трансмиссии
2001-12-18СП Передача главная
2001-12-19СП Коробка передач с системой гидроуправления
2001-12-20СП Коробка передач планетарная
2001-12-102СП Водило
2001-12-103СП Водило
2001-12-118СП Водило
2001-12-121СП Бустер
2001-14-1-02СП Гидротрансформатор с редуктором привода насосов
2001-14-1-02СП Гидротрансформатор с редуктором привода насосов
2001-14-1-02СП Гидротрансформатор с редуктором привода насосов
2001-18-11-01СП Фрикцион бортовой и тормоз остановочный
2501-15-138СП Клапан
606-15-8СП/-02СП Клапан
4001-15-12-03CП Клапан
313512-15-1СП Блок управления
313512-15-2СП Клапан
313512-15-4СП Клапан
2002-20-3СП Муфта упругая
2001-49-1-01 Вал карданный
1512-11-2-06СП Рама
1501-11-32СП Балка
1501-21-201СП Система ходовая полужесткая
1501-21-202СП/-203СП Тележка полужесткая
1501-21-10СП Каток поддерживающий
1501-21-37СП Механизм сдавания
1501-21-44СП-02/-03СП Каток опорный
1501-21-45СП Колесо натяжное
1101-21-43-02СП/-03СП Механизм натяжения
1101-21-38СП Шарнир
ТЖ 216-22-000 Гусеница
1512-64-1-01СП Установка кожухов
1522-26-1СП/-01СП/-02СП Установка гидросистемы
1522-26-1СП/-01СП/-02СП Установка гидросистемы
1522-26-1СП/-01СП/-02СП Установка гидросистемы
1522-26-10СП Установка гидроцилиндров
1522-26-10СП Установка гидроцилиндров
1522-26-15СП Установка распределителя
2001-26-30СП Бак гидросистемы
1501-26-501-03СП Гидроцилиндр
1501-26-508СП Устройство перепускное
1101-16-112СП Клапан
1526-10-1СП/-01СРП Электрооборудование
1526-10-1СП/-01СРП Электрооборудование
1526-10-11СП Установка электрооборудования на раме
1526-10-12-02СП Электрооборудование пола кабины
1526-10-12-02СП Электрооборудование пола кабины
1526-10-13СП Электрооборудование передней облицовки
1526-10-14СП Электрооборудование топливного бака
1526-10-15СП Электрооборудование трансмиссии
1526-10-16СП Установка управления навесным оборудованием
1526-10-17СП Электрооборудование контейнера АКБ
1526-10-18СП Электрооборудование контейнера отопителя
1506-10-12-02СП Электрооборудование двигателя
1102-10-13-01СП Электрооборудование крыши кабины
1102-10-13-01СП Электрооборудование крыши кабины
1102-10-13-02СП Электрооборудование крыши кабины
1102-10-13-02СП Электрооборудование крыши кабины
1102-10-165СП/-01СП Щиток выключателей
313516-10-24СП Электрооборудование лебедки
1152-10-106СП Щиток приборов
011501-91-3СП Оборудование бульдозерное прямое
011501-91-3СП Оборудование бульдозерное прямое
011501-91-22СП Отвал
011501-92-3СП Оборудование бульдозерное сферическое
011501-92-3СП Оборудование бульдозерное сферическое
011501-92-22СП Отвал
011501-93-3СП Оборудование бульдозерное полусферическое
011501-93-3СП Оборудование бульдозерное полусферическое
011501-93-22СП Отвал
011501-93-180СП Раскос винтовой
011501-93-500СП Гидросистема бульдозерного оборудования
011501-93-502СП Гидрораскос d.160
011501-93-508СП Гидрозамок
011501-97-2СП Оборудование рыхлительное
011501-97-2СП Оборудование рыхлительное
011501-97-120СП/-01СП Зуб
011501-97-500СП Гидросистема рыхлительного оборудования
011501-97-502СП Гидроцилиндр d.160
011501-98-1СП Оборудование рыхлительное
011501-98-1СП Оборудование рыхлительное
1512-51-1СП Установка прицепного устройства
1501-96-2СП Агрегат тяговый
1501-96-2СП Агрегат тяговый
1501-96-10-02СП Лебедка
1501-96-10-02СП Лебедка
1501-96-100СП Бустер
1501-96-101СП Водило
1501-96-103СП Механизм планетарный
3501-96-103СП Бустер
313512-26-16СП Клапан
2001-12-103СП(SP)
2001-12-103-20СП(SP)
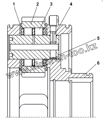
1
2
3
4
5
6
Позиция на иллюстрации
Заводской номер детали
Название детали
2001-12-103СП(SP)
2001-12-103СП(SP)
Водило
2001-12-103-20СП(SP)
2001-12-103-20СП(SP)
Водило
1
2001-12-27
Кольцо упорное
2
2001-12-26
Сателлит
3
6-252807Д
Подшипник 6-252807Д
4
2001-12-111СП(SP)
Штифт
5
2001-12-30
Ось
6
2001-12-9
Водило
Содержащиеся в справочниках-каталогах запасные части и детали не предлагаются к продаже, а носят исключительно информационный характер
Дополнительная информация
×
Название:
Номер:
Примечание: