Вернуться на главную
Поиск
Каталоги запчастей к технике
Спецтехника
Промтрактор
Т-15.02K
Водило
Каталог запасных частей к технике: Промтрактор Т-15.02K. Водило
zoom-in
zoom-out
enlarge
shrink
circle-right
circle-left
file-text2
info
cart
Тип техники
Не выбрано
Легковые автомобили
Грузовые автомобили и прицепы
Автобусы
Сельхозтехника
Спецтехника
Двигатели
Мототехника
Марка
Не выбрано
Ammann
BOMAG
CARMIX
CASE IH
Changlin
ChengGong
Dimex
Doosan
DYNAPAC
Foton
HAMM
Hidromek
Hitachi
Hyundai
JCB
JLG
John Deere
Komatsu
LIEBHERR
LiuGong
Lonking (LongGong)
Luneng
MANITOU
Mitsuber
New Holland
PENGPU
RM-Terex
SANY
SDLG
SEM
Shantui
Shehwa HBXG
Soosan
TIGARBO
VOGELE
Volvo
WAY
WIRTGEN
XCMG
XGMA
Xiamen
YTO
Yuchai
Zoomlion
Автокран
АЗСМ
Алтайлесмаш
Амкодор
АОМЗ
Атек
АТЗ
Балканкар Рекорд
БелАЗ
Беловеж
Борекс
Брянский Арсенал
Булат
ВЭКС
ГАЗ
Геомаш
Гидромаш
Донекс
Дормаш
Дормашина
Дорэлектромаш
ДЭЗ
ЕлАЗ
ЗЗГТ
Ижнефтемаш
Канаш-электрокар
КЗКТ
ККЗ
Клевер
Клинцовский автокрановый завод
КМЗ
КМЗ 1 Мая
Ковровец
Коммаш
Кранэкс
КЭЗ
КЭМЗ
ЛЗА
МАЗ
МЗИК
МЗКМ
МЗКТ
Михневский РМЗ
МоАЗ
Мозырский МЗ
МТЗ
ОЗП
Онежец
ПАО "ТЗА"
ППС Детва
Промтрактор
ПТЗ
Раскат
СпецАгрегат
ТВЭКС
ТТМ
УВЗ
Угличмаш
УЗТМ
ХТЗ
ЧЗКМ
ЧСДМ
ЧТЗ
ЭКСКО
ЭКСМАШ
ЮрМаш
Модель
Не выбрано
ПК-12.02 (2007)
ПК-12.02К (2007)
ПК-60.01 (2007)
Т-11.01К (2008)
Т-11.01Я
Т-11.02К (2008)
Т-11.02Я (2008)
Т-15.01К (2007)
Т-15.01Я (2000)
Т-15.02K (2009)
Т-15.02Я (2009)
Т-20.01К
Т-20.01Я (2000)
Т-20.01Я (2005) (2005)
Т-20.02К (Четра) (2009)
Т-20.02Я (Четра) (2009)
Т-25.01К1 (2008)
Т-25.01Я (2006)
Т-330 (2006)
Т-35.01К (2007)
Т-35.01Я
Т-40.01К (2008)
Т-50.01 (1998)
Т-500 (1999)
Т-9.01Я (2007)
ТГ-121Я (2004)
ТГ-221КМ (2006)
ТГ-221Я (2004)
ТГ-301К (2006)
ТГ-301Я (2004)
ТГ-302Я (2010)
ТГ-503К (2006)
ТГ-503Я (2006)
ТГ-511 (2008)
Шасси ТП-20.02 (2008)
Схема
>
Не выбрано
Общий вид трактора
Кабина
Кабина
Кабина
Кабина
Кабина
Кабина
Кабина
Кабина
Кабина
Кабина
Кабина
Управление трактором
Облицовка
Облицовка
Облицовка
Установка кондиционера
Пол
Установка сиденья
Установка отопителя кабины
Установка вентиляторов кабины
Установка независимого отопителя кабины
Установка независимого отопителя кабины
Установка защиты кабины
Машинокомплект деталей и сборочных единиц интерьера кабины «Четра»
Установка двигателя QSC8,3-С245 «Cummins»
Установка двигателя QSC8,3-С245 «Cummins»
Установка топливного бака
Установка топливного бака
Установка системы подогрева
Установка системы подогрева
Установка системы подогрева
Система охлаждения
Система охлаждения
Система охлаждения
Система охлаждения
Бак топливный
Установка систем воздухоочистки и выпуска
Установка систем воздухоочистки и выпуска
Воздухоочиститель
Электрооборудование
Электрооборудование
Установка электрооборудования на раме
Электрооборудование пола кабины
Электрооборудование пола кабины
Электрооборудование передней облицовки
Электрооборудование топливного бака
Электрооборудование трансмиссии
Установка управления навесным оборудованием
Электрооборудование контейнера АКБ
Электрооборудование контейнера отопителя
Щиток приборов
Электрооборудование двигателя
Электрооборудование крыши кабины
Электрооборудование крыши кабины
Электрооборудование крыши кабины
Электрооборудование крыши кабины
Щиток выключателей
Электрооборудование лебедки
Рама
Балка
Система ходовая полужесткая
Тележка полужесткая
Каток поддерживающий
Механизм сдавания
Каток опорный
Колесо натяжное
Механизм натяжения
Шарнир
Гусеница
Установка кожухов
Установка трансмиссии
Установка трансмиссии
Передача бортовая, фрикцион и тормоз
Передача бортовая
Водило
Блок трансмиссии
Передача главная
Коробка передач с системой гидроуправления
Коробка передач планетарная
Водило
Водило
Водило
Бустер
Гидротрансформатор с редуктором привода насосов
Гидротрансформатор с редуктором привода насосов
Гидротрансформатор с редуктором привода насосов
Фрикцион бортовой и тормоз остановочный
Клапан
Клапан
Клапан
Блок управления
Клапан
Клапан
Муфта упругая
Вал карданный
Установка гидросистемы
Установка гидросистемы
Установка гидросистемы
Установка гидроцилиндров
Установка гидроцилиндров
Установка распределителя
Бак гидросистемы
Гидроцилиндр
Устройство перепускное
Клапан
Оборудование бульдозерное прямое
Оборудование бульдозерное прямое
Отвал
Оборудование бульдозерное сферическое
Оборудование бульдозерное сферическое
Отвал
Оборудование бульдозерное полусферическое
Оборудование бульдозерное полусферическое
Отвал
Раскос винтовой
Гидросистема бульдозерного оборудования
Гидрораскос d.160
Гидрозамок
Оборудование рыхлительное
Оборудование рыхлительное
Зуб
Гидросистема рыхлительного оборудования
Гидроцилиндр d.160
Оборудование рыхлительное
Оборудование рыхлительное
Установка прицепного устройства
Агрегат тяговый
Агрегат тяговый
Лебедка
Лебедка
Бустер
Водило
Механизм планетарный
Бустер
Клапан
Клапан
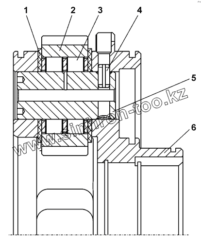
2001-12-103СП(SP)
2001-12-103-20СП(SP)
1
2
3
4
5
6
Позиция на иллюстрации
Заводской номер детали
Название детали
2001-12-103СП(SP)
2001-12-103СП(SP)
Водило
2001-12-103-20СП(SP)
2001-12-103-20СП(SP)
Водило
1
2001-12-27
Кольцо упорное
2
2001-12-26
Сателлит
3
6-252807Д
Подшипник 6-252807Д
4
2001-12-111СП(SP)
Штифт
5
2001-12-30
Ось
6
2001-12-9
Водило
Содержащиеся в справочниках-каталогах запасные части и детали не предлагаются к продаже, а носят исключительно информационный характер
Дополнительная информация
×
Название:
Номер:
Примечание: