Каталог запасных частей к технике: Промтрактор Т-15.02K. Передача бортовая
1501-19-10-20СП(SP)
1501-19-10СП(SP)
1
1
1
1
2
2
2
2
3
4
5
5
6
6
6
7
8
9
10
11
12
13
13
14
15
16
17
18
19
20
21
22
23
24
24
25
25
26
27
28
29
30
31
32
33
33
34
34
34
35
35
36
36
37
37
38
38
39
40
41
42
42
43
43
44
45
46
46
47
48
48
49
50
51
52
53
53
54
55
56
57
58
58
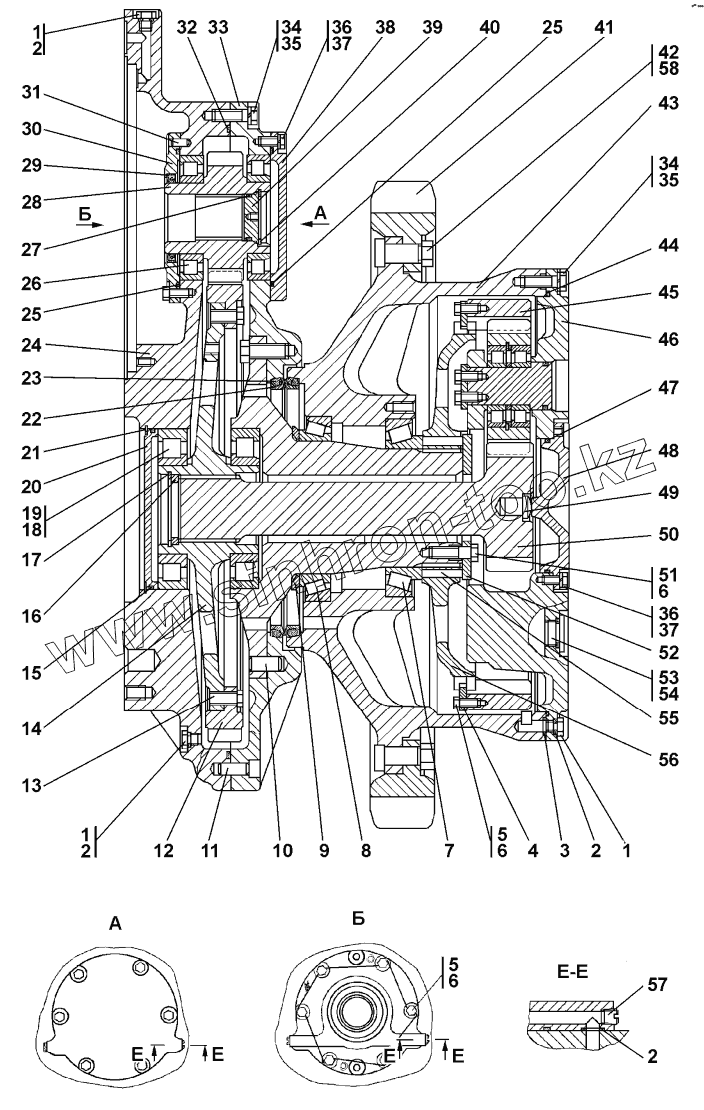
| Позиция на иллюстрации | Заводской номер детали | Название детали | |
|---|---|---|---|
| 1501-19-10-20СП(SP) | 1501-19-10-20СП(SP) | Передача бортовая | |
| 1501-19-10СП(SP) | 1501-19-10СП(SP) | Передача бортовая | |
| 1 | 375516-20 | Пробка | |
| 1 | 375516 | Пробка | |
| 2 | 012-016-25-2-51-1668 | Кольцо 012-016-25-2-51-1668 | |
| 3 | 018-022-25-2-51-1668 | Кольцо ГОСТ 9833-73/ТУ 38.005.204-84 | |
| 4 | 1501-19-20 | Планка | |
| 5 | 285330 | Болт | |
| 6 | ГОСТ3282-74 | Проволока | |
| 7 | 2007132 | Подшипник 2007132 | |
| 8 | 6-2007934 | Подшипник 6-2007934 | |
| 9 | 1501-19-18 | Кольцо упорное | |
| 10 | 700-32-2177 | Штифт | |
| 11 | 320450 | Штифт | |
| 12 | 1501-19-7 | Шестерня | |
| 13 | 280535 | Болт М16х1,5-6gх38.109.40Х.019 ГОСТ 7796-70 | |
| 13 | 280535-20 | Болт М16х1,5-6gх38.109.40Х.029 ГОСТ 7796-70 | |
| 14 | 1501-19-8 | Ступица | |
| 15 | ГОСТ18829-73 | Кольцо | |
| 16 | 2001-19-17 | Кольцо упорное | |
| 17 | 580721 | Кольцо С95 | |
| 18 | NJ224 | Подшипник NJ224 | |
| 19 | 42224Л | Подшипник 42224Л | |
| 20 | 2001-19-27 | Крышка | |
| 21 | 700-58-2139 | Кольцо С 215 ГОСТ 13941-86 | |
| 22 | 2001-19-28 | Кольцо | |
| 23 | 400439 | Кольцо упругое | |
| 24 | 1501-19-1-20 | Корпус | |
| 24 | 1501-19-1 | Корпус | |
| 25 | ГОСТ18829-73 | Кольцо | |
| 26 | 42219Д1Т | Подшипник 42219Д1Т | |
| 27 | 055-065-58-2-51-1668 | Кольцо 055-065-58-2-51-1668 | |
| 28 | 1501-19-6 | Шестерня | |
| 29 | BABSLASDIN3761 | Манжета 95-120-12 | |
| 30 | 2001-19-25 | Крышка | |
| 31 | 325383 | Штифт | |
| 32 | 400468-32 | Кольцо | |
| 33 | 1501-19-100-20СП(SP) | Корпус | |
| 33 | 1501-19-100СП(SP) | Корпус | |
| 34 | 280550 | Болт М16х1,5-6gх50.109.40Х019 ГОСТ 7796-70 | |
| 34 | 280550-20 | Болт М16х1,5-6gх50.109.40Х029 ГОСТ 7796-70 | |
| 35 | ГОСТ6402-70 | Шайба | |
| 36 | ГОСТ7796-70 | Болт | |
| 37 | ГОСТ6402-70 | Шайба | |
| 38 | 2001-19-26 | Крышка | |
| 38 | 2001-19-26-20 | Крышка | |
| 39 | 2001-19-16 | Крышка | |
| 40 | 580665 | Кольцо С70 ГОСТ 13941-86 | |
| 41 | 1501-19-14 | Сектор зубчатый | |
| 42 | 2001-19-30 | Болт | |
| 42 | 2001-19-30-20 | Болт | |
| 43 | 1501-19-4 | Ступица | |
| 43 | 1501-19-4-20 | Ступица | |
| 44 | 400468-21 | Кольцо | |
| 45 | 1501-19-11 | Шестерня | |
| 46 | 1501-19-101-20СП(SP) | Водило | |
| 46 | 1501-19-101СП(SP) | Водило | |
| 47 | 175-180-36-2-51-1668 | Кольцо ГОСТ 18829-73/ТУ 38.005.204-84 | |
| 48 | 2001-19-15 | Крышка | |
| 48 | 2001-19-15-20 | Крышка | |
| 49 | 2501-19-28 | Пята | |
| 50 | 1501-19-9 | Шестерня | |
| 51 | 285556 | Болт | |
| 52 | 1501-19-19 | Шайба упорная | |
| 53 | 700-37-2140 | Пробка | |
| 53 | 700-37-2140-20 | Пробка | |
| 54 | 045-050-30-2-51-1668 | Кольцо ГОСТ 9833-73/ГОСТ 18829-73 | |
| 55 | 1501-19-21 | Палец | |
| 56 | 1501-19-12 | Муфта | |
| 57 | 370150-08 | Пробка 4-КГ1/8"45.089 ТУ 23.1.506-91 | |
| 58 | 300350-01 | Гайка М24х2-6Н.12.019 ГОСТ 15521-70 | |
| 58 | 300350-20 | Гайка М24х2-6Н.12.40Х029 ГОСТ 5915-70 |
Содержащиеся в справочниках-каталогах запасные части и детали не предлагаются к продаже, а носят исключительно информационный характер