Каталог запасных частей к технике: Промтрактор Т-15.02K. Агрегат тяговый
1
2
2
2
2
3
3
3
4
4
4
5
5
6
7
7
8
8
8
8
8
8
9
9
10
11
12
13
14
14
15
16
17
17
17
18
18
19
19
20
21
21
22
22
23
23
23
25
25
25
25
26
26
26
27
27
27
28
28
29
30
30
31
31
32
32
33
33
34
34
35
35
36
36
37
37
38
38
39
39
40
40
41
41
42
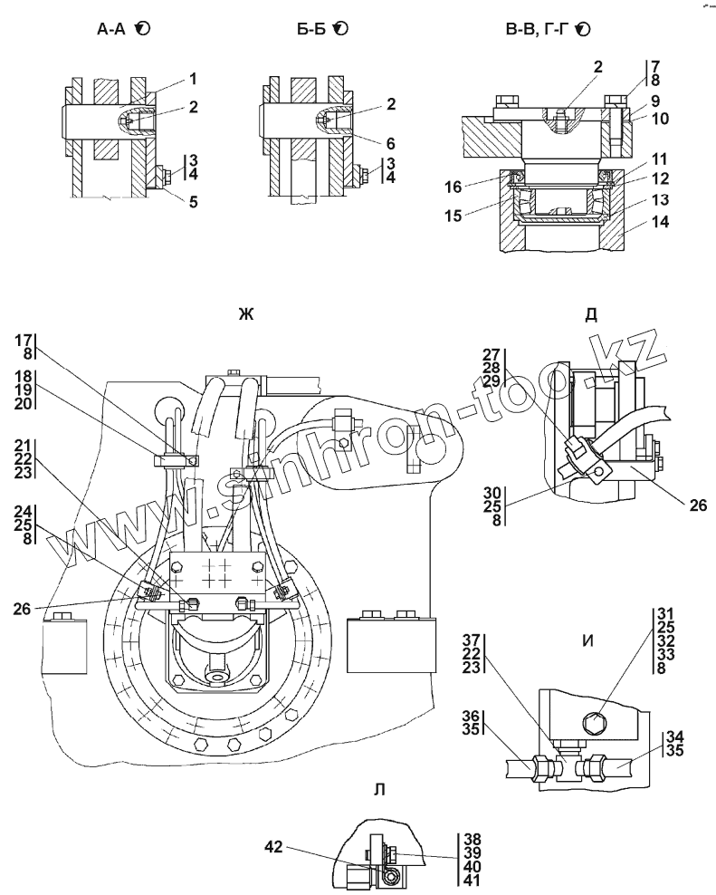
| Позиция на иллюстрации | Заводской номер детали | Название детали | |
|---|---|---|---|
| 1 | 011501-97-20СП(SP) | Палец | |
| 2 | ГОСТ19853-74 | Масленка | |
| 2 | ГОСТ19853-74 | Масленка | |
| 3 | 280521 | Болт М16-6gх30.10.9.40Х019 ГОСТ 7796-70 | |
| 3 | 280521-20 | Болт М16-6gх30.10.9.40Х029 ГОСТ 7796-70 | |
| 4 | ГОСТ6402-70 | Шайба | |
| 4 | ГОСТ6402-70 | Шайба | |
| 5 | 46-98-2 | Планка | |
| 5 | 46-98-2-20 | Планка | |
| 6 | 011501-97-30СП(SP) | Палец | |
| 7 | 280361 | Болт М12х1,25-6gх45.109.40Х019 ГОСТ 7796-70 | |
| 7 | 280361-20 | Болт М12х 1,25-6gх45.109.40Х029 ГОСТ 7796-70 | |
| 8 | ГОСТ6402-70 | Шайба | |
| 8 | ГОСТ6402-70 | Шайба | |
| 9 | 1501-96-54 | Опора | |
| 9 | 1501-96-54-20 | Опора | |
| 10 | 1501-96-60 | Кольцо регулировочное | |
| 11 | 700-58-2278 | Кольцо С90 | |
| 12 | 1501-96-53 | Кольцо упорное | |
| 13 | 1501-96-12 | Крышка | |
| 14 | 1501-96-52-01 | Труба | |
| 14 | 1501-96-52-01-20 | Труба | |
| 15 | ГОСТ5721-75 | Подшипник | |
| 16 | ГОСТ8752-79 | Манжета | |
| 17 | ГОСТ7796-70 | Болт | |
| 17 | ГОСТ7796-70 | Болт | |
| 18 | 5001-26-43 | Планка | |
| 18 | 5001-26-43-20 | Планка | |
| 19 | 5001-26-44 | Скоба | |
| 19 | 5001-26-44-20 | Скоба | |
| 20 | 400402-01 | Втулка | |
| 21 | 5001-26-77 | Угольник ввертной | |
| 21 | 5001-26-77-20 | Угольник ввертной | |
| 22 | 018-023-25-2-51-1668 | Кольцо | |
| 23 | Н.036.23.022 | Контргайка | |
| 23 | Н.036.23.022-01 | Контргайка | |
| 25 | ГОСТ5915-70 | Гайка | |
| 25 | ГОСТ5915-70 | Гайка | |
| 26 | 312001-94-7 | Опора | |
| 26 | 312001-94-7-20 | Опора | |
| 27 | 2501-26-216 | Скоба | |
| 27 | 2501-26-216-20 | Скоба | |
| 28 | 2501-26-217 | Планка | |
| 28 | 2501-26-217-20 | Планка | |
| 29 | 400354-05 | Втулка | |
| 30 | ГОСТ7796-70 | Болт | |
| 30 | ГОСТ7796-70 | Болт | |
| 31 | 280376 | Болт М12-6gx55 | |
| 31 | 280376-20 | Болт М12-6gx55 | |
| 32 | 310210 | Шайба 12х2.01.10.019 ГОСТ 11371-78 | |
| 32 | 310210-20 | Шайба 12х2.01.10.0221 ГОСТ 11371-78 | |
| 33 | 310210-05-20 | Шайба | |
| 33 | 310210-05 | Шайба | |
| 34 | 311102-26-517-24СП(SP) | Рукав | |
| 34 | 311102-26-517-24-20СП(SP) | Рукав | |
| 35 | ТУ2531-260-0149245-00 | Кольцо 007-011-25-2-51 | |
| 36 | 311102-26-517-26СП(SP) | Рукав диам. 8 | |
| 36 | 311102-26-517-26-20СП(SP) | Рукав диам. 8 | |
| 37 | 311102-26-515СП(SP) | Тройник | |
| 37 | 311102-26-515-20СП(SP) | Тройник | |
| 38 | ГОСТ7796-70 | Болт | |
| 38 | ГОСТ7796-70 | Болт | |
| 39 | ГОСТ6402-70 | Шайба | |
| 39 | ГОСТ6402-70 | Шайба | |
| 40 | 310150 | Шайба 8.01.08кп.019 ГОСТ 11371-78 | |
| 40 | 310150-20 | Шайба 8.01.08кп.0221 ГОСТ 11371-78 | |
| 41 | 310150-05 | Шайба | |
| 41 | 310150-05-20 | Шайба | |
| 42 | 415119 | Хомутик |
Содержащиеся в справочниках-каталогах запасные части и детали не предлагаются к продаже, а носят исключительно информационный характер