Каталог запасных частей к технике: Промтрактор Т-15.02K. Агрегат тяговый
1501-96-1-20СП(SP)
1501-96-1СП(SP)
1
1
1
1
1
1
1
2
2
3
3
4
4
5
5
6
6
7
7
7
7
7
7
7
8
8
8
9
9
10
10
11
11
12
12
13
13
13
14
14
14
14
14
14
14
14
14
15
15
15
15
15
15
15
15
16
16
17
17
18
18
19
19
19
19
20
20
21
21
22
22
23
24
24
24
25
25
26
26
27
27
28
28
29
29
30
31
32
32
33
33
34
35
35
36
36
37
37
37
38
38
39
39
40
40
41
41
42
43
43
44
44
45
46
46
47
47
48
48
48
49
49
50
50
51
52
52
53
53
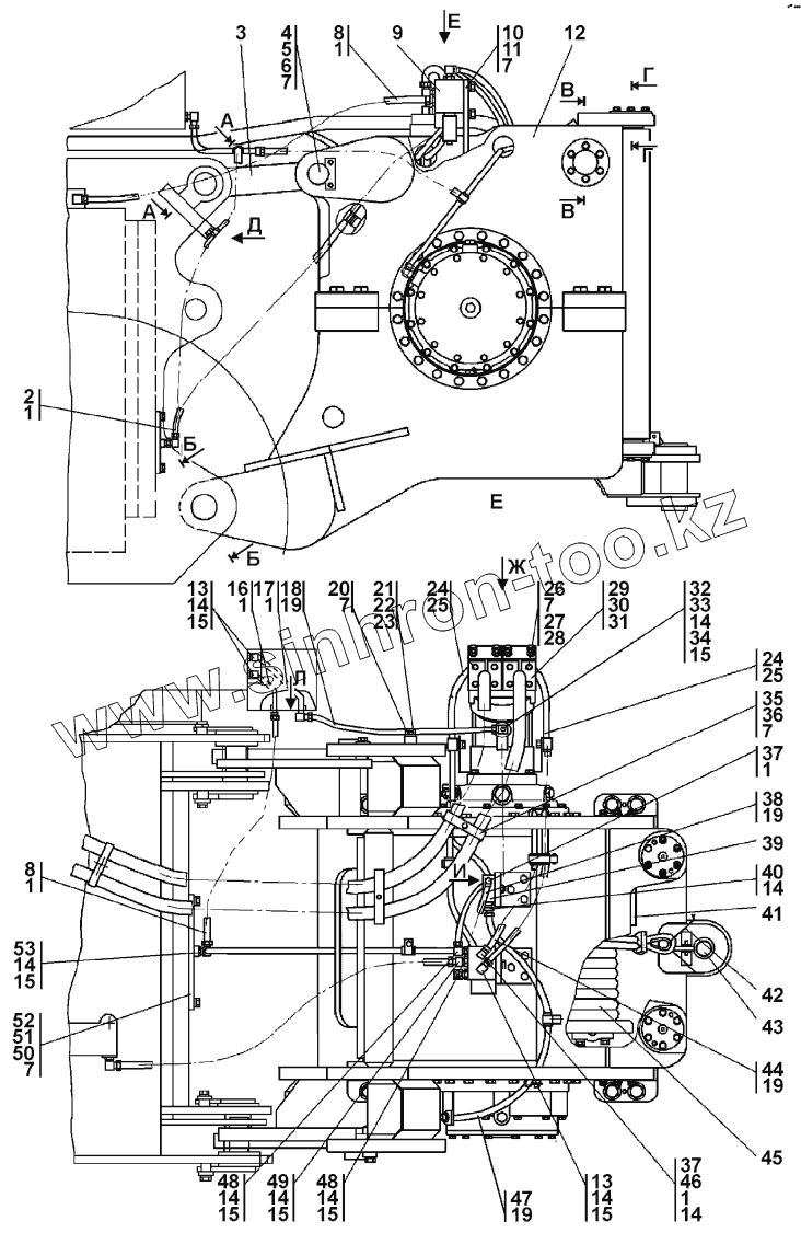
| Позиция на иллюстрации | Заводской номер детали | Название детали | |
|---|---|---|---|
| 1501-96-1-20СП(SP) | 1501-96-1-20СП(SP) | Агрегат тяговый | |
| 1501-96-1СП(SP) | 1501-96-1СП(SP) | Агрегат тяговый | |
| 1 | 01000580432000 | Кольцо 012-016-25-2-51-1668 | |
| 2 | 404-26-213-17СП(SP) | Рукав | |
| 2 | 404-26-213-17-20СП-20SP | Рукав | |
| 3 | 1501-96-51 | Серьга | |
| 3 | 1501-96-59-20 | Серьга | |
| 4 | 311102-93-22-01 | Палец | |
| 4 | 311102-93-22-01-20 | Палец | |
| 5 | 312501-94-103 | Пластина | |
| 5 | 312501-94-103-20 | Пластина | |
| 6 | 01000280565000 | Болт М12x1,25-6gx30 | |
| 6 | 01000280565200 | Болт М12x1,25-6gx30 | |
| 7 | 01000310400100 | Шайба 12 ОТ | |
| 7 | 01000310400200 | Шайба 12 ОТ | |
| 8 | 404-26-213-16СП(SP) | Рукав | |
| 8 | 404-26-213-16-20СП-20SP | Рукав | |
| 9 | 311102-26-39СП(SP) | Клапан | |
| 9 | 311102-96-39-20СП-20SP | Клапан | |
| 10 | 0901-96-60 | Опора | |
| 10 | 0901-96-60-20 | Опора | |
| 11 | 01000280522000 | Болт | |
| 11 | 01000280522200 | Болт | |
| 12 | 1501-96-10СП(SP) | Лебедка | |
| 12 | 1501-96-10-20СП(SP) | Лебедка | |
| 13 | 5001-26-77 | Угольник ввертной | |
| 13 | 5001-26-77-20 | Угольник ввертной | |
| 14 | 01000580474000 | Кольцо 018-022-25-2-51-1668 | |
| 15 | Н.036.23.022 | Контргайка | |
| 15 | Н.036.23.022-01 | Контргайка | |
| 16 | 1501-96-120СП(SP) | Трубопровод | |
| 16 | 1501-96-120-20СП(SP) | Трубопровод | |
| 17 | 1501-96-121СП(SP) | Трубопровод | |
| 17 | 1501-96-121-20СП(SP) | Трубопровод | |
| 18 | 311102-26-517-07СП(SP) | Рукав d.8 | |
| 18 | 311102-26-517-07-20СП(SP) | Рукав d.8 | |
| 19 | ТУ2531-260-0149245-00 | Кольцо 007-011-25-2-51 | |
| 20 | ГОСТ7796-70 | Болт | |
| 20 | ГОСТ7796-70 | Болт | |
| 21 | 2501-26-216 | Скоба | |
| 21 | 2501-26-216-20 | Скоба | |
| 22 | 2501-26-217 | Планка | |
| 22 | 2501-26-217-20 | Планка | |
| 23 | 400354-05 | Втулка | |
| 24 | 0602-28-22-03СПК(SPK) | Рукав | |
| 24 | 0602-28-22-03-20СПК-20(SPK) | Рукав | |
| 25 | ГОСТ18829-73 | Кольцо | |
| 26 | ГОСТ7796-70 | Болт | |
| 26 | ГОСТ7796-70 | Болт | |
| 27 | 310210 | Шайба 12х2.01.10.019 ГОСТ 11371-78 | |
| 27 | 310210-20 | Шайба 12х2.01.10.0221 ГОСТ 11371-78 | |
| 28 | 310210-05 | Шайба | |
| 28 | 310210-05-20 | Шайба | |
| 29 | 2501-26-83 | Фланец | |
| 29 | 2501-26-83-20 | Фланец | |
| 30 | 440038 | Кольцо защитное | |
| 31 | 032-038-36-2-51-1668 | Кольцо ГОСТ 18829-73/ТУ 38.005.204-84 | |
| 32 | 311102-26-515СП(SP) | Тройник | |
| 32 | 311102-26-515-20СП-20SP | Тройник | |
| 33 | 415233 | Штуцер | |
| 33 | 415233-20 | Штуцер | |
| 34 | 01000580479000 | Кольцо 019-023-25-2-51-1668 | |
| 35 | 2501-98-551 | Бугель | |
| 35 | 2501-98-551-20 | Бугель | |
| 36 | 280361 | Болт М12х1,25-6gх45.109.40Х019 ГОСТ 7796-70 | |
| 36 | 280361-20 | Болт М12х 1,25-6gх45.109.40Х029 ГОСТ 7796-70 | |
| 37 | 311102-26-514СП(SP) | Угольник | |
| 37 | 311102-26-514-20СП-20SP | Угольник | |
| 38 | 311102-26-517-19СП(SP) | Рукав | |
| 38 | 311102-26-517-19-20СП(SP) | Рукав | |
| 39 | 3501-96-300СП(SP) | Клапан | |
| 39 | 3501-96-300-20СП(SP) | Клапан | |
| 40 | 311102-26-566 | Штуцер ввертной | |
| 40 | 311102-26-566-20 | Штуцер ввертной | |
| 41 | 1501-96-52 | Труба | |
| 41 | 1501-96-52-20 | Труба | |
| 42 | ПроволокаКС5,0 | Проволока КС 5,0 | |
| 43 | 312001-51-14СП(SP) | Палец | |
| 43 | 312001-51-14-20СП-20SP | Палец | |
| 44 | 311102-26-517-28СП(SP) | Рукав d.8 | |
| 44 | 311102-26-517-28-20СП(SP) | Рукав d.8 | |
| 45 | 1501-96-106СП(SP) | Канат | |
| 46 | 1101-96-91 | Штуцер ввертной | |
| 46 | 1101-96-91-20 | Штуцер ввертной | |
| 47 | 311102-26-517-04-20СП(SP) | Рукав | |
| 47 | 311102-26-517-04СП(SP) | Рукав | |
| 48 | 311102-26-569 | Угольник поворотный | |
| 48 | 311102-26-569-20 | Угольник поворотный | |
| 49 | 5001-26-78 | Штуцер ввертной | |
| 49 | 5001-26-78-20 | Штуцер ввертной | |
| 50 | 01000280564000 | Болт М12-6gx30 | |
| 50 | 01000280564200 | Болт М12-6gx30 | |
| 51 | 450271 | Прокладка | |
| 52 | 1101-96-117-01СП(SP) | Крышка | |
| 52 | 1101-96-117-01-20СП-20SP | Крышка | |
| 53 | 2601-26-14СП(SP) | Тройник | |
| 53 | 2601-26-14-20СП(SP) | Тройник |
Содержащиеся в справочниках-каталогах запасные части и детали не предлагаются к продаже, а носят исключительно информационный характер