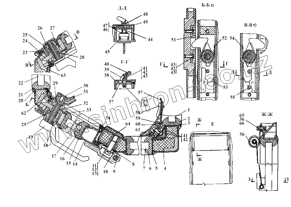
Каталог запасных частей к технике: Промтрактор Т-15.01Я. 2501-59-1СП Кабина
2501-59-1-20СП
2501-59-1СП
1
2
3
4
4
5
6
7
8
9
9
10
10
11
11
12
13
13
14
14
15
16
17
18
19
19
20
21
22
23
23
24
25
25
26
27
27
28
29
30
30
31
31
32
33
33
34
35
36
36
37
37
38
38
39
39
40
41
41
41
42
42
42
43
43
43
43
44
45
46
47
48
48
49
49
51
51
52
52
53
54
54
55
55
56
56
57
58
59
59
60
60
61
62
63
64
65
66
66
| Позиция на иллюстрации | Заводской номер детали | Название детали | |
|---|---|---|---|
| 2501-59-1-20СП | 2501-59-1-20СП | Кабина | |
| 2501-59-1СП | 2501-59-1СП | Кабина | |
| 1 | 2501-59-120СП | Стеклопакет | |
| 2 | 2501-59-112-03 | Окантовка | |
| 3 | 46-59-419-03 | Кант №23 | |
| 4 | 2501-59-101СП | Каркас | |
| 4 | 2501-59-101-20СП | Каркас | |
| 5 | 46-59-419-02 | Кант №23 | |
| 6 | 2501-59-112-02 | Окантовка | |
| 7 | 2501-59-119СП | Стеклопакет | |
| 8 | 401-59-422 | Планка | |
| 9 | 2501-59-105 | Стержень | |
| 9 | 2501-59-105-20СП | Стержень | |
| 10 | 46-59-245-20СП | Створка | |
| 10 | 46-59-245СП | Створка | |
| 11 | 280535 | Болт М16х1,5-6gх38.109.40Х.019 ГОСТ 7796-70 | |
| 11 | 280535-20 | Болт М16х1,5-6gх38.109.40Х.029 ГОСТ 7796-70 | |
| 12 | Шайба 16.0Т.65Г | Шайба 16.0Т.65Г | |
| 13 | 310270-20 | Шайба 16.01.20.0221 ГОСТ 11371-78 | |
| 13 | 310270 | Шайба 16.01.20.019 ГОСТ 11371-78 | |
| 14 | 2501-59-109СП | Дверь | |
| 14 | 2501-59-109-20СП | Дверь | |
| 15 | 46-59-419-01 | Кант №23 | |
| 16 | 2501-59-112-01 | Окантовка | |
| 17 | 2501-59-118СП | Стеклопакет | |
| 18 | 2501-59-130 | Втулка | |
| 19 | 2501-59-134-20СП | Ручка | |
| 19 | 2501-59-134СП | Ручка | |
| 20 | 2501-59-112 | Окантовка | |
| 21 | 46-59-419 | Кант №23 | |
| 22 | 2501-59-117СП | Стеклопакет | |
| 23 | 2501-59-110СП | Дверь | |
| 23 | 2501-59-110-20СП | Дверь | |
| 24 | 400417 | Уплотнитель | |
| 25 | 2501-59-84-01 | Втулка | |
| 26 | 2501-59-130-01 | Втулка | |
| 27 | 2501-59-82-01-20 | Защелка | |
| 27 | 2501-59-82-01 | Защелка | |
| 28 | 2501-59-129-01 | Поводок | |
| 29 | 2501-59-84 | Втулка | |
| 30 | 2501-59-102-20 | Винт | |
| 30 | 2501-59-102 | Винт | |
| 31 | 2501-59-135СП | Ручка | |
| 31 | 2501-59-135-20СП | Ручка | |
| 32 | 2501-59-129 | Поводок | |
| 33 | 2501-59-82 | Защелка | |
| 33 | 2501-59-82-20 | Защелка | |
| 34 | А37.08.025 | Уплотнитель | |
| 35 | Гайка М6 | Гайка М6 | |
| 36 | Шайба 6Т 65Г | Шайба 6Т 65Г | |
| 37 | 2501-59-89-20 | Накладка | |
| 37 | 2501-59-89 | Накладка | |
| 38 | 2501-59-131-20СП | Крышка | |
| 38 | 2501-59-131СП | Крышка | |
| 39 | 2501-59-138-20СП | Стопор | |
| 39 | 2501-59-138СП | Стопор | |
| 40 | 2501-59-101 | Ручка | |
| 41 | Болт М8х20 | Болт М8х20 | |
| 42 | Шайба 8Т.65Г | Шайба 8Т.65Г | |
| 43 | 310150 | Шайба 8.01.08кп.019 ГОСТ 11371-78 | |
| 43 | Болт М8х30 | Болт М8х30 | |
| 43 | 310150-20 | Шайба 8.01.08кп.0221 ГОСТ 11371-78 | |
| 44 | 2501-59-172 | Втулка | |
| 45 | 950.41.0115 | Механизм цилиндрический | |
| 46 | Шайба 5.65Г | Шайба 5.65Г | |
| 47 | Винт ВМ5х16 | Винт ВМ5х16 | |
| 48 | 2501-59-137-20СП | Стопор | |
| 48 | 2501-59-137СП | Стопор | |
| 49 | 2501-59-130-20СП | Крышка | |
| 49 | 2501-59-130СП | Крышка | |
| 51 | 2501-59-103 | Планка | |
| 51 | 2501-59-103-20 | Планка | |
| 52 | 2501-59-85 | Пружина | |
| 52 | 2501-59-85-20 | Пружина | |
| 53 | 401-59-307 | Пружина | |
| 54 | 2501-59-85-01 | Пружина | |
| 54 | 2501-59-85-01-20 | Пружина | |
| 55 | 2501-59-100 | Ось | |
| 55 | 2501-59-100-20 | Ось | |
| 56 | 2501-59-143СП | Штора | |
| 56 | 2501-59-143-20СП | Штора | |
| 57 | Хомут крепления термоса 05.46.303 | Хомут крепления термоса 05.46.303 | |
| 58 | 400085 | Опора | |
| 59 | 2501-59-150 | Кронштейн | |
| 59 | 2501-59-150-20 | Кронштейн | |
| 60 | 401-59-260-20СП | Гнездо | |
| 60 | 401-59-260СП | Гнездо | |
| 61 | 2501-59-146 | Панель | |
| 62 | 2501-59-145 | Панель | |
| 63 | 2501-59-145-01 | Панель | |
| 64 | 2501-59-149-01 | Панель | |
| 65 | Болт М6х16 | Болт М6х16 | |
| 66 | 310110 | Шайба 6.01.08кп.019 ГОСТ 11371-78 | |
| 66 | 310110-20 | Шайба 6.01.08кп.0221 ГОСТ 11371-78 |
Содержащиеся в справочниках-каталогах запасные части и детали не предлагаются к продаже, а носят исключительно информационный характер