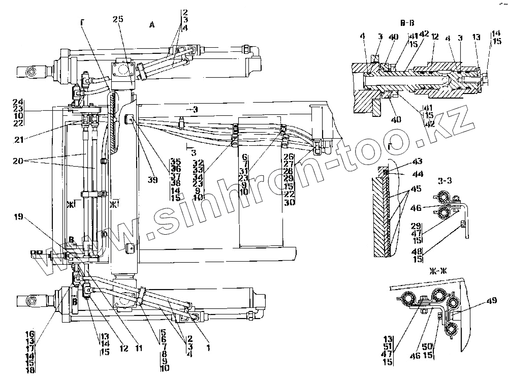
Каталог запасных частей к технике: Промтрактор Т-15.01Я. 2001-26-10-01СП Установка гидроцилиндров
2001-26-10-01-20СП
2001-26-10-01СП
1
1
2
2
2
3
3
3
3
4
4
4
4
5
5
6
6
6
7
7
7
8
8
9
9
9
10
10
10
10
11
11
12
12
12
13
13
13
13
13
14
14
14
14
15
15
15
15
15
15
15
15
15
15
15
16
16
17
18
18
19
19
20
20
21
21
22
22
22
23
23
23
23
24
24
25
25
26
26
27
27
28
29
29
30
31
32
32
33
33
34
35
36
36
37
37
38
38
39
39
40
40
40
41
41
42
42
42
42
42
43
44
45
46
46
46
47
47
48
49
50
51
51
| Позиция на иллюстрации | Заводской номер детали | Название детали | |
|---|---|---|---|
| 2001-26-10-01-20СП | 2001-26-10-01-20СП | Установка гидроцилиндров | |
| 2001-26-10-01СП | 2001-26-10-01СП | Установка гидроцилиндров | |
| 1 | 2001-26-39СП | Трубопровод | |
| 1 | 2001-26-39-20СП | Трубопровод | |
| 2 | 2001-26-36-01СП | Рукав d20 | |
| 2 | 2001-26-36-01-20СП | Рукав d20 | |
| 3 | 2001-26-193 | Кольцо защитное | |
| 4 | Кольцо 022-028-36-2-3 | Кольцо 022-028-36-2-3 | |
| 5 | 2001-26-192-20 | Прокладка | |
| 5 | 2001-26-192 | Прокладка | |
| 6 | 2501-26-300 | Скоба | |
| 6 | 2501-26-300-20 | Скоба | |
| 7 | 2501-26-301 | Планка | |
| 7 | 2501-26-301-20 | Планка | |
| 8 | 280520-20 | Болт М16х1,5-6gх30.109.40Х.029 ГОСТ 7796-70 | |
| 8 | 280520 | Болт М16х1,5-6gх30.109.40Х019 ГОСТ 7796-70 | |
| 9 | Гайка М16х1,5-6Н | Гайка М16х1,5-6Н | |
| 10 | Шайба 16.0Т.65Г | Шайба 16.0Т.65Г | |
| 11 | 2001-26-128-01-20 | Переходник | |
| 11 | 2001-26-128-01 | Переходник | |
| 12 | 2001-26-123-20 | Коллектор | |
| 12 | 2001-26-123 | Коллектор | |
| 13 | 315211-20 | Шайба | |
| 13 | 315211 | Шайба | |
| 14 | Болт М12х1,25-6gх30 | Болт М12х1,25-6gх30 | |
| 15 | Шайба 12.0Т.65Г | Шайба 12.0Т.65Г | |
| 16 | 2001-26-133 | Серьга | |
| 16 | 2001-26-133-20 | Серьга | |
| 17 | 58-51-2001 | Банка | |
| 18 | 310270 | Шайба 16.01.20.019 ГОСТ 11371-78 | |
| 18 | 310270-20 | Шайба 16.01.20.0221 ГОСТ 11371-78 | |
| 19 | 2001-26-76-01-20СП | Коллектор | |
| 19 | 2001-26-76-01СП | Коллектор | |
| 20 | 2001-26-36-02СП | Рукав | |
| 20 | 2001-26-36-02-20СП | Рукав | |
| 21 | 2001-26-75-20СП | Тройник | |
| 21 | 2001-26-75СП | Тройник | |
| 22 | 310210-20 | Шайба 12х2.01.10.0221 ГОСТ 11371-78 | |
| 22 | 310210 | Шайба 12х2.01.10.019 ГОСТ 11371-78 | |
| 23 | 280544 | Болт М16х1,5-6gх45.109.40Х019 ГОСТ 7796-70 | |
| 23 | 280544-20 | Болт М16х1,5-6gх45.109.40Х029 ГОСТ 7796-70 | |
| 24 | 2001-26-76-20СП | Коллектор | |
| 24 | 2001-26-76СП | Коллектор | |
| 25 | 2001-26-42СП | Ось | |
| 25 | 2001-26-42-20СП | Ось | |
| 26 | 2001-26-40-20СП | Трубопровод | |
| 26 | 2001-26-40СП | Трубопровод | |
| 27 | 2501-26-83 | Фланец | |
| 27 | 2501-26-83-20 | Фланец | |
| 28 | 440038 | Кольцо защитное | |
| 29 | Болт М12-6gх35 | Болт М12-6gх35 | |
| 30 | Кольцо 032-038-36-2-51-1668 | Кольцо 032-038-36-2-51-1668 | |
| 31 | 400354-05 | Втулка | |
| 32 | 2501-26-220-20 | Скоба | |
| 32 | 2501-26-220 | Скоба | |
| 33 | 2501-26-221-20 | Планка | |
| 33 | 2501-26-221 | Планка | |
| 34 | 400354-03 | Втулка | |
| 35 | 46-26-654 | Стопор | |
| 36 | 46-26-659 | Крышка | |
| 36 | 46-26-659-20 | Крышка | |
| 37 | 315425 | Шайба | |
| 37 | 315425-20 | Шайба | |
| 38 | 700-40-6563-20 | Прокладка | |
| 38 | 700-40-6563 | Прокладка | |
| 39 | 700-41-2151СП | Масленка | |
| 39 | 700-41-2151-20СП | Масленка | |
| 40 | 2001-26-125 | Фланец | |
| 40 | 2001-26-125-20 | Фланец | |
| 41 | Болт М10-6gх30 | Болт М10-6gх30 | |
| 42 | 2001-26-128-20 | Переходник | |
| 42 | 2001-26-128 | Переходник | |
| 42 | 310170 | Шайба 10.01.10.019 ГОСТ 11371-78 | |
| 42 | 310170-20 | Шайба 10.01.10.0221 ГОСТ 11371-78 | |
| 43 | Кольцо 135-145-58-2-51-1668 | Кольцо 135-145-58-2-51-1668 | |
| 44 | 2001-26-135 | Кольцо уплотнительное | |
| 45 | 2001-26-137 | Втулка опорная | |
| 46 | 312501-94-155 | Планка | |
| 46 | 312501-94-155-20 | Планка | |
| 47 | Гайка М12-6Н6 | Гайка М12-6Н6 | |
| 48 | Болт М12х1,25-6gх25 | Болт М12х1,25-6gх25 | |
| 49 | 401-89-48-01 | Втулка | |
| 50 | М12х1,25-6gх55 | Болт | |
| 51 | 280350-20 | Болт М12х40 ГОСТ 7798-70 | |
| 51 | 280350 | Болт М12х1,25-6gх40 ГОСТ 7798-70 |
Содержащиеся в справочниках-каталогах запасные части и детали не предлагаются к продаже, а носят исключительно информационный характер