Вернуться на главную
Поиск
Каталоги запчастей к технике
Спецтехника
Промтрактор
Т-15.01Я
2001-12-11СП Коробка передач
Каталог запасных частей к технике: Промтрактор Т-15.01Я. 2001-12-11СП Коробка передач
zoom-in
zoom-out
enlarge
shrink
circle-right
circle-left
file-text2
info
cart
Тип техники
Не выбрано
Легковые автомобили
Грузовые автомобили и прицепы
Автобусы
Сельхозтехника
Спецтехника
Двигатели
Мототехника
Марка
Не выбрано
Ammann
BOMAG
CARMIX
CASE IH
Changlin
ChengGong
Dimex
Doosan
DYNAPAC
Foton
HAMM
Hidromek
Hitachi
Hyundai
JCB
JLG
John Deere
Komatsu
LIEBHERR
LiuGong
Lonking (LongGong)
Luneng
MANITOU
Mitsuber
New Holland
PENGPU
RM-Terex
SANY
SDLG
SEM
Shantui
Shehwa HBXG
Soosan
TIGARBO
VOGELE
Volvo
WAY
WIRTGEN
XCMG
XGMA
Xiamen
YTO
Yuchai
Zoomlion
Автокран
АЗСМ
Алтайлесмаш
Амкодор
АОМЗ
Атек
АТЗ
Балканкар Рекорд
БелАЗ
Беловеж
Борекс
Брянский Арсенал
Булат
ВЭКС
ГАЗ
Геомаш
Гидромаш
Донекс
Дормаш
Дормашина
Дорэлектромаш
ДЭЗ
ЕлАЗ
ЗЗГТ
Ижнефтемаш
Канаш-электрокар
КЗКТ
ККЗ
Клевер
Клинцовский автокрановый завод
КМЗ
КМЗ 1 Мая
Ковровец
Коммаш
Кранэкс
КЭЗ
КЭМЗ
ЛЗА
МАЗ
МЗИК
МЗКМ
МЗКТ
Михневский РМЗ
МоАЗ
Мозырский МЗ
МТЗ
ОЗП
Онежец
ПАО "ТЗА"
ППС Детва
Промтрактор
ПТЗ
Раскат
СпецАгрегат
ТВЭКС
ТТМ
УВЗ
Угличмаш
УЗТМ
ХТЗ
ЧЗКМ
ЧСДМ
ЧТЗ
ЭКСКО
ЭКСМАШ
ЮрМаш
Модель
Не выбрано
ПК-12.02 (2007)
ПК-12.02К (2007)
ПК-60.01 (2007)
Т-11.01К (2008)
Т-11.01Я
Т-11.02К (2008)
Т-11.02Я (2008)
Т-15.01К (2007)
Т-15.01Я (2000)
Т-15.02K (2009)
Т-15.02Я (2009)
Т-20.01К
Т-20.01Я (2000)
Т-20.01Я (2005) (2005)
Т-20.02К (Четра) (2009)
Т-20.02Я (Четра) (2009)
Т-25.01К1 (2008)
Т-25.01Я (2006)
Т-330 (2006)
Т-35.01К (2007)
Т-35.01Я
Т-40.01К (2008)
Т-50.01 (1998)
Т-500 (1999)
Т-9.01Я (2007)
ТГ-121Я (2004)
ТГ-221КМ (2006)
ТГ-221Я (2004)
ТГ-301К (2006)
ТГ-301Я (2004)
ТГ-302Я (2010)
ТГ-503К (2006)
ТГ-503Я (2006)
ТГ-511 (2008)
Шасси ТП-20.02 (2008)
Схема
>
Не выбрано
2501-59-1СП Кабина
2501-59-1СП Кабина
2501-59-1СП Кабина
3501-24-1-02СП Пол
А71.20.00.000-1 Сиденье
2001-53-2СП Система отопления кабины
2001-53-2СП Система отопления кабины
2002-43-2СП Установка системы подогрева
2502-43-40СП Установка обогревателя кабины
2501-57-3СП Установка вентиляторов кабины
2501-57-107СП Вентилятор
1501-55-1-01СП Облицовка
1501-55-1-01СП Облицовка
2001-61-1СП Установка защиты кабины
1501-64-1СП Установка кожухов
2002-01-1-01СП Установка двигателя
1502-25-1СП Установка топливного бака
2001-25-10СП Бак топливный
1502-01-1СП Установка систем воздухоочистки и выпуска
1502-05-12СП Воздухоочиститель
2002-60-1-01СП Система охлаждения двигателя и трансмиссии
2002-60-1-01СП Система охлаждения двигателя и трансмиссии
2002-60-1-01СП Система охлаждения двигателя и трансмиссии
2002-60-112СП Радиатор
2002-60-113СП Блок радиаторов
1501-16-1-01СП Установка трансмиссии
1501-16-1-01СП Установка трансмиссии
2001-12-13СП Блок трансмиссии
2001-12-10СП Коробка передач планетарная
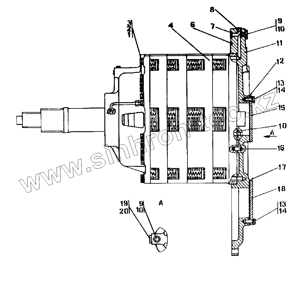
2001-12-11СП Коробка передач
2001-49-1-01СП Передача карданная
2001-12-12СП Передача главная
2001-12-12СП Передача главная
2001-18-10-01СП Фрикцион бортовой и тормоз остановочный
1501-19-1СП Передача бортовая фрикцион и тормоз
1501-19-10СП Передача бортовая
2002-20-1СП Муфта упругая
2001-14-1СП Гидротрансформатор с редуктором привода насосов
2001-14-1СП Гидротрансформатор с редуктором привода насосов
2001-14-1СП Гидротрансформатор с редуктором привода насосов
2001-14-13СП Клапан
2001-14-17СП Клапан
1501-15-20СП Блок управления
1501-15-31СП Блок управления
312001-15-10СП Фильтр
312001-15-15СП Делитель потока
3501-16-103СП Клапан
1501-11-1-02СП Рама
1501-21-201СП Система ходовая полужесткая
1501-21-202СП Тележка полужесткая
1501-21-13СП Колесо натяжное
311502-21-14СП Каток опорный
1501-21-15СП Каток поддерживающий
1501-21-16СП Механизм сдавания
1501-21-17СП Механизм натяжения
1501-21-218СП Шарнир
1501-22-1СП Гусеница
2001-13-1-01СП Управление трактором
2001-13-1-01-20СП Управление трактором
2001-13-50-01СП Привод управления
2001-13-50-01СП Привод управления
2001-13-50-01СП Привод управления
2001-10-1-02СП Электрооборудование
2001-10-11-02СП Установка электрооборудования на раме
2001-10-13СП Электрооборудование топливного бака
2001-10-14СП Электрооборудование передней облицовки
2001-10-15СП Электрооборудование подогревателя ПЖД 30Г
2001-10-16СП Установка электрооборудования в контейнере отопителя
2001-10-17СП Установка электрооборудования в контейнере АКБ
2001-10-21СП Электрооборудование отопителя кабины
2001-10-125СП Блок управления отопителем
2002-10-12СП Электрооборудование двигателя
2502-10-15-02СП Электрооборудование пола кабины
2502-10-15-02СП Электрооборудование пола кабины
2502-10-15-02СП Электрооборудование пола кабины
2502-10-156-01СП Блок выключателей
404-10-270СП Установка фары
3501-10-14СП Электрооборудование крыши кабины
3501-10-14СП Электрооборудование крыши кабины
3501-10-14СП Электрооборудование крыши кабины
3501-10-169-01СП Блок выключателей
2502-10-153-01СП Шиток приборов
1501-26-1СП Установка гидросистемы
2001-26-21СП Распределитель секционный
2001-26-30СП Бак гидросистемы
2001-26-52СП Клапан
2001-26-54СП Клапан
2001-26-10-01СП Установка гидроцилиндров
2001-26-10-01СП Установка гидроцилиндров
1501-26-501СП Гидроцилиндр диаметр 110
011501-91-1СП Оборудование бульдозерное прямое
011501-91-20СП Отвал
011501-92-1СП Оборудование бульдозерное сферическое
011501-92-20СП Отвал
011501-93-1СП Оборудование бульдозерное полусферическое
011501-93-20СП Отвал
011501-93-180СП Раскос винтовой
011501-93-500СП Гидросистема бульдозерного оборудования
011501-93-502СП Гидрораскос диаметр 160
011501-97-1СП Оборудование рыхлительное
011501-97-1СП Оборудование рыхлительное
0115501-97-120СП Зуб
011501-97-501СП Гидросистема рыхлительного оборудования
011501-97-502СП Гидроцилиндр диаметр 160
011501-93-508СП Гидрозамок
2001-12-11-20СП
2001-12-11СП
1
2
3
4
6
6
7
8
8
9
9
9
10
10
10
11
11
12
12
13
13
14
14
15
16
17
17
18
19
19
20
Позиция на иллюстрации
Заводской номер детали
Название детали
2001-12-11-20СП
2001-12-11-20СП
Коробка передач
2001-12-11СП
2001-12-11СП
Коробка передач
1
Проволока КС-1
Проволока КС-1
2
315220
Шайба
3
2001-12-38-01
Болт специальный
4
2001-12-10СП
Коробка передач планетарная
6
400319-05-20
Кольцо
6
400319-05
Кольцо
7
Кольцо 030-035-30-2 ИРП1314-1
Кольцо 030-035-30-2 ИРП1314-1
8
370260-20
Пробка 3-КГ 1/4"
8
370260
Пробка 3-КГ 1/4" 20.019 ТУ 23.1.506-91
9
375330
Пробка
9
375330-20
Пробка
10
018-022-25-2-51-1668
Кольцо
11
2001-12-52
Корпус
11
2001-12-52-20
Корпус
12
450272
Прокладка
12
450272-20
Прокладка
13
Болт М12-6gх30
Болт М12-6gх30
14
Шайба 12.0Т.65Г
Шайба 12.0Т.65Г
15
2001-12-74
Крышка
16
325383
Штифт
17
450271-20
Прокладка
17
450271
Прокладка
18
2001-12-75
Крышка
19
375625-20
Пробка
19
375625
Пробка
20
Кольцо 016-020-25-2-51-1668
Кольцо 016-020-25-2-51-1668
Содержащиеся в справочниках-каталогах запасные части и детали не предлагаются к продаже, а носят исключительно информационный характер
Дополнительная информация
×
Название:
Номер:
Примечание: