Вернуться на главную
Поиск
Каталоги запчастей к технике
Спецтехника
Промтрактор
Т-15.01К
1501-96-10СП Лебедка
Каталог запасных частей к технике: Промтрактор Т-15.01К. 1501-96-10СП Лебедка
zoom-in
zoom-out
enlarge
shrink
circle-right
circle-left
file-text2
info
cart
Тип техники
Не выбрано
Легковые автомобили
Грузовые автомобили и прицепы
Автобусы
Сельхозтехника
Спецтехника
Двигатели
Мототехника
Марка
Не выбрано
Ammann
BOMAG
CARMIX
CASE IH
Changlin
ChengGong
Dimex
Doosan
DYNAPAC
Foton
HAMM
Hidromek
Hitachi
Hyundai
JCB
JLG
John Deere
Komatsu
LIEBHERR
LiuGong
Lonking (LongGong)
Luneng
MANITOU
Mitsuber
New Holland
PENGPU
RM-Terex
SANY
SDLG
SEM
Shantui
Shehwa HBXG
Soosan
TIGARBO
VOGELE
Volvo
WAY
WIRTGEN
XCMG
XGMA
Xiamen
YTO
Yuchai
Zoomlion
Автокран
АЗСМ
Алтайлесмаш
Амкодор
АОМЗ
Атек
АТЗ
Балканкар Рекорд
БелАЗ
Беловеж
Борекс
Брянский Арсенал
Булат
ВЭКС
ГАЗ
Геомаш
Гидромаш
Донекс
Дормаш
Дормашина
Дорэлектромаш
ДЭЗ
ЕлАЗ
ЗЗГТ
Ижнефтемаш
Канаш-электрокар
КЗКТ
ККЗ
Клевер
Клинцовский автокрановый завод
КМЗ
КМЗ 1 Мая
Ковровец
Коммаш
Кранэкс
КЭЗ
КЭМЗ
ЛЗА
МАЗ
МЗИК
МЗКМ
МЗКТ
Михневский РМЗ
МоАЗ
Мозырский МЗ
МТЗ
ОЗП
Онежец
ПАО "ТЗА"
ППС Детва
Промтрактор
ПТЗ
Раскат
СпецАгрегат
ТВЭКС
ТТМ
УВЗ
Угличмаш
УЗТМ
ХТЗ
ЧЗКМ
ЧСДМ
ЧТЗ
ЭКСКО
ЭКСМАШ
ЮрМаш
Модель
Не выбрано
ПК-12.02 (2007)
ПК-12.02К (2007)
ПК-60.01 (2007)
Т-11.01К (2008)
Т-11.01Я
Т-11.02К (2008)
Т-11.02Я (2008)
Т-15.01К (2007)
Т-15.01Я (2000)
Т-15.02K (2009)
Т-15.02Я (2009)
Т-20.01К
Т-20.01Я (2000)
Т-20.01Я (2005) (2005)
Т-20.02К (Четра) (2009)
Т-20.02Я (Четра) (2009)
Т-25.01К1 (2008)
Т-25.01Я (2006)
Т-330 (2006)
Т-35.01К (2007)
Т-35.01Я
Т-40.01К (2008)
Т-50.01 (1998)
Т-500 (1999)
Т-9.01Я (2007)
ТГ-121Я (2004)
ТГ-221КМ (2006)
ТГ-221Я (2004)
ТГ-301К (2006)
ТГ-301Я (2004)
ТГ-302Я (2010)
ТГ-503К (2006)
ТГ-503Я (2006)
ТГ-511 (2008)
Шасси ТП-20.02 (2008)
Схема
>
Не выбрано
1101-111-60СП/-61СП/-62СП Кабина
1101-111-60СП/-61СП/-62СП Кабина
1101-111-60СП/-61СП/-62СП Кабина
1101-111-60СП/-61СП/-62СП Кабина
1101-111-63СП/-64СП/-65СП Кабина
1101-111-63СП/-64СП/-65СП Кабина
1101-111-63СП/-64СП/-65СП Кабина
1101-111-63СП/-64СП/-65СП Кабина
1101-89-2МК/-3МК Машинокомплект интерьера «Четра»
2001-61-1СП Установка защиты кабины
2501-59-1СП/1-01СП Кабина
2501-59-1СП/1-01СП Кабина
2501-59-1СП/1-01СП Кабина
1501-55-1-03СП Облицовка
1501-55-1-03СП Облицовка
1501-55-1-03СП Облицовка
3501-24-1-01СП Пол
312001-57-2СП Установка вентиляторов кабины
1101-47-1СП Установка отопителя кабины
2001-53-3СП Установка независимого отопителя кабины
2001-53-3СП Установка независимого отопителя кабины
2502-48-2-03СП Установка кондиционера
1101-23-1СП Установка сиденья
2001-13-1-02СП Управление трактором
2001-13-1-02СП Управление трактором
1101-13-50-06СП/-07СП Привод управления
1101-13-50-06СП/-07СП Привод управления
1101-13-50-06СП/-07СП Привод управления
1506-01-1СП/-01СП Установка двигателя QSC8,3-С245 «Cummins»
1506-01-1СП/-01СП Установка двигателя QSC8,3-С245 «Cummins»
1506-05-1СП Установка систем воздухоочистки и выпуска
1502-05-12-01СП Воздухоочиститель
1506-25-1СП Установка топливного бака
1506-25-1СП Установка топливного бака
2001-25-10СП Бак топливный
1506-43-1СП Установка системы подогрева
1506-43-1СП Установка системы подогрева
1506-43-1СП Установка системы подогрева
1506-60-1СП Система охлаждения
1506-60-1СП Система охлаждения
1506-60-1СП Система охлаждения
2001-10-1-06СП/-07СП/-08СП/-09СП Электрооборудование
Электрооборудование
2001-10-11-06СП Установка электрооборудования на раме
2001-10-11-06СП Установка электрооборудования на раме
2001-10-13СП Электрооборудование топливного бака
2001-10-14СП Электрооборудование передней облицовки
2001-10-16СП Установка электрооборудования
2001-10-17СП Установка электрооборудования
1102-10-17-02СП Электрооборудование отопителя
1506-10-12СП Электрооборудование двигателя
1102-10-18-17СП Электрооборудование пола кабины
1102-10-155-02СП Установка электрооборудования пола кабины
1102-10-156-04СП Установка блока выключателей
1106-10-140-03СП Блок выключателей
404-10-270СП Установка фары
1102-10-13-01СП Электрооборудование крыши кабины
1102-10-13-02СП Электрооборудование крыши кабины
1102-10-13-04СП Электрооборудование крыши кабины
1102-10-165СП/-01СП/-02СП Щиток выключателей
1102-10-176 Кондиционер
2502-10-169СП Установка жгута к контейнеру АКБ
1146-10-109СП Установка жгута
1146-10-113СП Установка таймера
1106-10-145-02СП Установка жгута
1102-10-163-08СП Щиток приборов
1501-11-1-05СП Рама
1501-11-32СП Балка
1501-11-1-06СП Рама
1501-11-9СП Балка
1501-21-201СП Система ходовая полужесткая
1501-21-202СП/-203СП Тележка полужесткая
1501-21-44-02/-44-03СП Каток опорный
1132-21-18СП Шарнир
1501-21-1СП Система ходовая
1501-21-2СП/-3СП Тележка
1501-21-18СП Шарнир
1501-21-5СП Каретка
1501-21-44СП/-44-01СП Каток опорный
1501-21-10СП Каток поддерживающий
1501-21-15СП Каток поддерживающий
1501-21-45СП Колесо натяжное
1501-21-37СП Механизм сдавания
1501-22-1СП Гусеница
ТЖ 216-22-000 Гусеница
1101-21-42-02СП/-03СП Механизм натяжения
1501-64-1-02СП Установка кожухов
1501-16-1-01СП Установка трансмиссии
1501-16-1-01СП Установка трансмиссии
2001-12-10СП Коробка передач планетарная
2001-12-11СП Коробка передач
2001-12-12СП Передача главная
2001-12-12СП Передача главная
2001-12-13СП Блок трансмиссии
2001-12-100СП Водило
2001-12-102СП Водило
2001-12-103СП Водило
2001-12-118СП Водило
2001-14-1СП Гидротрансформатор
2001-14-1СП Гидротрансформатор
2001-14-1СП Гидротрансформатор
2001-14-17СП Клапан
2001-18-10-01СП Фрикцион бортовой
2001-19-1СП Передача бортовая, фрикцион и тормоз
1501-19-10СП Передача бортовая
1101-15-15СП Делитель потока
1501-15-20СП Блок управления
1501-15-41СП Блок управления
1501-19-101СП Водило
2001-49-1-01СП Вал карданный
2501-15-138СП Клапан
312001-15-10СП Фильтр
312001-20-2СП Муфта упругая
1501-26-1СП/-01СП Установка гидросистемы
1501-26-1-02СП Установка гидросистемы
2001-26-21-01СП Распределитель секционный
2001-26-22СП Распределитель
2001-26-22-01СП Распределитель
2001-26-22-02СП Распределитель
2001-26-24СП Клапан предохранительный
2001-26-30СП/-01CП Бак гидросистемы
2001-26-23СП Клапан
1501-26-10-01СП Установка гидроцилиндров
1501-26-10-01СП Установка гидроцилиндров
1501-26-501-02СП Гидроцилиндр
011501-91-3СП Оборудование бульдозерное прямое
011501-91-3СП Оборудование бульдозерное прямое
011501-91-22СП Отвал
011501-92-3СП Оборудование бульдозерное сферическое
011501-92-3СП Оборудование бульдозерное сферическое
011501-92-22СП Отвал
011501-93-3СП Оборудование бульдозерное полусферическое
011501-93-3СП Оборудование бульдозерное полусферическое
011501-93-22СП Отвал
011501-93-180СП Раскос винтовой
011501-93-500СП Гидросистема бульдозерного оборудования
011501-93-502СП Гидрораскос d.160
011501-93-508СП Гидрозамок
011501-97-1СП Оборудование рыхлительное
011501-97-1СП Оборудование рыхлительное
011501-97-120СП/-01СП Зуб
011501-97-501СП Гидросистема рыхлительного оборудования
011501-97-502СП Гидроцилиндр d.160
011501-98-1СП Оборудование рыхлительное
011501-98-1СП Оборудование рыхлительное
1501-96-1СП Агрегат тяговый
1501-96-1СП Агрегат тяговый
1501-96-10СП Лебедка
1501-96-10СП Лебедка
1501-96-100СП Бустер
1501-96-101СП Водило
1501-96-103СП Механизм планетарный
311102-26-39СП Клапан
3501-96-103СП Бустер
3501-96-300СП Клапан
2001-51-1-01СП Установка прицепного устройства
Э1506-05-1СП Установка систем воздухоочистки и выпуска
1506-60-1-01СП Система охлаждения
1506-60-1-01СП Система охлаждения
1506-60-1-01СП Система охлаждения
1512-11-1-02СП Рама
1512-11-11СП Балка
1501-16-1-02СП Установка трансмиссии
1501-16-1-02СП Установка трансмиссии
311502-19-1СП Передача бортовая, фрикцион и тормоз
311501-19-10СП Передача бортовая
1512-21-1СП Система ходовая
1512-21-2СП/-3СП Тележка
1512-21-18СП Шарнир
ТЖ216-22-000-02 Гусеница
1501-22-1СП Гусеница
1512-26-11СП Установка гидроцилиндров
1512-26-11СП Установка гидроцилиндров
1501-26-501-01СП Гидроцилиндр d.110
1501-55-1-02СП Облицовка
1501-55-1-02СП Облицовка
Э211512-93-2-01СП Оборудование бульдозерное полусферическое
Э211512-93-2-01СП Оборудование бульдозерное полусферическое
Э211512-93-21-01СП Отвал
211512-93-500СП Гидросистема бульдозерного оборудования
011501-93-502-01СП Гидрораскос d.160
Э011501-97-29СП Отбойник с прицепным устройством
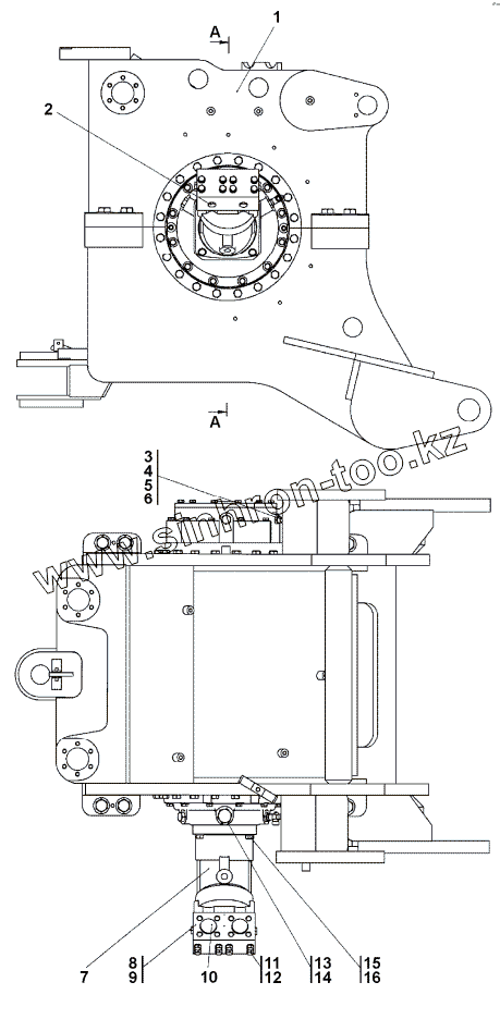
1501-96-10-20СП(SP)
1501-96-10СП(SP)
1
1
2
3
3
4
4
5
6
7
8
8
9
10
11
11
12
12
13
13
14
15
15
16
Позиция на иллюстрации
Заводской номер детали
Название детали
1501-96-10-20СП(SP)
1501-96-10-20СП(SP)
Лебедка
1501-96-10СП(SP)
1501-96-10СП(SP)
Лебедка
1
1501-96-11СП(SP)
Корпус лебедки
1
1501-96-11-20СП(SP)
Корпус лебедки
2
700-40-5067
Пробка
3
311102-26-513СП(SP)
Угольник
3
311102-26-513 -20СП(SP)
Угольник
4
Н.036.23.022
Контргайка
4
Н.036.23.022-01
Контргайка
5
2501-26-294
Заглушка
6
018-022-25-2-51-1668
Кольцо ГОСТ 9833-73/ТУ 38.005.204-84
7
310.3.160.00.06
Гидромотор 310.3.160.00.06
8
1501-96-71-20
Фланец
8
1501-96-71
Фланец
9
042-050-46-2-51-1668
Кольцо ГОСТ 18829-73/ТУ 38.005.204-84
10
44 0064
Заглушка
11
28 0518
Болт М14-6gx115
11
28 0518-20
Болт М14-6gx115
12
31 5220
Шайба
12
31 5220-20
Шайба
13
37 5952
Пробка
13
37 5952-20
Пробка
14
032-038-36-2-51-1668
Кольцо ГОСТ 18829-73/ТУ 38.005.204-84
15
28 0551
Болт M16-6gx50
15
28 0551-20
Болт M16-6gx50
16
Шайба 16 ОТ
Шайба 16 ОТ
Содержащиеся в справочниках-каталогах запасные части и детали не предлагаются к продаже, а носят исключительно информационный характер
Дополнительная информация
×
Название:
Номер:
Примечание: