Каталог запасных частей к технике: Промтрактор Т-11.02Я. 2501-59-1СП/-1-01СП Кабина
1
1
1
1
2
2
3
3
4
4
5
5
6
7
7
8
8
9
10
11
12
12
13
14
15
16
17
17
18
19
20
21
22
22
23
24
24
25
26
27
28
29
30
31
32
32
33
33
33
34
35
36
37
38
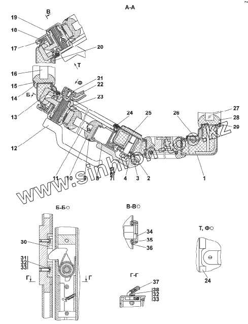
| Позиция на иллюстрации | Заводской номер детали | Название детали | |
|---|---|---|---|
| 1 | 2501-59-101-20СП(SP) | Каркас | |
| 1 | 2501-59-101СП(SP) | Каркас | |
| 1 | 2501-59-101-01-20СП-20SP | Каркас | |
| 1 | 2501-59-101-01СП(SP) | Каркас | |
| 2 | 401-59-422 | Планка | |
| 2 | 401-59-422-20 | Планка | |
| 3 | 2501-59-105 | Стержень | |
| 3 | 2501-59-105-20 | Стержень | |
| 4 | 46-59-245СП(SP) | Створка | |
| 4 | 46-59-245-20СП(SP) | Створка | |
| 5 | 28 0535 | Болт М16х1,25-6gх38.109.40Х.019 ГОСТ 7796-70 | |
| 5 | 28 0535-20 | Болт М16х1,25-6gх38.109.40Х.029 ГОСТ 7796-70 | |
| 6 | Шайба 16 ОТ | Шайба 16 ОТ | |
| 7 | 31 0270-20 | Шайба 16.0Т.10.0221 ГОСТ 11371-78 | |
| 7 | 31 0270 | Шайба 16 ГОСТ 11371-78 | |
| 8 | 2501-59-109СП(SP) | Дверь | |
| 8 | 2501-59-109-20СП(SP) | Дверь | |
| 9 | 46-59-419-06 | Кант №23 | |
| 10 | 2501-59-73-01 | Окантовка | |
| 11 | 2501-59-118СП(SP) | Стеклопакет СПКТ ТУ21-0287200-005-91 | |
| 12 | 2501-59-134СП(SP) | Ручка | |
| 12 | 2501-59-134-20СП(SP) | Ручка | |
| 13 | 2501-59-145 | Панель | |
| 14 | 2501-59-73 | Окантовка | |
| 15 | 46-59-419 | Кант №23 | |
| 16 | 2501-59-117СП(SP) | Стеклопакет СПКТ ТУ21-0287200-005-91 | |
| 17 | 2501-59-110-20СП(SP) | Дверь | |
| 17 | 2501-59-110СП(SP) | Дверь | |
| 18 | 40 0460 | Уплотнитель двери | |
| 19 | А1.2501-59-25 | Замок правый А1.2501-59-25 | |
| 20 | 2501-59-145-01 | Панель | |
| 21 | Винт А1.2501-59-102 | Винт А1.2501-59-102 | |
| 22 | 2501-59-135СП(SP) | Ручка | |
| 22 | 2501-59-135-20СП(SP) | Ручка | |
| 23 | А1.2501-59-26 | Замок левый А1.2501-59-26 | |
| 24 | 2107-6107018 (покупной) | Уплотнитель 2107-6107018 (покупной) | |
| 25 | 2501-59-258-01 | Панель | |
| 26 | 2501-59-257-01 | Панель | |
| 27 | 2501-59-120СП(SP) | Стеклопакет СПКТ ТУ21-0287200-005-91 | |
| 28 | 2501-59-73-03 | Окантовка | |
| 29 | 46-59-419-03 | Кант №23 | |
| 30 | А1.2501-59-103 | Планка А1.2501-59-103 | |
| 31 | Болт М8-6gx30 | Болт М8-6gx30 | |
| 32 | Шайба 8Т | Шайба 8Т | |
| 33 | 31 0150 | Шайба 8 ГОСТ 11371-78 | |
| 33 | 31 0150-20 | Шайба 8.01.08кп.0221 ГОСТ 11371-78 | |
| 34 | МЦ8-9.00.02 | Накладка МЦ8-9.00.02 | |
| 35 | Винт МЦ8-9.00.04 | Винт МЦ8-9.00.04 | |
| 36 | МЦ8-9.00.03 | Пластина пружинная МЦ8-9.00.03 | |
| 37 | 2501-59-101 | Ручка | |
| 38 | Болт М8-6gx20 | Болт М8-6gx20 |
Содержащиеся в справочниках-каталогах запасные части и детали не предлагаются к продаже, а носят исключительно информационный характер