Каталог запасных частей к технике: Промтрактор Т-11.02Я. 0901-96-10СП Лебедка
1
2
3
4
4
5
6
7
7
7
8
8
8
9
10
10
11
12
12
13
13
14
15
16
17
18
18
19
19
19
20
21
21
22
22
23
23
23
23
24
24
25
26
26
27
28
28
29
29
29
30
30
31
31
32
32
33
34
35
36
37
37
38
38
39
40
40
41
42
43
44
45
46
47
48
49
50
51
51
52
53
54
55
56
56
57
58
58
59
60
61
61
62
63
64
65
66
67
67
68
68
69
70
70
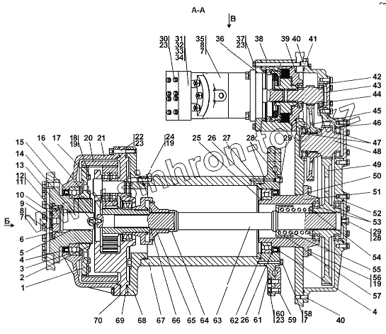
| Позиция на иллюстрации | Заводской номер детали | Название детали | |
|---|---|---|---|
| 1 | 0901-96-109СП(SP) | Муфта | |
| 2 | 700-58-2095 | Кольцо С160 ГОСТ 13940-86 | |
| 3 | 132 | Подшипник 132 | |
| 4 | 180-220-15BASL (NBR) DIN3761 | Манжета 180-220-15BASL (NBR) DIN3761 | |
| 5 | QRAR 04332-№7004 | Кольцо QRAR 04332-№7004 Каталог: QUAD-RING SEAL | |
| 6 | 070-080-58-2-51-1668 | Кольцо 070-080-58-2-51-1668 | |
| 7 | Шайба 16 ОТ | Шайба 16 ОТ | |
| 8 | 28 0550 | Болт М16х1,5-6gх50.109.40Х.019 ГОСТ 7796-70 | |
| 8 | 28 0550-20 | Болт М16х1,5-6gх50.109.40Х.029 ГОСТ 7796-70 | |
| 9 | 700-40-5067 | Пробка | |
| 10 | 0901-96-13 | Крышка | |
| 10 | 0901-96-13-20 | Крышка | |
| 11 | Шайба 10 ОТ | Шайба 10 ОТ | |
| 12 | 28 0230-20 | Болт М10-6gх25 ГОСТ 7796-70 | |
| 12 | 28 0230 | Болт М10-6gх25 ГОСТ 7796-70 | |
| 13 | 0901-96-5 | Фланец | |
| 13 | 0901-96-5-20 | Фланец | |
| 14 | 0901-96-10 | Поршень | |
| 15 | 311102-90-13 | Пята | |
| 16 | 700-58-2396 | Кольцо С240 ГОСТ 13941-86 | |
| 17 | 0602-19-19К | Планка | |
| 18 | 28 0231 | Болт 3М10-6gх25 | |
| 18 | 28 0231-20 | Болт 3M10-6gx25 | |
| 19 | Проволока 1,0-0-С | Проволока 1,0-0-С | |
| 20 | 0602-19-6К | Шестерня | |
| 21 | 0901-96-12-20 | Корпус | |
| 21 | 0901-96-12 | Корпус | |
| 22 | 28 0385 | Болт М12х1,25-6gх80 ГОСТ 7795-70 | |
| 22 | 28 0385-20 | Болт М12х1,25-6х80.109.40Х.029 ГОСТ 7795-70 | |
| 23 | Шайба 12 ОТ | Шайба 12 ОТ | |
| 24 | 28 5555 | Болт | |
| 24 | 28 5555-20 | Болт | |
| 25 | 58 0851 | Кольцо С150 | |
| 26 | 58 0921 | Кольцо С225 | |
| 27 | 255-265-58-2-3 | Кольцо 255-265-58-2-3 | |
| 28 | 012-016-25-2-51-1668 | Кольцо 012-016-25-2-51-1668 | |
| 29 | 37 5516 | Пробка | |
| 29 | 37 5516-20 | Пробка | |
| 30 | 28 0388 | Болт М12-6gх90.58.019 ГОСТ 7795-70 | |
| 30 | 28 0388-20 | Болт М12-6gх90.58.029 ГОСТ 7795-70 | |
| 31 | 1101-96-67 | Фланец | |
| 31 | 1101-96-67-20 | Фланец | |
| 32 | 37 5245 | Пробка | |
| 32 | 37 5245-20 | Пробка | |
| 33 | 039-045-36-2-51-1668 | Кольцо ГОСТ 18829-73/ТУ 38.005.204-84 | |
| 34 | 007-011-25-2-51-1668 | Кольцо ГОСТ 18829-73/ТУ 38.005.204-84 | |
| 35 | 310.3.112.00.06 | Гидромотор 310.3.112.00.06 | |
| 36 | 170-175-36-2-3 | Кольцо 170-175-36-2-3 | |
| 37 | 28 0395-20 | Болт М2-6gх160 ГОСТ 7796-70 | |
| 37 | 28 0395 | Болт M12-6gx160 | |
| 38 | 0901-96-100СП(SP) | Тормоз | |
| 38 | 0901-96-100-20СП(SP) | Тормоз | |
| 39 | 170-180-58-2-51-1668 | Кольцо 170-180-58-2-51-1668 | |
| 40 | 32 0450 | Штифт | |
| 41 | 40 0468-28 | Кольцо | |
| 42 | 079-085-36-2-51-1668 | Кольцо 079-085-36-2-51-1668 | |
| 43 | 0901-96-14 | Вал | |
| 44 | 209 | Подшипник 209 | |
| 45 | 0901-96-104СП(SP) | Шестерня | |
| 46 | 114-120-36-2-51-1668 | Кольцо 114-120-36-2-51-1668 | |
| 47 | 42212 | Муфта | |
| 48 | 0901-96-21 | Вал-шестерня | |
| 49 | 0901-96-105СП(SP) | Шестерня | |
| 50 | 185-190-36-2-3 | Кольцо 185-190-36-2-3 | |
| 51 | 0901-96-7 | Опора | |
| 51 | 0901-96-7-20 | Опора | |
| 52 | 145-155-46-2-5 | Кольцо 145-155-46-2-5 | |
| 53 | 118 | Подшипник 118 | |
| 54 | 0901-96-28 | Кольцо | |
| 55 | ТИБЛ (TIBL) 753513.015 | Пружина 8ТД.28512 | |
| 56 | 28 0545 | Болт 3М16х1,5-6gх45.109.40Х.019 ГОСТ 7796-70 | |
| 56 | 28 0545-20 | Болт 3М16х1,5-6gх45 ГОСТ 7796-70 | |
| 57 | 0901-96-103СП(SP) | Стакан | |
| 58 | 28 0566 | Болт M12x1,5-6gx85 | |
| 58 | 28 0566-20 | Болт M12x1,5-6gx85 | |
| 59 | 1101-96-33-01 | Зажим | |
| 60 | Болт М12-6gx35 | Болт М12-6gx35 | |
| 61 | 0901-96-2 | Реборда | |
| 61 | 0901-96-2-20 | Реборда | |
| 62 | 32130 | Подшипник 32130 | |
| 63 | 0901-96-6 | Торсион | |
| 64 | 0901-96-29 | Втулка | |
| 65 | 0901-96-8 | Муфта | |
| 66 | 58 0609 | Кольцо С60 | |
| 67 | 0901-96-64 | Барабан | |
| 67 | 0901-96-64-20 | Барабан | |
| 68 | 0901-96-66 | Реборда | |
| 68 | 0901-96-66-20 | Реборда | |
| 69 | 40 0468-05 | Кольцо | |
| 70 | 0901-96-106СП(SP) | Редуктор планетарный | |
| 70 | 0901-96-106-20СП(SP) | Редуктор планетарный |
Содержащиеся в справочниках-каталогах запасные части и детали не предлагаются к продаже, а носят исключительно информационный характер