Каталог запасных частей к технике: Промтрактор Т-11.02К. 0901-96-1СП Агрегат тяговый
0901-96-1СП(SP)
1
2
2
3
3
3
3
3
4
4
4
4
4
4
5
5
6
6
6
6
6
7
8
8
9
9
9
10
10
11
11
12
12
13
13
14
14
15
15
15
16
16
16
17
17
17
17
18
18
18
18
19
19
19
20
20
21
21
22
23
23
24
24
25
25
26
26
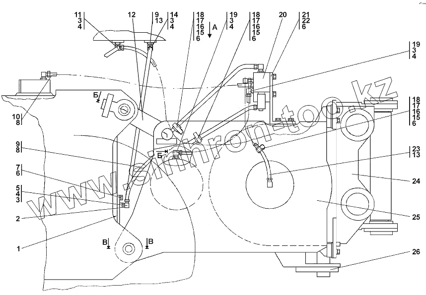
| Позиция на иллюстрации | Заводской номер детали | Название детали | |
|---|---|---|---|
| 0901-96-1СП(SP) | 0901-96-1СП(SP) | Агрегат тяговый | |
| 1 | 45 0271 | Прокладка | |
| 2 | 1101-96-117-01-20СП -20SP | Крышка | |
| 2 | 1101-96-117-01СП(SP) | Крышка | |
| 3 | 018-022-25-2-51-1668 | Кольцо ГОСТ 9833-73/ТУ 38.005.204-84 | |
| 4 | Н.036.23022 | Контргайка | |
| 4 | Н.036.23022-01 | Контргайка | |
| 5 | 2601-26-14СП(SP) | Тройник | |
| 5 | 2601-26-14-20СП(SP) | Тройник | |
| 6 | Шайба 12 ОТ | Шайба 12 ОТ | |
| 7 | Болт М12-6gx30 | Болт М12-6gx30 | |
| 8 | 012-016-25-2-51-1668 | Кольцо 012-016-25-2-51-1668 | |
| 9 | 404-26-213-03СП(SP) | Рукав | |
| 9 | 404-26-213-03-20СП -20SP | Рукав | |
| 10 | 404-26-213-15СП(SP) | Рукав | |
| 10 | 404-26-213-15-20СП -20SP | Рукав | |
| 11 | 311102-26-515СП(SP) | Тройник | |
| 11 | 311102-26-515-20СП -20SP | Тройник | |
| 12 | 0901-96-43 | Серьга | |
| 12 | 0901-96-43-20 | Серьга | |
| 13 | 008-010-14-2-51-1668 | Кольцо 008-010-14-2-51-1668 | |
| 14 | 5001-26-77-20 | Угольник ввертной | |
| 14 | 5001-26-77 | Угольник ввертной | |
| 15 | Болт М12x1,25-6gx25 | Болт М12x1,25-6gx25 | |
| 16 | 40 0354-05 | Втулка | |
| 17 | 2501-26-217 | Планка | |
| 17 | 2501-26-217-20 | Планка | |
| 18 | 2501-26-216 | Скоба | |
| 18 | 2501-26-216-20 | Скоба | |
| 19 | 311102-26-513СП(SP) | Угольник | |
| 19 | 31 1102-26-513-20СП -20SP | Угольник | |
| 20 | 311102-26-39СП(SP) | Клапан | |
| 20 | 311102-26-39-20СП -20SP | Клапан | |
| 21 | 0901-96-60 | Опора | |
| 21 | 0901-96-60-20 | Опора | |
| 22 | Болт М12-6gx35 | Болт М12-6gx35 | |
| 23 | 311102-26-517-27СП(SP) | Рукав диам. 8 | |
| 23 | 311102-26-517-27-20СП(SP) | Рукав диам. 8 | |
| 24 | 0901-96-11СП(SP) | Установка роликов | |
| 24 | 0901-96-11-20СП(SP) | Установка роликов | |
| 25 | 0901-96-10СП(SP) | Лебедка | |
| 25 | 0901-96-10-20СП(SP) | Лебедка | |
| 26 | 312001-51-14СП(SP) | Палец | |
| 26 | 312001-51-14-20СП -20SP | Палец |
Содержащиеся в справочниках-каталогах запасные части и детали не предлагаются к продаже, а носят исключительно информационный характер