Каталог запасных частей к технике: Промтрактор Т-11.01Я. Установка двигателя ЯМЗ-236ДК-7
1
1
1
2
3
3
4
4
5
6
6
7
8
8
9
9
10
10
11
12
12
13
13
14
15
15
16
17
18
18
19
19
20
20
21
21
21
22
22
23
24
24
25
25
26
26
27
27
27
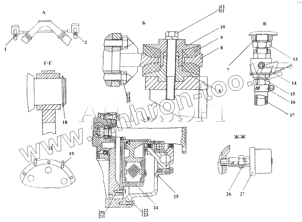
| Позиция на иллюстрации | Заводской номер детали | Название детали | |
|---|---|---|---|
| 1102-01-1-10СП | 1102-01-1-10СП | Установка двигателя ЯМЗ-236ДК-7 | |
| 1102-01-1СП | 1102-01-1СП | Установка двигателя ЯМЗ-236ДК-7 | |
| 1102-01-1-20СП | 1102-01-1-20СП | Установка двигателя ЯМЗ-236ДК-7 | |
| 1 | ТМ100-В | Датчик указателя температуры | |
| 1 | ТМ100-В-Т | Датчик указателя температуры | |
| 1 | ТМ100-В-Э | Датчик указателя температуры | |
| 2 | ТМ111-01 | Датчик сигнализатора температуры | |
| 3 | 280516 | Болт 3М14-6gх40 ГОСТ 7796-70 | |
| 3 | 280516-20 | Болт 3М14-6gх40 ГОСТ 7796-70 | |
| 4 | 315220 | Шайба | |
| 4 | 315220-20 | Шайба | |
| 5 | Проволока 1,6-0-С ГОСТ 3282-74 | Проволока 1,6-0-С ГОСТ 3282-74 | |
| 6 | 312001-01-12 | Упор | |
| 6 | 312001-01-12-20 | Упор | |
| 7 | Кольцо 24х30 МН 4152-62 | Кольцо 24х30 МН 4152-62 | |
| 8 | 2002-01-102СП | Опора задняя | |
| 8 | 2002-01-102-20СП | Опора задняя | |
| 9 | 400449 | Амортизатор | |
| 9 | ММ111В-Т | Датчик аварийного давления масла | |
| 10 | 312001-01-14 | Прижим | |
| 10 | 312001-01-14-20 | Прижим | |
| 11 | Шайба 16 ОТ | Шайба 16 ОТ | |
| 12 | 280577 | Болт М16-1,5-6gх120 ГОСТ 7796-70 | |
| 12 | 280577-20 | Болт М16-1,5-6gх120 ГОСТ 7796-70 | |
| 13 | 2002-01-13 | Переходник | |
| 13 | 2002-01-13-20 | Переходник | |
| 14 | ЦИУР494.647.001 | Кран шаровой Ду15 ТУ3742-997-2433-7661-93 | |
| 15 | 2002-01-14-20 | Переходник | |
| 15 | 2002-01-14 | Переходник | |
| 16 | Хомут стяжной червячный 1028-У-02 ПО4.435.002ТУ | Хомут стяжной червячный 1028-У-02 ПО4.435.002ТУ | |
| 17 | 460601-07 | Рукав | |
| 18 | 580510-20 | Кольцо С50 Кд9хр ГОСТ 13940-86 | |
| 18 | 580510 | Кольцо С50 Ц9хр ГОСТ 13940-86 | |
| 19 | 2501-10-10 | Планка | |
| 19 | 2501-10-10-20 | Планка | |
| 20 | 280240 | Болт 3М10-6gх30 ГОСТ 7796-70 | |
| 20 | 280240-20 | Болт 3М10-6gх30 ГОСТ 7796-70 | |
| 21 | 1102-01-4 | Пластина стопорная | |
| 21 | ММ111В-Э | Датчик аварийного давления масла | |
| 21 | ММ111В | Датчик аварийного давления масла ТУ 37.003.138-76 | |
| 22 | 280350 | Болт М12х1,25-6gх40 ГОСТ 7798-70 | |
| 22 | 280350-20 | Болт М12х40 ГОСТ 7798-70 | |
| 23 | Шайба 12 ОТ | Шайба 12 ОТ | |
| 24 | 1102-20-101СП | Муфта упругая | |
| 24 | 1102-20-101-20СП | Муфта упругая | |
| 25 | 1102-20-10СП | Корпус муфты | |
| 25 | 1102-20-10-20СП | Корпус муфты | |
| 26 | 2002-01-7 | Переходник | |
| 26 | 2002-01-7-20 | Переходник | |
| 27 | ММ355 | Датчик указателя давления масла | |
| 27 | ММ355-Т | Датчик указателя давления масла ТУ 37.003.387-78 | |
| 27 | ММ355-Э | Датчик указателя давления масла |
Содержащиеся в справочниках-каталогах запасные части и детали не предлагаются к продаже, а носят исключительно информационный характер