Каталог запасных частей к технике: Промтрактор Т-11.01Я. Привод управления
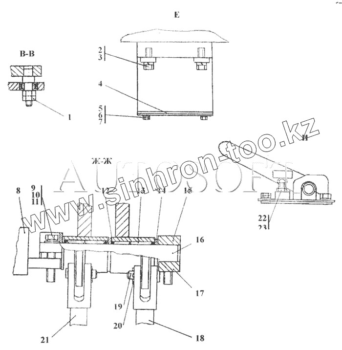
1
2
3
4
4
5
6
7
7
8
8
9
10
11
11
12
13
14
14
15
15
16
17
17
18
18
19
19
20
21
21
22
22
23
23
| Позиция на иллюстрации | Заводской номер детали | Название детали | |
|---|---|---|---|
| 1101-13-50-02-20СП | 1101-13-50-02-20СП | Привод управления | |
| 1 | Гайка М6 | Гайка М6 | |
| 2 | Болт М10-6gх30 | Болт М10-6gх30 | |
| 3 | Шайба 10 ОТ | Шайба 10 ОТ | |
| 4 | 3501-13-223СП | Крышка | |
| 4 | 3501-13-223-20СП | Крышка | |
| 5 | Болт М6-6gх16 | Болт М6-6gх16 | |
| 6 | Шайба 6 Т | Шайба 6 Т | |
| 7 | 310110 | Шайба 6.01.08кп.019 ГОСТ 11371-78 | |
| 7 | 310110-20 | Шайба 6.01.08кп.0221 ГОСТ 11371-78 | |
| 8 | 3501-13-143СП | Блок управления | |
| 8 | 3501-13-143-20СП | Блок управления | |
| 9 | Болт М8-6gх40 | Болт М8-6gх40 | |
| 10 | Шайба 8 Т | Шайба 8 Т | |
| 11 | 310150 | Шайба 8.01.08кп.019 ГОСТ 11371-78 | |
| 11 | 310150-20 | Шайба 8.01.08кп.0221 ГОСТ 11371-78 | |
| 12 | 500093 | Кольцо СП 26,5-19-3,5 ТУ17 РСФСР35-7755-84 | |
| 13 | Подшипник 942/20 | Подшипник 942/20 | |
| 14 | 310330 | Шайба 20.01.08кп.019 ГОСТ 10450-78 | |
| 14 | 310330-20 | Шайба 20.01.08кп.0221 ГОСТ 10450-78 | |
| 15 | 404-13-226 | Зажим | |
| 15 | 404-13-226-20 | Зажим | |
| 16 | 3501-13-122 | Ось | |
| 17 | 3501-13-127 | Планка | |
| 17 | 3501-13-127-20 | Планка | |
| 18 | 3501-13-130СП | Тяга | |
| 18 | 3501-13-130-20СП | Тяга | |
| 19 | 404-13-269 | Ось | |
| 19 | 404-13-269-20 | Ось | |
| 20 | Шплинт 3,2х14 | Шплинт 3,2х14 | |
| 21 | 3501-13-128СП | Тяга | |
| 21 | 3501-13-128-20СП | Тяга | |
| 22 | 2501-13-196 | Упор | |
| 22 | 2501-13-196-20 | Упор | |
| 23 | 300220 | Гайка М12х1,25-6Н.04.019 ГОСТ 15522-70 | |
| 23 | 300220-20 | Гайка М12х1,25-6Н.04.029 ГОСТ 15522-70 |
Содержащиеся в справочниках-каталогах запасные части и детали не предлагаются к продаже, а носят исключительно информационный характер