Каталог запасных частей к технике: Промтрактор Т-11.01Я. Передача бортовая
1
1
1
2
2
2
2
3
4
5
6
7
8
9
9
9
9
10
10
10
10
11
12
13
14
15
16
17
18
19
20
21
22
22
23
24
24
25
26
27
28
29
30
30
31
31
32
33
33
34
34
35
36
37
38
38
39
39
40
40
41
42
43
43
44
45
46
46
47
48
49
50
51
52
53
54
55
55
56
57
58
59
59
59
60
60
61
62
63
64
65
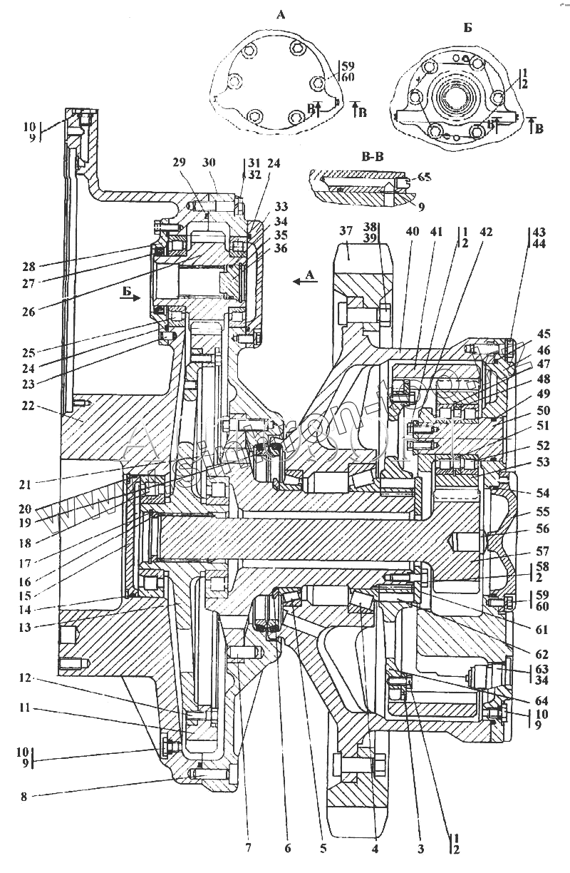
| Позиция на иллюстрации | Заводской номер детали | Название детали | |
|---|---|---|---|
| 1101-19-11СП | 1101-19-11СП | Передача бортовая | |
| 1101-19-11-20СП | 1101-19-11-20СП | Передача бортовая | |
| 1 | 280231 | Болт 3М10х25 | |
| 2 | Проволока 1,6-0-С | Проволока 1,6-0-С | |
| 3 | 1101-19-24 | Планка | |
| 4 | Подшипник 2007128 | Подшипник 2007128 | |
| 5 | Подшипник 2007928 | Подшипник 2007928 | |
| 6 | 1101-19-22 | Кольцо упорное | |
| 7 | 320450 | Штифт | |
| 8 | 320350 | Штифт | |
| 9 | Кольцо 012-016-25-2-51-1668 | Кольцо 012-016-25-2-51-1668 | |
| 10 | 375516-20 | Пробка | |
| 10 | 375516 | Пробка | |
| 11 | 1101-19-7 | Шестерня | |
| 12 | 280345 | Болт М12х1,25-6gх35 | |
| 13 | 1101-19-8 | Ступица | |
| 14 | Кольцо 165-170-36-2-3 | Кольцо 165-170-36-2-3 | |
| 15 | 1101-19-27 | Крышка | |
| 16 | 1101-19-17 | Кольцо упорное | |
| 17 | 581671 | Кольцо С72 | |
| 18 | Подшипник 42219 | Подшипник 42219 | |
| 19 | 46-19-278 | Кольцо | |
| 20 | 700-58-2064 | Кольцо С170 ГОСТ 13941-86 | |
| 21 | 400207 | Кольцо | |
| 22 | 1101-19-37 | Корпус | |
| 22 | 1101-19-37-20 | Корпус | |
| 23 | 325383 | Штифт | |
| 24 | Кольцо 135-140-36-2-3 | Кольцо 135-140-36-2-3 | |
| 25 | Подшипник 42215КМ | Подшипник 42215КМ | |
| 26 | 1101-19-6 | Шестерня | |
| 27 | Манжета 1,2-75х100-3 | Манжета 1,2-75х100-3 | |
| 28 | 1101-19-25 | Крышка | |
| 29 | 400468-28 | Кольцо | |
| 30 | 1101-19-101СП | Корпус | |
| 30 | 1101-19-101-20СП | Корпус | |
| 31 | 280376-01 | Болт М12-6gх60 | |
| 31 | 280376-01-20 | Болт М12-6gх60 | |
| 32 | Шайба 12 ОТ | Шайба 12 ОТ | |
| 33 | 1101-19-26-20 | Крышка | |
| 33 | 1101-19-26 | Крышка | |
| 34 | Кольцо 045-050-30-2-51-1668 | Кольцо 045-050-30-2-51-1668 | |
| 35 | 580515 | Кольцо С52 ГОСТ 13943-86 | |
| 36 | 1101-19-38 | Крышка | |
| 37 | 1101-19-14 | Сектор зубчатый | |
| 38 | 1101-19-30 | Болт специальный | |
| 38 | 1101-19-30-20 | Болт специальный | |
| 39 | 300310 | Гайка М20х1,5-6Н.12.40Х.019 ГОСТ 5915-70 | |
| 39 | 300310-20 | Гайка М20х1,5-6Н.12.40Х.029 ГОСТ 5915-70 | |
| 40 | 1101-19-4 | Ступица | |
| 40 | 1101-19-4-20 | Ступица | |
| 41 | 1101-19-11 | Шестерня | |
| 42 | 1101-19-19 | Шайба упорная | |
| 43 | 280501 | Болт М14-6gх50 | |
| 43 | 280501-20 | Болт М14-6gх50 | |
| 44 | Шайба 14 ОТ | Шайба 14 ОТ | |
| 45 | 400468-14 | Кольцо | |
| 46 | 1101-19-5 | Водило | |
| 46 | 1101-19-5-20 | Водило | |
| 47 | 580765 | Кольцо С100 | |
| 48 | 1101-19-20 | Втулка | |
| 49 | Кольцо 050-060-58-2-51-1668 | Кольцо 050-060-58-2-51-1668 | |
| 50 | 1101-19-13 | Ось специальная | |
| 51 | 1101-19-18 | Втулка | |
| 52 | Подшипник 42309 | Подшипник 42309 | |
| 53 | 1101-19-10 | Сателлит | |
| 54 | Кольцо 145-150-36-2-3 | Кольцо 145-150-36-2-3 | |
| 55 | 1101-19-15 | Крышка | |
| 55 | 1101-19-15-20 | Крышка | |
| 56 | 2501-19-28 | Пята | |
| 57 | 1101-19-9 | Шестерня | |
| 58 | 280351 | Болт 3М12-6gх40 | |
| 59 | 280230 | Болт М10-6gх25 | |
| 59 | 280230-20 | Болт М10-6gх25 | |
| 60 | Шайба 10 ОТ | Шайба 10 ОТ | |
| 61 | 1101-19-23 | Шайба упорная | |
| 62 | 1101-19-21 | Палец | |
| 63 | 2501-19-113СП | Пробка магнитная | |
| 64 | 1101-19-12 | Муфта | |
| 65 | 370150-08 | Пробка 4-КГ1/8"45.089 ТУ 23.1.506-91 |
Содержащиеся в справочниках-каталогах запасные части и детали не предлагаются к продаже, а носят исключительно информационный характер